ELDOM INVEST RH+RH01W Electric Wall-Mounted Convector Heater with Electronic Control Instruction Manual
WARNINGS!
Before installation and operation with the appliance, read carefully the present manual!
When using the convector heater, there is a risk of burning in contact with the appliance front when it is running or has been soon disconnected, so do not touch it in such cases!
This symbol indicates that it is prohibited to cover to appliance.
It is absolutely prohibited to place any objects on or under the heater!
In order to avoid overheating do not cover the convector heater!

When the power cord is damaged it must be changed by the producer, his service representative or a person with similar qualification in order to avoid any danger.
Any activities within the heater internal parts such as maintenance and repair with change of spare parts must be completed only by qualified specialists!
This appliance may be used by children of age over eight years old and persons with reduced physical, sensory or mental capabilities, or lack of experience and knowledge, where they are under supervision or instructed about the safe use of the appliance and understand the dangers. Children must not be allowed to play with the unit! User cleaning and maintenance shall not be completed by children except when under supervision by an adult.
ATTENTION! Children of age under 3 (say: three) years must not approach the appliance if not under constant supervision!
ATTENTION! Children of age between 3 (say: three) and 8 (say: eight) years must be allowed only to switch on and off the appliance under condition that it is located or installed within expected position for normal operation and children are either under constant supervision or instructed how to use safely the appliance and understand related dangers. It should not be allowed to children of age between 3 (say: three) and 8 (say: eight) years to plug-in the appliance, to manipulate its settings an clean it, or to perform any user related maintenance operations.
ATTENTION! Some parts of this convector heater may heat strongly and cause burns. It is compulsory to pay special attention if there are children or vulnerable people around.
ATTENTION! The appliance should NOT be positioned in the immediate vicinity of mains sockets Fig. 6.
ENVIRONMENTAL PROTECTION
This appliance is marked according the REGULATION concerning waste electric and electronic equipment.
The symbol
on the product, or on the accompanying documents indicates that this appliance may not be treated as household waste. Instead it should be handed over to the applicable collection point for the recycling of electrical and electronic equipment.
Disposal must be carried out in accordance with local environmental regulations for waste disposal. For more detailed information about treatment, recovery and recycling of this product, please contact your local city office, your household waste disposal service or the shop where you purchased the product.
Regulation (EU) 2015/1188, Annex II, point 3, a).
| Model identifier: | RH10N | RH15N | RH20N | RH25N | RH30N | RH10NW | RH15NW | RH20NW | RH25NW | RH30NW | ||||||||||||
| Item | Symbol | Unit | Value | |||||||||||||||||||
| Heat output | ||||||||||||||||||||||
| Nominal heat output | Pnom | kW | 1,0 | 1,5 | 2,0 | 2,5 | 3,0 | 1,0 | 1,5 | 2,0 | 2,5 | 3,0 | ||||||||||
| Minimum heat output (indicative) | Pmin | kW | 0 | 0 | 0 | 0 | 0 | 0 | 0 | 0 | 0 | 0 | ||||||||||
| Maximum continuous heat output | Pmax,c | kW | 1,0 | 1,5 | 2,0 | 2,5 | 3,0 | 1,0 | 1,5 | 2,0 | 2,5 | 3,0 | ||||||||||
| Auxiliary electricity consumption | ||||||||||||||||||||||
| At nominal heat output | elmax | kW | 0 | 0 | 0 | 0 | 0 | 0 | 0 | 0 | 0 | 0 | ||||||||||
| At minimum heat output | elmin | kW | 0 | 0 | 0 | 0 | 0 | 0 | 0 | 0 | 0 | 0 | ||||||||||
| In standby mode | elSB | kW | 0,001 | 0,001 | 0,001 | 0,001 | 0,001 | 0,001 | 0,001 | 0,001 | 0,001 | 0,001 | ||||||||||
| Type of heat input, for electric storage local space heaters only | ||||||||||||||||||||||
| manual heat charge control, with integrated thermostat | [yes/no] | no | no | no | no | no | no | no | no | no | no | |||||||||||
| manual heat charge control with room and/or outdoor temperature feedback | [yes/no] | no | no | no | no | no | no | no | no | no | no | |||||||||||
| electronic heat charge control with room and/or outdoor temperature feedback | [yes/no] | no | no | no | no | no | no | no | no | no | no | |||||||||||
| fan assisted heat output | [yes/no] | no | no | no | no | no | no | no | no | no | no | |||||||||||
| Type of heat output/room temperature control | ||||||||||||||||||||||
| single stage heat output and no room temperature control | [yes/no] | no | no | no | no | no | no | no | no | no | no | |||||||||||
| Two or more manual stages, no room temperature control | [yes/no] | no | no | no | no | no | no | no | no | no | no | |||||||||||
| with mechanic thermostat room temperature control | [yes/no] | no | no | no | no | no | no | no | no | no | no | |||||||||||
| with electronic room temperature control | [yes/no] | no | no | no | no | no | no | no | no | no | no | |||||||||||
| electronic room temperature control plus day timer | [yes/no] | no | no | no | no | no | no | no | no | no | no | |||||||||||
| electronic room temperature control plus week timer | [yes/no] | yes | yes | yes | yes | yes | yes | yes | yes | yes | yes | |||||||||||
| Other control options | ||||||||||||||||||||||
| room temperature control, with presence detection | [yes/no] | no | no | no | no | no | no | no | no | no | no | |||||||||||
| room temperature control, with open window detection | [yes/no] | yes | yes | yes | yes | yes | yes | yes | yes | yes | yes | |||||||||||
| with distance control option | [yes/no] | no | no | no | no | no | yes | yes | yes | yes | yes | |||||||||||
| with adaptive start control | [yes/no] | no | no | no | no | no | no | no | no | no | no | |||||||||||
| with working time limitation | [yes/no] | yes | yes | yes | yes | yes | yes | yes | yes | yes | yes | |||||||||||
| with black bulb sensor | [yes/no] | no | no | no | no | no | no | no | no | no | no | |||||||||||
| Contact details | ELDOMINVEST Ltd, Varna, Bulgaria www.eldominvest.com | |||||||||||||||||||||
| Model identifier: RH01WxxY-W | xxY | |||||||||||||||||||||
| 05E | 10E | 15E | 20E | 25E | 30E | 05W | 10W | 15W | 20W | 25W | 30W | |||||||||||
| Item | Symbol | Unit | Value | |||||||||||||||||||
| Heat output | ||||||||||||||||||||||
| Nominal heat output | Pnom | kW | 0,5 | 1,0 | 1,5 | 2,0 | 2,5 | 3,0 | 0,5 | 1,0 | 1,5 | 2,0 | 2,5 | 3,0 | ||||||||
| Minimum heat output (indicative) | Pmin | kW | 0 | 0 | 0 | 0 | 0 | 0 | 0 | 0 | 0 | 0 | 0 | 0 | ||||||||
| Maximum continuous heat output | Pmax,c | kW | 0,5 | 1,0 | 1,5 | 2,0 | 2,5 | 3,0 | 0,5 | 1,0 | 1,5 | 2,0 | 2,5 | 3,0 | ||||||||
| Auxiliary electricity consumption | ||||||||||||||||||||||
| At nominal heat output | elmax | kW | 0 | 0 | 0 | 0 | 0 | 0 | 0 | 0 | 0 | 0 | 0 | 0 | ||||||||
| At minimum heat output | elmin | kW | 0 | 0 | 0 | 0 | 0 | 0 | 0 | 0 | 0 | 0 | 0 | 0 | ||||||||
| In standby mode | elSB | kW | 0,001 | 0,001 | 0,001 | 0,001 | 0,001 | 0,001 | 0,001 | 0,001 | 0,001 | 0,001 | 0,001 | 0,001 | ||||||||
| Type of heat input, for electric storage local space heaters only | ||||||||||||||||||||||
| manual heat charge control, with integrated thermostat | [yes/no] | no | no | no | no | no | no | no | no | no | no | no | no | |||||||||
| manual heat charge control with room and/or outdoor temperature feedback | [yes/no] | no | no | no | no | no | no | no | no | no | no | no | no | |||||||||
| electronic heat charge control with room and/or outdoor temperature feedback | [yes/no] | no | no | no | no | no | no | no | no | no | no | no | no | |||||||||
| fan assisted heat output | [yes/no] | no | no | no | no | no | no | no | no | no | no | no | no | |||||||||
| Type of heat output/room temperature control | ||||||||||||||||||||||
| single stage heat output and no room temperature control | [yes/no] | no | no | no | no | no | no | no | no | no | no | no | no | |||||||||
| Two or more manual stages, no room temperature control | [yes/no] | no | no | no | no | no | no | no | no | no | no | no | no | |||||||||
| with mechanic thermostat room temperature control | [yes/no] | no | no | no | no | no | no | no | no | no | no | no | no | |||||||||
| with electronic room temperature control | [yes/no] | no | no | no | no | no | no | no | no | no | no | no | no | |||||||||
| electronic room temperature control plus day timer | [yes/no] | no | no | no | no | no | no | no | no | no | no | no | no | |||||||||
| electronic room temperature control plus week timer | [yes/no] | yes | yes | yes | yes | yes | yes | yes | yes | yes | yes | yes | yes | |||||||||
| Other control options | ||||||||||||||||||||||
| room temperature control, with presence detection | [yes/no] | no | no | no | no | no | no | no | no | no | no | no | no | |||||||||
| room temperature control, with open window detection | [yes/no] | yes | yes | yes | yes | yes | yes | yes | yes | yes | yes | yes | yes | |||||||||
| with distance control option | [yes/no] | no | no | no | no | no | no | yes | yes | yes | yes | yes | yes | |||||||||
| with adaptive start control | [yes/no] | no | no | no | no | no | no | no | no | no | no | no | no | |||||||||
| with working time limitation | [yes/no] | yes | yes | yes | yes | yes | yes | yes | yes | yes | yes | yes | yes | |||||||||
| with black bulb sensor | [yes/no] | no | no | no | no | no | no | no | no | no | no | no | no | |||||||||
| Contact details | ELDOMINVEST Ltd, Varna, Bulgaria www.eldominvest.com | |||||||||||||||||||||
TECHNICAL DESCRIPTION
The electric wall-mounted convector heater is a household appliance intended to heat air in living rooms and maintain a specified temperature.
| Model | RH01W05X-W | RH10N(W) / RH01W10X-W | RH15N(W) / RH01W15X-W | RH20N(W) / RH01W20X-W | RH25N(W) / RH01W25X-W | RH25N(W) / RH01W25X-W |
| Power / Voltage | 500 W / 230 V~ | 1000 W / 230 V~ | 1500 W / 230 V~ | 2000 W / 230 V~ | 2500 W / 230 V~ | 3000 W / 230 V~ |
| Length W [mm] | 400 | 716 / 592 | 916 / 688 | 1116 / 880 | 1366 / 1072 | 1566 / 1216 |
| L [mm] | 200±2 | 480 / 200±2 | 480 / 200±2 | 890 / 480±2 | 890 / 480±2 | 890 / 480±2 |
All data and dimensions provided are approximate.
ATTENTION!
It is recommended to keep the distance of 150 mm between the convector and the floor of the room. The minimum allowable floor distance to the lower end of the convector is 60 mm. Failure to comply shall reduce the appliance safety
APPLIANCE INSTALLATION
The heater installation must strictly comply with standards and rules in force in the country.
The convector heater has a degree of protection against Class II electrical current and is splash-proof (IP24). It can be installed in living rooms, including in Zone 2 of bathing rooms, but so that controls must not be accessible to persons taking a shower or bath – please refer to Fig. 1.
When installing the appliance it is necessary to comply with the minimum prescribed distances from various obstacles and surrounding objects as shown in Fig. 2.
Do not install the appliance:
- In places with compulsory draft, which can disrupt the control settings (under natural or forced ventilation apertures, fans, etc.).
- Under, over and in front of sockets (rosettes), please refer to Fig. 6

When installing the heater on locations of high altitudes take into account that it may impact the temperature of the outlet air (by increasing it with about 10 C when the altitude changes with 1000 m)
Take carefully the heater out of its packaging and keep it at a conventional place for any future needs.
Place the appliance with the front side to the ground without still removing the protective styrofoam side panels (Fig. 3). Please refer to the figures on the second page of this booklet.
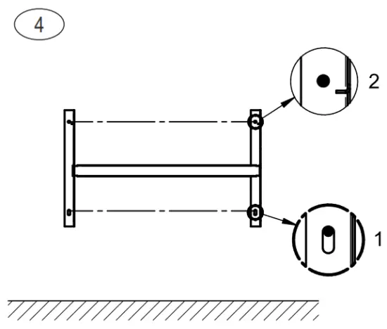
Unfasten the suspension stand according to the diagram shown in Fig. 3.
The installation of the convector heater on a reinforced concrete or solid brick wall can be carried out after the stand is secured to the wall according to Fig. 4, using the screws and dowels available in the package.
Place the appliance on the stand as shown in Fig. 5.
The convector power cord plug can be connected to a protected single phase power outlet with voltage 230 V~. The socket must be located so that it is easily accessible after fitting the device into its working position.
It is forbidden to ground the appliance!
It is forbidden to increase the distance from the wall to the convector heater, which is secured by the suspension stand provided by the manufacturer!
HOW TO USE THE APPLIANCE
- Switching the convector heater On / Off; „Settings“ menu – after pressing for 2 sec. „Exit“ from „Settings“ menu „
- -“ or Down; „Sleep mode“ – after pressing for 2 sec. „+“
- or Up; Delayed start – after pressing for 2 sec. while in Standby mode о Extra heating – after pressing for 2 sec. while in Heating mode. The appliance operates at a temperature increased by 2.5 С above the set temperature for one hour. Then the temperature is restored to the set temperature before the mode is enabled. This mode is also disabled by pressing button 1.
- „Information“ „Clear timers“ – after pressing for 2 sec. „Confirmation“ (ОК) in „Settings“ menu.

Convector control board
Appliance switching on and off
Switching the convector On is carried out by switching the key located on the right side panel (pressing the end of the key marked “I”) and then pressing the button 1 on the electronic control panel. Switching the appliance Off is carried out in the same way as using button 1 of the electronic control board and then pressing the key marked “0”.
ATTENTION! The side panel switch and button 1 of the electronic control board are function keys. Complete turning off of the appliance is carried out ONLY by taking the power supply cord out of the power supply socket.
Each time the appliance is switched on, on the graphic display for 2 seconds are shown the hardware and software versions. Then is displayed the main screen with temperature, date, time, and additional information depending on the current operating mode. The controller stores the last active operating mode for an unlimited period of time before shutting down the device and always starts with the same when switched on again. The controller also has the ability to save information about system time, date, sleep mode, and delayed start mode in cases of short-time power failures. Period of such data saving – up to 24 hours. (if the convector heater has been turned on for at least 4 minutes) or up to 40 seconds (if it was switched on for a shorter time).
The device is preconfigured so that it enters in Heating mode when it is switched on for the first time.
LANGUAGE! The information can be displayed in different languages. Selecting a language is carried out from the sub-menu Language » 2sec. ![]()
ATTENTION! It is imperative to set the time, date and the language initially!
By holding the button 1 for 2 seconds is displayed the main menu which means entering the Settings mode. Navigate in the menu with the “▲” and “▼” buttons.
To enter the current settings, press the OK button. Once the screen with the relevant settings is displayed, the individual parameters in it are corrected as follows:
The current parameter is displayed enclosed in a rectangle. With the “▲” and “▼” buttons, the parameters set are crawled. Pressing the OK key enters the correction mode of the current parameter as its value is displayed with a negative color in a filled rectangle.
Now with the “▲” and “▼” buttons you can change the value of the parameter. Once the required value is selected, press the OK button to confirm the change and exit the parameter adjustment mode. An exception to this rule are parameters as bookmarks (enabled / disabled). Instead, pressing the OK button changes the status of the bookmark directly. Once all parameters have been set, the changes made are confirmed by pressing button 1, and the controller returns to the main menu. For additional settings in the main menu, see the “Controller Features” section.
Controller main operating modes
Heating mode
To start the appliance in this mode, use button 1.
In this mode, the convector heater shall maintain the temperature set. Message in field Operating mode – no message. The display shows the current measured and set temperatures, the power indicator scale, the time, and date.
Standby mode
To start the appliance in this mode, use button 1.
In this mode, when the measured temperature falls below the temperature set, the heater shall not switch on. However, when the temperature drops below 7° C, the mode is activated. Antifrost mode Message in field Operating mode – Standby .
The current measured temperature, time, and date are shown on the display
Delayed Start mode
Message in field Operating mode – Standby
When the convector heater is in OFF mode, pressing and holding for 2 seconds on the ▲ button allows you to enter time when the appliance shall switch on automatically. The time is set in 10 minutes steps. The delayed start can be programmed up to 24 hours. At entry in Delayed Start mode setting, the default time is the current
time, rounded up to 10 minutes, and then pressing the ▲ or ▼ buttons you may increase or decrease the time by steps of 10 minutes. If any of the ▲ or ▼ buttons is held for more than 0.7 seconds, the value automatically starts to increase or decrease at 4 units per second. When the Delayed Start mode is activated, in the middle of the display is shown the turn-on time. If you want to adjust the preset time, hold down the ▲ button again. The Delay Start mode is canceled by pressing the On / Off button. The convector heater shall then switch to Heat mode. When the power is turned off while the Delay Start mode is on, the controller shall store the delay time. If the set time shall occur before the power is restored, then the controller shall remain in OFF state when the power is restored.
Antifrost mode
This function shall switch on the convector heater automatically and independently of the selected mode when the room temperature drops below 7°C. For this purpose, the convector heater must be plugged into the mains and the must convector heater on / off switch be in the “I” position. When activating this mode, a minimum room temperature of 7°C shall be maintained. Message in field Operating mode – Antifrost When the room temperature raises above 7°C, the Anti-freeze safety mode switches off.
Sleep mode
In this mode the convector heater shall, within 2 hours, automatically and gradually decrease with 3 degrees the temperature set. This mode activates by pressing and holding button 2 for more than 2 seconds when the convector is in Heat mode. When this mode is activated for five seconds in the display middle field is shown Sleep Mode On, then the display takes the appearance of Heat mode. Message in field Operating mode – Sleep.
The sleep mode is interrupted by pressing button 1 when the convector heater is switched off. The Sleep mode will turn itself off after 6 hours!
Timers mode / Program mode
The controller has a built-in weekly programmer that allows you to create seven independently set operating time intervals, and each interval can be repeated over the days of the week. The weekly programmer can operate in two modes – Timer and Program. Switching from one mode to the other is possible by changing the Timers setting in the sub-menu System When the setting is On/Off, the controller is in the Timers mode, with only start and end of the time intervals and the days of the week for which it is valid. Message in field Operating mode – Timers.
When the setting of Timers in System is Change t, the controller is in the Program mode, where, in addition to the start and end of the time intervals and days of the week for which the program applies, a temperature may be entered. Message in field Operating mode – Program
Each program or timer set can be activated / deactivated. When introducing a start and an end it must be borne in mind that the controller does not allow the end time to be before the start one. With a weekly programmer set, hold the OK button for more than 2 seconds and all timers set shall be deactivated by displaying the Timer Stop message for 5 seconds, then the convector shall switch to Heat mode without a weekly programmer.

Controllers features and settings
Setting specific temperature
Use buttons 2 and 3 to change the temperature. The maximum temperature that can be set is 28 °C and the minimum is 7 °C. Pressing any of these two buttons shall display the current temperature set. With the following keystrokes you may change the assignment in the desired direction. If no new button is pressed within 5 seconds, the new task shall be memorized and automatically the unit shall switch to the main screen. If any of the buttons 2 or 3 shall be held for more than 0.7 s, the temperature set point value automatically starts to increase or decrease with the speed of 4 units per second.
Adjusting the power of the appliance
When the measured temperature is lower than the set one, the convector heater switches on – its power indicator scale fills in. The more the temperature is approaching the set one, the less is the filling of the scale. When the set temperature is reached, the indicator goes out. The power control function can be switched off by the sub-menu Settings by deactivating the check-mark Reg. power. In this case, under all operating modes, the convector heater shall run at full power during heating or shall be completely switched off when the temperature set is reached.
Child lock
This feature locks all control panel buttons, limiting the possibility of unauthorized access to the controller settings. The feature is turned on by the child protection sub-menu, followed by the instruction on the display – Press OK to lock the buttons. The following message is displayed – Buttons are locked!. It is suitable to press the button 1 to exit the settings menu, displaying a symbol illustrating child protection
. To turn off child protection, you must hold the OK button for a time longer than 7 seconds.
Protection against convector heater falling
If the convector heater is knocked down while switched on, the controller switches off the heater, the unit displays a message Convector fell, and activates an audible alarm. The alarm will be deactivated automatically after restoring the appliance normal position or by pressing button 1 to switch off the convector heater. It may be a malfunction if the convector heater was stored in a cold place for a long time and then placed in a significantly warmer place.
Open window feature
The controller has a built-in feature for recognizing an open window that automatically stops heating. An open window icon appears on the display. This feature operates in two modes – Smart and On. Switching from one mode to the other is done by changing the setup Open window in sub-menu System Settings. When the setting is Smart, the convector heater shall continue heating as soon as it detects that the window is closed or after 15 minutes have elapsed since the protection mode is activated, while the heating mode ON shall continue for 60 minutes once the mode is activated. The Open window feature is disabled when you press button 1, which switches the convector heater to Standby mode, or from the sub-menu System set Open Win to Off.
Keeping the system date and time
The controller unit keeps the system date and time
For all Timer / Program, Delayed Start, and Power Meters to work correctly, the date and time must be verified. Verification is set from the main menu, sub-menu Time and Date. The auto-enable option check box works only on models with WiFi control.
Remote control over the Internet
This feature requires an additional WiFi module installed in the configuration of the following convector heater models: RH10NW, RH15NW, RH20NW, RH25NW, RH30NW, RH01WxxW-x. If the appliance you bought has a model number corresponding to one of the listed above – please read the supplement to this Instruction manual.
Two stage overheat protection
Apart from the electro-mechanical thermal protection, the convector heaters also rely on the electronic protection built into the controller. This protection prevents accidental overheating of the appliance inside. The feature temporarily interrupts the heating until the temperature drops below the allowed maximum. A symbol is displayed. ![]()
Color graphic display
The electronics have a high-resolution color display. The Display sub-menu sets Brightness settings (from 1 to 10) and Dimming activation check-box. Dimming automatically reduces the brightness of the display 30 seconds after the last press of a button (the feature does not work at set brightness -1).
Reporting consumed electricity
The controller supports separate counters for daily and nocturnal electricity consumption. In order to report correctly the concerned data, it shall be necessary to set the unit power from the sub-menu Settings – Power setting, and the start time of each tariff in the Home tariffs sub-menu. When the OK button is pressed once, the electricity consumption counters are displayed and the date and time of their last reset. While this screen is displayed, if the OK button is held for 2 seconds, then the counters are reset and the resetting date and time are recorded. Next time you press the OK button, it switches to the screens with a graph of the electricity consumed by hours. The controller shall store such information for the last 7 days. By pressing the ▲ or ▼ buttons, the charts shall change with the days for which information is available. Each graph shows the date to which it refers and the total electricity consumed for that day. It should be borne in mind that the information on the electricity consumed is calculated on the basis of the convector heater set power.
Pressing ▲ or ▼ button again moves to the hourly average room temperature graphs. The controller shall store such information for the last 4 days. By pressing the ▲ or ▼ buttons, the charts shall change with the days for which information is available. Below each graph is the date to which it refers.
Additional information
The display may show additional information such as:
Information about the condition of the WiFi module It is necessary to press the OK button once, then the ▼ button. If you purchased a device without WiFi control, the message No WiFi module shall be displayed. Information about the controller hardware and software versions. It is necessary to press the OK button once, then press ▼ twice.
Information about the appliance operation errors. All error messages are displayed in the corresponding field on the display. Messages can be as follows:

| Disconnected TS | The room temperature sensor is switched off or interrupted. The heater shall not work |
| TS short-circuit | The room temperature sensor is short-circuited. The heater shall not work. |
| Open window | The Open window mode is enabled. |
| Fallen appliance / Colaps. devoce | Enabled protection when the appliance is decommissioned |
| Wrong Time ! | The watch is not set. The weekly programmer will not work. |
SERVICE AND MAINTENANCE
Make sure to turn off the appliance first and remove the plug from the socket.
- In order to preserve the unit technical characteristics and to prevent overheating is necessary, for example, once a month to clean the accumulated dust from the heater top with dry cloth and the bottom grid with a vacuum cleaner or a bristle.
- Clean the cabinet with a dry cloth, vacuum cleaner or brush, always disconnecting the appliance from the power supply beforehand.
- It is prohibited to use liquids when cleaning the unit. It is prohibited to use a steam generator!
- Do not use abrasive materials!
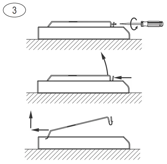
- Clean the rear of the convector once you have unlocked the two clamps at the top end of the convector as shown in fig. 5, so you can release and clean it.
- Warning! After cleaning the heater back side it is compulsory to place the unit back in its normal position (according fig. 5.
ADVICES FOR APPLIANCE PROPER USE
It is not necessary to set the unit in operation at highest temperature, the degrees in the room shall not climb up quicker.
When you ventilate or aerate the room for a long time, turn off the appliance from the button 1 or from the key on the right side panel.
When leaving home for few hours mind decreasing the temperature set. Should you be absent for
- less than two hours it is not necessary to change the temperature set.
- from 2 (say: two) to 24 (say: twenty four) hours you may decrease temperature set with few degrees.
- More than 24 hours or in the summer – leave the appliance plugged into the mains and with a mechanical switch turned off by the electronic control unit (button 1). This will allow the antifreeze function to be switched on as required.
If you have more than one electric convector in the room you may switch them on simultaneously, thus securing constant temperature without increasing power consumption. It is true also for rooms which are not permanently used – it is better to leave the units switched on at minimum temperature stings than to switch them off completely.
WARRANTY, WARRANTY PERIOD AND WARRANTY CONDITIONS
The warranty, warranty conditions, warranty period, warranty validity for purchased appliance and service related manufacturer or vendor liabilities during the appliance warranty period are listed in the appliance warranty form. When buying the appliance the warranty form must be filled and signed both by seller and buyer. Keep the warranty form in a secure place.
In all instances shall be in force the applicable laws, regulations and other legislation dealing with the rights and obligations of consumer, seller and manufacturer, and their relationships related to purchased water heater, its installation, use, servicing and maintenance.
Warranty term is determined by seller and is in force only for the geographical territory of the country.
Warranty is valid only if the appliance:
- Is installed according to the requirements for installation and operation.
- Is used only as per designed purpose and in accordance with the installation and operation manual.
Warranty consists of free of charge repair of all factory defects, which may arise during the warranty term. Repair is performed by service specialists, authorized by seller.
Warranty is not valid for damages, caused by:
- Improper transportation
- Improper storage
- Improper usage
- Supply voltage, different than the unit’s rated voltage.
- Damages due to freezing
- Elemental perils, disasters and other force majeure circumstances.
- Non observance of the installation and operation manual.
- In cases, when a non authorized person has tried to repair any kind of a defect.
In the above cases the defect will be repaired against relative payment.
Warranty shall not apply to normal wear parts and components of the device, parts that are being removed during normal use, lighting and signal lamps and the like, changing the color of external surfaces, change of shape, size and location of parts and components that are exposed to impact and conditions that are not considered normal use.
Lost profits, tangible and intangible damages caused by temporary inability to use the device during its prevention and repair shall not by covered by the warranty.
COMPLIANCE WITH THE REQUIREMENTS OF THIS INSTRUCTION MANUAL IS A PREREQUISITE FOR SAFE OPERATION OF YOUR PURCHASED PRODUCT AND IS ONE OF THE WARRANTY TERMS AND CONDITIONS.
IT IS ABSOLUTELY PROHIBITED TO THE USER OR ANY AUTHORIZED BY HIM PERSON TO UNDERTAKE ANY CHANGES IN THE PRODUCT DESIGN AND STRUCTURE. ANY FINDING OF SUCH ACTIONS OR ATTEMPTS SHALL AUTOMATICALLY RENDER VOID ALL WARRANTY LIABILITIES OF SELLER OR PRODUCER.
N CASE OF NECESSITY FOR SERVICE SEEK ONLY MANUFACTURER AUTHORIZED SERVICE COMPANIES LISTED IN THE ANNEXED FORM.
THE MANUFACTURER PRESERVED HIS RIGHT TO STRUCTURAL CHANGES WITHOUT NOTICE WHERE SUCH SHALL NOT AFFECT PRODUCT SAFETY.



















