Makita DUN461W Cordless Pole Hedge Trimmer
SPECIFICATIONS
| Model: | DUN461W |
| Blade length | 460 mm |
| Strokes per minute | 3,600 min-1 |
| Cutting blade angle | 135° (up 60°, down 75°) |
| Overall length | 1,889 – 2,511 mm |
| Rated voltage | D.C. 18 V |
| Net weight | 3.0 – 3.3 kg |
- Due to our continuing program of research and development, the specifications herein are subject to change without notice.
- Specifications may differ from country to country.
- The weight may differ depending on the attachment(s), including the battery cartridge. The lightest and heaviest combinations, according to EPTA-Procedure 01/2014, are shown in the table.
Applicable battery cartridge and charger
| Battery cartridge | BL1815N / BL1820B / BL1830B / BL1840B / BL1850B / BL1860B |
| Charger | DC18RC / DC18RD / DC18RE / DC18SD / DC18SE / DC18SF / DC18SH |
Some of the battery cartridges and chargers listed above may not be available depending on your region of residence.
WARNING: Only use the battery cartridges and chargers listed above. Use of any other battery cartridges and chargers may cause injury and/or fire.
Recommended cord-connected power source
Portable power pack PDC01
- The cord-connected power source(s) listed above may not be available depending on your region of residence.
- Before using the cord-connected power source, read instructions and cautionary markings on them.
Symbols
The followings show the symbols which may be used for the equipment. Be sure that you understand their meaning before use.
Read the instruction manual.
Do not expose to moisture.
Wear a helmet, goggles and ear protection.
DANGER – Keep hands away from blade.
Beware of electrical lines, risk of electrical shock.
Keep distance at least 15 m.
Only for EU countries
Due to the presence of hazardous components in the equipment, waste electrical and electronic equipment, accumulators and batteries may have a negative impact on the environment and human health. Do not dispose of electrical and electronic appliances or batteries with household waste!In accordance with the European Directive on waste electrical and electronic equipment and on accumulators and batteries and waste accumulators and batteries, as well as their adaptation to national law, waste electrical equipment, batteries and accumulators should be stored separately and delivered to a separate collection point for municipal waste, operating in accordance with the regulations on environmental protection.
This is indicated by the symbol of the crossed-out wheeled bin placed on the equipment.
Guaranteed sound power level according to EU Outdoor Noise Directive.
Sound power level according to Australia NSW Noise Control Regulation
Intended use
The tool is intended for trimming hedges.
Noise
The typical A-weighted noise level is determined according to EN62841-4-2:
Sound pressure level (LpA): 74 dB(A)
Uncertainty (K) : 3 dB(A)
The noise level under working may exceed 80 dB (A).
NOTE: The declared noise emission value(s) has been measured in accordance with a standard test method and may be used for comparing one tool with another.
NOTE: The declared noise emission value(s) may also be used in a preliminary assessment of exposure.
WARNING: Wear ear protection.
WARNING: The noise emission during actual use of the power tool can differ from the declared value(s) depending on the ways in which the tool is used especially what kind of workpiece is processed.
WARNING: Be sure to identify safety measures to protect the operator that are based on an estimation of exposure in the actual conditions of use (taking account of all parts of the operating cycle such as the times when the tool is switched off and when it is running idle in addition to the trigger time).
Vibration
Applicable standard : EN62841-4-2
| Left hand (Front grip) | Right hand (Rear grip) | ||
| ah (m/s2) | Uncertainty K (m/s2) | ah (m/s2) | Uncertainty K (m/s2) |
| 2.5 m/s2 or less | 1.5 | 2.5 m/s2 or less | 1.5 |
NOTE: The declared vibration total value(s) has been measured in accordance with a standard test method and may be used for comparing one tool with another.
NOTE: The declared vibration total value(s) may also be used in a preliminary assessment of exposure.
WARNING: The vibration emission during actual use of the power tool can differ from the declared value(s) depending on the ways in which the tool is used especially what kind of workpiece is processed.
WARNING: Be sure to identify safety measures to protect the operator that are based on an estimation of exposure in the actual conditions of use (taking account of all parts of the operating cycle such as the times when the tool is switched off and when it is running idle in addition to the trigger time).
EC Declaration of Conformity
For European countries only
The EC declaration of conformity is included as Annex A to this instruction manual.
SAFETY WARNINGS
General power tool safety warnings
WARNING: Read all safety warnings, instructions, illustrations and specifications provided with this power tool. Failure to follow all instructions listed below may result in electric shock, fire and/or serious injury.
Save all warnings and instructions for future reference.
The term “power tool” in the warnings refers to your mains-operated (corded) power tool or battery-operated (cordless) power tool.
Cordless Pole Hedge Trimmer Safety Warnings
- Keep all parts of the body away from the blade. Do not remove cut material or hold material to be cut when blades are moving. Blades continue to move after the switch is turned off. A moment of inattention while operating the hedge trimmer may result in serious personal injury.
- Carry the hedge trimmer by the handle with the blade stopped and take care not to operate any power switch. Proper carrying of the hedge trimmer will decrease the risk of inadvertent starting and resultant personal injury from the blades.
- When transporting or storing the hedge trimmer, always fit the blade cover. Proper handling of the hedge trimmer will decrease the risk of personal injury from the blades.
- When clearing jammed material or servicing the unit, make sure all power switches are off and the battery pack is removed or disconnected. Unexpected actuation of the hedge trimmer while clearing jammed material or servicing may result in serious personal injury.
- Hold the hedge trimmer by insulated gripping surfaces only, because the blade may contact hidden wiring. Blades contacting a “live” wire may make exposed metal parts of the hedge trimmer
“live” and could give the operator an electric shock. - Keep all power cords and cables away from the cutting area. Power cords or cables may be hidden in hedges or bushes and can be accidentally cut by the blade.
- Do not use the hedge trimmer in bad weather conditions, especially when there is a risk of lightning. This decreases the risk of being struck by lightning.
- To reduce the risk of electrocution, never use the pole hedge trimmer near any electrical power lines. Contact with or use near power lines may cause serious injury or electric shock resulting in death.
- Always use two hands when operating the pole hedge trimmer. Hold the pole hedge trimmer with both hands to avoid loss of control.
- Always use head protection when operating the pole hedge trimmer overhead. Falling debris can result in serious personal injury.
Additional Safety Instructions
Preparation
- THIS HEDGE TRIMMER CAN CAUSE SERIOUS INJURIES. Read the instructions carefully for the correct handling, preparation, main-tenance, starting and stopping of the tool. Become familiar with all controls and the proper use of the tool.
- Check the hedges and bushes for foreign objects, such as wire fences or hidden wiring before operating the tool.
- The tool must not be used by children or young persons under 18 years of age. Young persons over 16 years of age may be exempted from this restriction if they are undergoing training under the supervision of an expert.
- In the event of an emergency, switch off the tool and remove the battery cartridge immediately.
- DANGER – Keep hands away from blade. Contact with blade will result in serious personal injury.
- First-time users should have an experienced user show them how to use the tool.
- Before operation, examine the work area for wire fences, stones, or other solid objects. They can damage the blades.
- Use the tool only if you are in good physical condition. If you are tired, your attention will be reduced. Be especially careful at the end of a working day. Perform all work calmly and carefully. The user is responsible for all damages to third parties.
- Before starting work, check to make sure that the tool is in good and safe working order. Ensure guards are fitted properly. The tool must not be used unless fully assembled.
- Avoid dangerous environment. Don’t use the tool in damp or wet locations or expose it to rain. Water entering the tool will increase the risk of electric shock.
Personal protective equipment
- Work gloves of stout leather are part of the basic equipment of the tool and must always be worn when working with it. Also wear sturdy shoes with anti-skid soles.
- Wear ear protection such as ear muffs to pre-vent hearing loss.
- Wear protective goggles, safety helmet and protective gloves to protect yourself from flying debris or falling objects.
- When touching blades or adjusting the blade angle, wear protective gloves. Blades can cut bare hands severely.
Operation
- Always use two hands to operate the tool. Using one hand could cause loss of control and result in serious personal injury.
- While operating the tool, always ensure that the operating position is safe and secure. Overreaching with the tool, particularly from a ladder, is extremely dangerous. Do not work from anything wobbly or infirm.
- Do not simultaneously wear multiple belt har-nesses and/or shoulder harnesses when oper-ating the tool.
- During operation, keep bystanders or animals at least 15 m away from the tool. Stop the tool as soon as someone approaches.
- If cutting tool strikes any object or the tool starts making unusual noise or vibration, switch off the tool and remove the battery car-tridge immediately and allow the tool to stop. And then take the following steps:
- inspect for damage
- check for, and tighten, any loose parts
- have any damaged parts replaced or repaired with genuine spare parts.
- Only use the tool for its intended purpose. Do not use the tool for any other purpose.
- Switch off the tool and remove the battery cartridge before:
- cleaning or when clearing a blockage,
- checking, carrying out maintenance or working on the tool,
- adjusting the working position of the shear blades,
- leaving the tool unattended.
- Ensure that the tool is correctly located in a designated working position before starting the tool.
- Do not operate the tool with a damaged or excessively worn shear blades.
- Always be aware of your surroundings and stay alert for possible hazards of which you may not be aware due to the noise of the tool.
- Be careful not to accidentally contact a metal fence or other hard objects during operation. The blade will break and may cause serious injury.
- Avoid unintentional starting. Do not carry the tool when the battery cartridge is installed and with finger on the switch. Make sure that the switch is off when installing the battery cartridge.
- Do not grasp the exposed cutting blades or cutting edges when picking up or holding the tool.
- Do not force the tool. It will do the job better and with less likelihood of a risk of injury at the rate for which it was designed.
- Do not use the tool in the rain or in wet or very damp conditions. The electric motor is not waterproof.
- Hold the tool firmly when using the tool.
- Do not operate the tool at no-load unnecessarily.
- Before checking the shear blades, taking care of faults, or removing foreign objects caught in the shear blades, always switch off the tool and remove the battery cartridge.
- Never point the shear blades to yourself or others.
- If the blades stop moving due to the stuck of foreign objects between the blades during operation, switch off the tool and remove the battery cartridge, and then remove the foreign objects using tools such as pliers. Removing the foreign objects by hand may cause an injury for the reason that the blades may move in reaction to removing the foreign objects.
Electrical and battery safety
- Avoid dangerous environments. Don’t use the tool in damp or wet locations or expose it to rain. Water entering the tool will increase the risk of electric shock.
- Do not dispose of the battery(ies) in a fire. The cell may explode. Check with local codes for possible special disposal instructions.
- Do not open or mutilate the battery(ies). Released electrolyte is corrosive and may cause damage to the eyes or skin. It may be toxic if swallowed.
- Do not charge the battery in rain, or in wet locations.
- Do not charge the battery outdoors.
- Do not handle chargers, including charger plug, and charger terminals with wet hands.
Maintenance and storage
- When the tool is stopped for servicing, inspec-tion or storage, switch off the tool and remove the battery cartridge, and make sure all mov-ing parts have come to a stop. Allow the tool to cool before making any inspections, adjust-ment, etc.
- Always allow the tool to cool down before storing.
- When not in use, attach the blade cover to the tool and store the tool indoors in dry, and high locked-up place, out of reach of children.
- Maintain the tool with care. Keep the cutting edge sharp and clean for best performance and to reduce the risk of injury. Follow instructions for lubricating and changing accessories. Keep grips dry, clean, and free from oil and grease.
- Check damaged parts. Before further use of the tool, any part which is damaged should be carefully checked to determine that it will oper-ate properly and perform its intended function. Check for alignment of moving parts, binding of moving parts, breakage of parts, mounting, and any other condition that may affect its operation. A guard or other part that is damaged should be properly repaired or replaced by your authorized service center.
- Use genuine spare parts only.
- When moving the tool to another location, including during work, always remove the battery cartridge and put the blade cover on the shear blades. Never carry or transport the tool with the blades running. Never grasp the blades with your hands.
- Clean the tool and especially the shear blades after use, and before putting the tool into stor-age for extended periods. Lightly oil the shear blades and put on the blade cover.
- Do not dispose of the battery(ies) in a fire. The cell may explode. Check with local codes for possible special disposal instructions.
- Do not open or mutilate the battery(ies). Released electrolyte is corrosive and may cause damage to the eyes or skin. It may be toxic if swallowed.
- Do not charge the battery in rain, or in wet locations.
SAVE THESE INSTRUCTIONS.
WARNING: DO NOT let comfort or familiarity with product (gained from repeated use) replace strict adherence to safety rules for the subject product. MISUSE or failure to follow the safety rules stated in this instruction manual may cause serious personal injury.
Important safety instructions for battery cartridge
- Before using battery cartridge, read all instructions and cautionary markings on (1) battery charger, (2) battery, and (3) product using the battery.
- Do not disassemble or tamper with the battery cartridge. It may result in a fire, excessive heat, or explosion.
- If operating time has become excessively shorter, stop operating immediately. It may result in a risk of overheating, possible burns and even an explosion.
- If electrolyte gets into your eyes, rinse them out with clear water and seek medical attention right away. It may result in loss of your eyesight.
- Do not short the battery cartridge:
(1) Do not touch the terminals with any conductive material.
(2) Avoid storing battery cartridges in a container with other metal objects such as nails, coins, etc.
(3) Do not expose the battery cartridge to water or rain. A battery short can cause a large current flow, overheating, possible burns and even a breakdown. - Do not store and use the tool and battery car-tridge in locations where the temperature may reach or exceed 50 °C (122 °F).
- Do not incinerate the battery cartridge even if it is severely damaged or is completely worn out. The battery cartridge can explode in a fire.
- Do not nail, cut, crush, throw, drop the battery cartridge, or hit a hard object to the battery cartridge. Such conduct may result in a fire, excessive heat, or explosion.
- Do not use a damaged battery.
- The contained lithium-ion batteries are subject to the Dangerous Goods Legislation requirements.
For commercial transports e.g. by third parties or forwarding agents, special requirements on pack-aging and labeling must be observed.
For the preparation of the item being shipped, consulting an expert for hazardous material is required. Please also observe possibly more detailed national regulations.
Tape or mask off open contacts and pack up the battery in such a manner that it cannot move around in the packaging. - When disposing of the battery cartridge, remove it from the tool and dispose of it in a safe place. Follow your local regulations relating to the disposal of batteries.
- Use the batteries only with the products specified by Makita. Installing the batteries to non-compliant products may result in a fire, excessive heat, explosion, or leak of electrolyte.
- If the tool is not used for a long period of time, the battery must be removed from the tool.
- During and after use, the battery cartridge may take on heat which can cause burns or low-temperature burns. Pay attention to the handling of hot battery cartridges.
- Do not touch the terminal of the tool immediately after use as it may get hot enough to cause burns.
- Do not allow chips, dust, or soil to stuck into the terminals, holes, and grooves of the battery cartridge. It may result in poor performance or breakdown of the tool or battery cartridge.
- Unless the tool supports the use near high-voltage electrical power lines, do not use the battery cartridge near high-voltage electrical power lines. It may result in a malfunction or breakdown of the tool or battery cartridge.
- Keep the battery away from children.
SAVE THESE INSTRUCTIONS.
CAUTION: Only use genuine Makita batteries. Use of non-genuine Makita batteries, or batteries that have been altered, may result in the battery bursting causing fires, personal injury and damage. It will also void the Makita warranty for the Makita tool and charger.
Tips for maintaining maximum battery life
- Charge the battery cartridge before completely discharged. Always stop tool operation and charge the battery cartridge when you notice less tool power.
- Never recharge a fully charged battery cartridge. Overcharging shortens the battery service life.
- Charge the battery cartridge at room temperature at 10 °C – 40 °C (50 °F – 104 °F). Let a hot battery cartridge cool down before charging it.
- When not using the battery cartridge, remove it from the tool or the charger.
- Charge the battery cartridge if you do not use it for a long period (more than six months).
PARTS DESCRIPTION
Fig.1
| 1 | Head | 2 | Angle adjustment button | 3 | Lock-lever | 4 | Thumb nut |
| 5 | Front grip | 6 | Rear grip | 7 | Battery cartridge | 8 | Switch trigger |
| 9 | Lock-off button | 10 | Shear blades | – | – | – | – |
FUNCTIONAL DESCRIPTION
CAUTION: Always be sure that the tool is switched off and the battery cartridge is removed before adjusting or checking the function of the tool.
Installing or removing battery cartridge
CAUTION: Always switch off the tool before installing or removing of the battery cartridge.
CAUTION: Hold the tool and the battery car-tridge firmly when installing or removing battery cartridge. Failure to hold the tool and the battery cartridge firmly may cause them to slip off your hands and result in damage to the tool and battery cartridge and a personal injury.
Fig.2:
- Red indicator
- Button
- Battery cartridge
To remove the battery cartridge, slide it from the tool while sliding the button on the front of the cartridge.
To install the battery cartridge, align the tongue on the battery cartridge with the groove in the housing and slip it into place. Insert it all the way until it locks in place with a little click. If you can see the red indicator as shown in the figure, it is not locked completely.
CAUTION: Always install the battery cartridge fully until the red indicator cannot be seen. If not, it may accidentally fall out of the tool, causing injury to you or someone around you.
CAUTION: Do not install the battery cartridge forcibly. If the cartridge does not slide in easily, it is not being inserted correctly.
Indicating the remaining battery capacity
Only for battery cartridges with the indicator
Fig.3:
- Indicator lamps
- Check button
Press the check button on the battery cartridge to indi-cate the remaining battery capacity. The indicator lamps light up for a few seconds.
NOTE: Depending on the conditions of use and the ambient temperature, the indication may differ slightly from the actual capacity.
NOTE: The first (far left) indicator lamp will blink when the battery protection system works.
Tool/battery protection system
The tool is equipped with a tool/battery protection system. This system automatically cuts off power to the motor to extend tool and battery life. The tool will automatically stop during operation if the tool or battery is placed under one of the following conditions:
Overload protection
When the tool or battery is operated in a manner that causes it to draw an abnormally high current, the tool automatically stops. In this situation, turn the tool off and stop the application that caused the tool to become overloaded. Then turn the tool on to restart.
Overheat protection
When the tool or battery is overheated, the tool stops automatically. In this case, let the tool and battery cool before turning the tool on again.
Over-discharge protection
When the battery capacity is not enough, the tool stops automatically. In this case, remove the battery from the tool and charge the battery.
Switch action
WARNING: Before installing the battery cartridge into the tool, always check to see that the switch trigger actuates properly and returns to the “OFF” position when released.
WARNING: For your safety, this tool is equipped with the lock-off button which prevents the tool from unintended starting. Never use the tool if it starts when you pull the switch trigger without pressing the lock-off button. Ask your local Makita Service Center for repairs.
WARNING: Never disable the lock function or tape down the lock-off button.
NOTICE: Do not pull the switch trigger forcibly without pressing the lock-off button. The switch may break.
Fig.4:
- Lock-off button
- switch trigger
To prevent the switch trigger from being accidentally pulled, a lock-off button is provided.
To start the tool, press the lock-off button and pull the switch trigger. Release the switch trigger to stop. The lock-off button can be pressed from either the right or left side.
Adjusting the cutting angle
CAUTION: Always be sure that the tool is switched off before folding or unfolding the head.
CAUTION: When folding the head for carrying the tool or after using the tool, be sure to attach the blade cover before folding the head.
CAUTION: When folding the head, be careful not to pinch your fingers between the head and the tool body.
The angle of the head can be adjusted in 10 steps. To change the angle of the head, follow the steps below.
- Hold the head and the tool body as shown in the figure.
Fig.5:
- Head
- Angle adjustment button
- Adjust the angle of the head while holding down the angle adjustment button, and then release the angle adjustment button.
- Move the head slightly until it is locked with a click.
NOTE: Make sure that the head is securely locked before operating the tool.
Adjusting the pipe length
CAUTION: Always be sure that the tool is switched off before adjusting the pipe length.
CAUTION: When adjusting the pipe length, be sure to attach the blade cover before adjusting the pipe length.
CAUTION: When adjusting the pipe length, be careful not to pinch your fingers.
CAUTION: Make sure that the lock lever is locked securely.
Loosen the lock lever, then adjust the length of the pipe, and then lock the lock lever.
Fig.6: 1. Lock-lever
Adjusting the front grip position
CAUTION: Always be sure that the tool is switched off before adjusting the position of the front grip.
CAUTION: When adjusting the position of the front grip, be careful not to pinch your fingers.
CAUTION: Make sure that the thumb nut is tightened securely.
CAUTION: Do not move the front grip beyond the arrow mark.
To adjust the position of the front grip, loosen the thumb nut by turning it counterclockwise, then adjust the position of the front grip, and then tighten the thumb nut by turning it clockwise.
Fig.7:
- Thumb nut
- Arrow mark
ASSEMBLY
CAUTION: Always be sure that the tool is switched off and the battery cartridge is removed before carrying out any work on the tool.
CAUTION: When replacing the shear blades, always wear gloves so that your hands do not directly contact the blades.
Installing or removing the shear blades
CAUTION: Attach the blade cover before removing or installing the shear blades.
NOTICE: When replacing the shear blades, do not wipe off grease from the gear and crank.
NOTE: Before installing or removing the shear blades, unfold the head of the tool so that the head is straight to the tool body.
- Place the tool upside down.
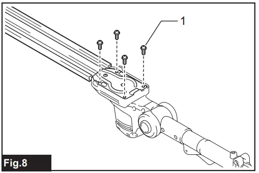
- Remove 4 screws with a screwdriver and remove the shear blades.
Fig.8: 1. Screw
- Remove the crank from the shear blades.
Fig.9: 1. Crank
NOTE: The crank may remain in the tool. - Prepare the crank and new shear blades.
Fig.10: 1. Crank 2. Shear blades
- Remove the blade cover, and then attach it to the new shear blades.
- Apply a small amount of grease to the periphery of the crank. Attach the washer, gear, and the crank to the pin in order.
Fig.11: 1. Crank 2. Gear 3. Washer 4. Pin
- Adjust the crank so that the 2 small holes on the crank are lined up on the alignment line as shown in the figure.
Fig.12: 1. Alignment line 2. Small hole
- Slide the shear blades so that the hole on the guide plate is positioned at the center of the rings of blades.
Fig.13: 1. Guide plate
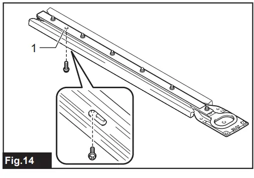
- Insert the screw removed in step 2 into the hole on the shear blades through the hole on the blade cover.
Fig.14: 1. Hole
- Attach the shear blades to the tool, and then tighten 3 screws with the screwdriver.
Fig.15: 1. Screw
- Remove the screw inserted into the hole on the shear blades in step 9, and then tighten it to fix the shear blades.
NOTICE: If the shear blades do not operate properly, the blades are not engaging the crank properly. Remove the blades and install them again.
NOTICE: If the parts other than the shear blades such as the crank are worn out, ask Makita Authorized Service Centers for parts replacement or repairs.
Installing or removing the chip receiver
Optional accessory
CAUTION: When installing or removing the chip receiver, always wear gloves so that your hands do not directly contact the shear blades.
CAUTION: Attach the blade cover before installing or removing the chip receiver.
The chip receiver gathers discarded leaves and makes clean-up afterward much easier. It can be installed on either side of the tool.
- Align the holes on the chip receiver with the nuts on the shear blades.
Fig.16: 1. Nut
- Hook the claws of the chip receiver to the groove on the shear blades.
Fig.17: 1. Claw 2. Groove
- Press the levers on the chip receiver, and then hook the claws on the other side to the groove on the shear blades.
Fig.18: 1. Lever
To remove the chip receiver, press the levers to release the claws.
Fig.19: 1. Lever
NOTICE: Never try to remove the chip receiver by an excessive force with its claws locked in the grooves of the shear blades.
OPERATION
Operating the tool
WARNING: Do not use the tool near any electrical power lines. Contacting power lines or using the tool near power lines may cause serious injury or electric shock resulting in death.
WARNING: Keep hands away from shear blades.
WARNING: Be extremely careful to maintain control of the tool at all times. Do not allow the tool to be deflected toward you or anyone in the work vicinity. Failure to keep control of the tool could result in serious injury to the bystander and the operator.
CAUTION: Avoid operating the tool in very hot weather as much as practicable. When operat-ing the tool, be careful of your physical condition.
CAUTION: Be careful not to accidentally contact a metal fence or other hard objects while trimming. The shear blades may break and cause an injury.
CAUTION: Be careful not to allow the shear blades to contact the ground. The tool may recoil and cause an injury.
CAUTION: Overreaching with a hedge trim-mer, particularly from a ladder, is extremely dangerous. Do not work while standing on anything wobbly or infirm.
NOTICE: Do not attempt to cut branches thicker than 10 mm in diameter with the tool. Cut branches to 10 cm lower than the cutting height using branch cutters before using the tool.
Fig.20: (1) Cutting height (2) 10 cm
NOTICE: Do not cut down dead trees or similar hard objects. Doing so may damage the tool.
NOTICE: Do not trim the grass or weeds while using the shear blades. The shear blades may become tangled in the grass or weeds.
Hold the tool with both hands by holding the front grip and the rear grip.
Fig.21: 1. Front grip 2. Rear grip
Pull the switch trigger while pressing the lock-off button, and then move the tool forward. Fig.22
For basic operation, tilt the shear blades toward the trimming direction and move it calmly and slowly at the speed rate of 3 to 4 seconds per meter.
► Fig.23
To cut a hedge side evenly, cut from the bottom to top.
► Fig.24
When trimming to make a round shape (trimming box-wood or rhododendron, etc.), trim from the root to the top for a beautiful finish. Fig.25
If the chip receiver is attached to the shear blades, it gathers discarded leaves and makes clean-up afterward much easier. Fig.26
MAINTENANCE
CAUTION: Always be sure that the tool is switched off and the battery cartridge is removed before attempting to perform inspection or maintenance.
CAUTION: When inspecting or maintaining the tool, always put the tool down. Assembling or adjusting the tool in an upright position may result in serious injury.
To maintain product SAFETY and RELIABILITY, repairs, any other maintenance or adjustment should be performed by Makita Authorized or Factory Service Centers, always using Makita replacement parts.
Cleaning the tool
Clean the tool by wiping off dust with a dry cloth or one dipped in soapy water and wrung out.
NOTICE: Never use gasoline, benzine, thinner, alcohol or the like. Discoloration, deformation or cracks may result.
Shear blade maintenance
Before the operation or once per hour during operation, apply low-viscosity oil (machine oil, or spray-type lubri-cating oil) to the shear blades. Fig.27
After the operation, remove dust from both sides of the shear blades with a wired brush, wipe it off with a cloth and then apply low-viscosity oil (machine oil, or spray-type lubricating oil) to the shear blades. Fig.28
NOTICE: Do not wash the shear blades in water. Doing so may cause rust or damage to the tool.
NOTICE: Dirt and corrosion cause excessive blade friction and shorten the operating time per battery charge.
Storage
Attach the blade cover to the shear blades so that the blades are not exposed. Store the tool out of the reach of children. Store the tool in a place not exposed to moisture or rain.
TROUBLESHOOTING
Before asking for repairs, conduct your own inspection first. If you find a problem that is not explained in the manual, do not attempt to dismantle the tool. Instead, ask Makita Authorized Service Centers, always using Makita replacement parts for repairs.
| State of abnormality | Probable cause (malfunction) | Remedy |
| Motor does not run. | Battery cartridge is not installed. | Install the battery cartridge. |
| Battery problem (under voltage) | Recharge the battery. If recharging is not effective, replace battery. | |
| The drive system does not work correctly. | Ask your local authorized service center for repair. | |
| Motor stops running after a little use. | Battery’s charge level is low. | Recharge the battery. If recharging is not effective, replace battery. |
| Overheating. | Stop using of tool to allow it to cool down. | |
| Tool does not reach maximum RPM. | Battery is installed improperly. | Install the battery cartridge as described in this manual. |
| Battery power is dropping. | Recharge the battery. If recharging is not effective, replace battery. | |
| The drive system does not work correctly. | Ask your local authorized service center for repair. | |
| Shear blades do not move: stop the machine immediately! | Inappropriate angle of shear blades. | Make sure that the head is properly fixed in the operational angle. |
| Foreign objects are caught between the shear blades. | Switch off the tool and remove the battery cartridge, and then remove the foreign objects using tools such as pliers. | |
| The drive system does not work correctly. | Ask your local authorized service center for repair. | |
| Abnormal vibration: stop the machine immediately! | Shear blades are broken, bent or worn. | Replace the shear blades. |
| The drive system does not work correctly. | Ask your local authorized service center for repair. | |
| Shear blades and motor cannot stop: Remove the battery immediately! | Electric malfunction. | Remove the battery and ask your local authorized service center for repair. |
OPTIONAL ACCESSORIES
CAUTION: These accessories or attachments are recommended for use with your Makita tool specified in this manual. The use of any other accessories or attachments might present a risk of injury to persons. Only use accessory or attachment for its stated purpose.
If you need any assistance with more details regarding these accessories, ask your local Makita Service Center.
- Shear blade assembly
- chip receiver
- Grease vessel
- Makita genuine battery and charger
NOTE: Some items in the list may be included in the tool package as standard accessories. They may differ from country to country.
SPECIFICATIONS
Wear a helmet, goggles and ear protection.
DANGER – Keep hands away from blade.
Beware of electrical lines, risk of electrical shock.
Keep distance at least 15 m.

NOTE: The crank may remain in the tool.







To remove the chip receiver, press the levers to release the claws.
NOTICE: Never try to remove the chip receiver by an excessive force with its claws locked in the grooves of the shear blades.


















