
Two-Piece Pedestal Sink
INSTALLATION INSTRUCTIONS

Swiss Madison®
@SwissMadison #WellMadeForever
www.swissmadison.com | 1-434-623-4766 | [email protected]

PRIOR TO INSTALLATION:
- Inspect sink to ensure no damages have occurred while in shipping.
- Observe all plumbing and building codes in accordance with your state and local requirements.
- All dimensions are nominal! Be sure to measure your sink prior to installation.
- The step-by-step guidelines in the installation instructions are a general reference. Should there be any discrepancies, Swiss Madison cannot be held liable. It is recommended to install all Swiss Madison products by hiring a licensed professional.
- Read installation and maintenance instructions thoroughly before installing. Be sure to use proper tools and always wear proper personal safety accessories for your protection.
- Two people are recommended to handle and install this product as it is fragile.
If you have any questions or concerns please contact us: 1-434-623-4766 [email protected]
SUGGESTED TOOLS & MATERIALS:
INCLUDED PARTS:
1. Mark Height
- Place sink against wall in its final location.
- Using a pencil mark the height of the sink on the wall.

2. Mount Sink
- Put sink back in position and mark where to install mounting hardware.
- Follow the steps below to mount the sink to the wall.

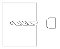
1. Drill two holes in the required position on the wall using a 14 mm masonry drill bit, to a depth of 75 mm.

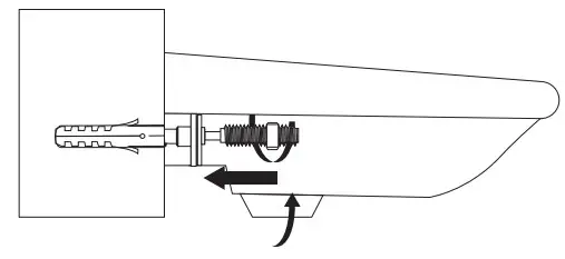
2. Push an anchor into each hole.

3. Screw a fixing bolt into each fixing plug using a 8 mm spanner until the spanner contacts the wall.

4. Place the basin in position against the wall. Locating the fixing bolts through the holes in the rear of the basin. Push a plastic washer followed by a metal washer, onto each fixing bolt.

5. Screw metal nut onto each fixing bolt to secure the basin. Do not overtighten, as this may damage the ceramic.

6. Ensure sink it secure, tighten bolts if necessary.

3. Attach Plumbing
- Set sink into the mounting bracket.
- Install faucet, most of the trap, and connect supply lines.

4. Install Pedestal
- Slide pedestal into place.

5. Secure Into Place
- Bolt pedestal into the floor.
- Do not over-tighten, as this may damage the ceramic.
ONE YEAR LIMITED WARRANTY
Swiss Madison® products are made with quality materials and excellent craftsmanship to provide our customers with beautiful, durable, long-lasting products. Should there be any defects in materials or craftsmanship under regular use that are discovered within the first year of installation, Swiss Madison® will provide replacement parts at no charge, or at its discretion, replace any product or part of the product that is deemed defective, under normal installation, use, service or maintenance. This warranty applies only to the original purchaser. Proof of purchase will be required in the instance of a claim.
Swiss Madison® recommends all installations of Swiss Madison® products be conducted by a licensed, professional plumber or contractor. Swiss Madison® will not be held responsible for any damage or product failure due to improper installation, misuse, or failure to utilize a licensed professional for installation. Swiss Madison® is not responsible for any installation or removal costs.
This One Year Limited Warranty Will Be Voided If:
- The installation recommendations were not followed by the installer
- The product has been moved from its initial place of installation
- The product has in any way been modified from its packaged state
- The product has been subjected to improper maintenance, abuse, misuse, excessive use of chemicals, accidents, or other damages, etc.
Swiss Madison® makes no implication that its products comply with any local building or plumbing codes. It is the consumer’s responsibility and obligation to determine local code compliance prior to and during installation. This warranty extends only to the original purchaser and first consumer.
Swiss Madison® is not responsible for any special, incidental, or consequential damages associated with the installation, replacement, return or use of the original purchaser’s product. This includes, but is not limited to: freight costs, labor, travel time, lost profit, home damages, and other contingent liabilities and costs (including, without limitation, costs associated with ‘professionals’ or ‘experts’, investigations, audits, analyses, attorneys and any other professional/hired services).
The Swiss Madison® warranty is a comprehensive and explicit limit of liability. All items not disclosed within the warranty are not addressable within the responsibility of Swiss Madison®. Certain states have variances regarding implied warranties; in those situations, we remain fully compliant.
If you have any questions or concerns, please contact us directly at
1-434-MADISON (623-4766)
WARNING: Contents of your order may contain sharp and possibly other harmful pieces and may cause hazards to children and adults. Swiss Madison® is not responsible in any way for personal damages.
1-434-MADISON
(623-4766)
19 Stults Road
Dayton, NJ 08810
www.swissmadison.com
ONE YEAR LIMITED WARRANTY


















