Swiss Madison – well made forever Freestanding Vanity Instructions

FREESTANDING VANITY Installation Instructions
PRIOR TO INSTALLATION:
- Inspect product to ensure no damages have occurred while in shipping.
- Observe all plumbing and building codes in accordance with your state and local requirements.
- Floor must be level prior to installation of vanity.
- All dimensions are nominal! Be sure to measure your vanity prior to installation.
- The step-by-step guidelines in the installation instructions are a general reference. Should there be any discrepancies, Swiss Madison cannot be held liable. It is recommended to install all Swiss Madison products by hiring a licensed professional.
- Read installation and maintenance instructions thoroughly before installing. Be sure to use proper tools and always wear proper personal safety accessories for your protection.
If you have any questions or concerns please contact us: 1-434-623-4766 [email protected]
SUGGESTED TOOLS & MATERIALS:
- Safety Glasses

- Allen Wrench

- Screwdrivers

- Silicone

- Drop Cloth

- Level

- Adhesive

- Drill

- Gloves

Included Parts:
- Vanity Base

- Vanity Sink

- Hardware

Parts for Reference:
- Left side panel
- Right side panel
- Bottom panel
- Rear top bar
- Rear bottom bar
- Left door
- Right door
- Middle panel
- Top drawer surface
- Middle drawer surface
- Bottom drawer surface
- Front top bar
- Front bottom bar
- Drawer left side panel
- Drawer right side panel
- Drawer back panel
- Drawer front panel
- Drawer bottom panel
- A. Cam bolt

- B. Cam lock

- C. Wooden dowel

- D. Metal bracket

- E. Hinge

- F. Screw (10mm) & plastic anchor

- G. Screw (14mm)

- H. Screw for handle (22mm)

- I. Screw for drawer (20mm)

- J: Screw for drawer (25mm)

- K: Undermount slide

- L: Handle

- M: Screw for handle (30mm)

- N. Hinge

- A. Cam bolt

Install Hinges
- Screw 9 cam bolts (A) into the left side panel (1) and use 8 screws (G) to install the 2 hinges (E)
- Screw 9 cam bolts (A) into the right side panel (2) then use 12 screws (G) to install the 3 undermount slides (K).
- Screw 1 cam bolt (A) and 4 cam locks (B) into the middle panel (8), then use 12 screws (G) to install the 3 undermount slides (K). On the other side of the middle panel (8) use 8 screws (G) to install the 2 hinges (N).
- Screw 4 cam bolts (A) to the front bottom bar (13). Insert 4 wooden dowels (C) and screw 6 cam bolts (A) to the bottom panel (3). Invert the bottom panel (3) and use 4 cam locks (B) to attach the front bottom bar (13) to the bottom panel (3).
- Screw 1 cam bolt (A) to the rear top bar (4). Repeat for the rear bottom bar (5).




Assemble Base
- Attach the rear bottom bar (5) and the middle panel (8) to the bottom panel (3) by locking the 6 cam locks (B), then insert the 2 wooden dowels (C) to the front top bar (12).
- Use 9 cam locks to connect the left side panel (1) to the bottom panel (3), rear top bar (4), and front top bar (12). Repeat to connect the right side panel (2).


Assemble Drawer Base
- Screw 6 cam bolts (A) into pre-threaded holes on the drawer left side panel (14). Repeat for the drawer right side panel (15).
- Screw 2 cam bolts (A) into the drawer back panel (16). Repeat for the drawer front panel (17).
- Use 16 cam locks (B) to connect and secure all panels in place as shown.


Assemble Drawers
- Attach the 2 undermount slides (K) to the drawer bottom panel (18) with 2 screws (I). Repeat the process for the remaining two drawers. Do not tighten screws all the way.
- Attach the drawer front panel (17) to the door surfaces (9 & 10 & 11) with 4 screws (J) as shown.
- Insert the hooks of the slides (K) to the back panel of the drawer (16). Tighten the 2 screws (I) on the bottom of the drawer (18) to secure the slides (K). Repeat the process for remaining the two drawers




Install Doors
- Use 24 screws (G) to attach the left door (6) and right door (7) to the cabinet. Install the 2 handles (L) to the 2 doors and 3 handles (L) to the 3 drawers using the 5 handle screws (M).
- Adjust the hinges to make the doors in the correct position if necessary.

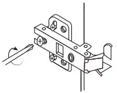
Secure Vanity to Wall
- Attach 2 metal brackets (D) to the rear top bar (4) using 16 screws (G).
- Mark the desired hole locations on the mounting wall. Once satisfied with the placement, predrill holes into the mounting wall.
- Install the vanity to the wall by using 2 screw & plastic anchor sets (F).

Hinge/Door Adjustment and Realignment
- If adjustment or realignment is needed, follow the instructions provided in the following chart.











Vanity Top Installation
- Install faucet and drain according to manufacturer’s installation instructions. Do not overtighten, this may
cause the sink to crack. - Set the vanity top on top of the vanity base, checking the location of the p-trap and drain. · Remove vanity top from vanity base. Apply a thin bead of silicone around the vanity base and set the vanity top carefully in place.
- Remove excess silicone with a wet cloth.



ONE YEAR LIMITED WARRANTY
1-434-MADISON (623-4766)
19 Stults Road Dayton,
NJ 08810 www.swissmadison.com
Swiss Madison® products are made with quality materials and excellent craftsmanship to provide our customers with beautiful, durable, long-lasting products. Should there be any defects in materials or craftsmanship under regular use that are discovered within the first year of installation, Swiss Madison® will provide replacement parts at no charge, or at its discretion, replace any product or part of the product that is deemed defective, under normal installation, use, service or maintenance. This warranty applies only to the original purchaser. Proof of purchase will be required in the instance of a claim.
Swiss Madison® recommends all installations of Swiss Madison® products to be conducted by a licensed, professional plumber or contractor. Swiss Madison® will not be held responsible for any damage or product failure due to improper installation, misuse, or failure to utilize a licensed professional for installation. Swiss Madison® is not responsible for any installation or removal costs.
This One Year Limited Warranty Will Be Voided If:
- The installation recommendations were not followed by the installer
- The product has been moved from its initial place of installation
- The product has in any way been modified from its packaged state
- The product has been subjected to improper maintenance, abuse, misuse, excessive use of chemicals, accidents, or other damages, etc.
Swiss Madison® makes no implication that its products comply with any local building or plumbing codes. It is the consumer’s responsibility and obligation to determine local code compliance prior to and during installation. This warranty extends only to the original purchaser and first consumer.
Swiss Madison® is not responsible for any special, incidental or consequential damages associated with the installation, replacement, return or use of the original purchaser’s product. This includes, but is not limited to: freight costs, labor, travel time, lost profit, home damages and other contingent liabilities and costs (including, without limitation, costs associated with `professionals’ or `experts’, investigations, audits, analyses, attorneys and any other professional/hired services).
The Swiss Madison® warranty is a comprehensive and explicit limit of liability. All items not disclosed within the warranty are not addressable within the responsibility of Swiss Madison®. Certain states have variances regarding implied warranties; in those situations, we remain fully compliant.
If you have any questions or concerns, please contact us directly at 1-434-MADISON (623-4766)
WARNING: Contents of your order may contain sharp and possibly other harmful pieces and may cause hazard to children and adults. Swiss Madison® is not responsible in any way for personal damages.

























































