KOHLER EVOK Acrylic Bath

INSTALLATION INSTRUCTIONS
FREESTANDING BACK-TO-WALL BATH 22160A-0 / 22161A-0
BEFORE YOU BEGIN
- Please read these instructions carefully to familiarize yourself with the required tools, materials, and installation sequences. Follow the sections that pertain to your particular installation. This will help you avoid costly mistakes. In addition to proper installation, read all operating and safety instructions. All information is based on the latest product information available at the time of publication. Kohler NZ Ltd. reserves the right to make changes in product characteristics, packaging, or availability at any time without notice. These instructions contain important information
- Please leave these instructions for the consumer. Please provide adequate available space for the bath unit in accordance with rough-in. Arrange the location of drain in advance.
IMPORTANT:
All installations must comply with council and local authority by-laws. It is the responsibility of the installer to ensure that the waste is made watertight by means of silicone sealant or caulking compound.
NOTE: Bath can be installed after the wall is completed. Bath drain supplies should be arranged preliminarily according to the selected bath.
PRODUCT REQUIREMENTS
A. Summary Of Key Requirements
- Observe all local plumbing codes.
- Install the unit to a level subfloor.
B. Plumbing Specifications
- If using a rim-mounted bath faucet, flexible connections between the valves and spout may be required.
- Confirm adequate mounting, and connection space of the specified faucet for your installation.
C. Product Inspection
Uncrate and inspect the bath for damage. All Kohler’s baths have been manufactured with sophisticated craftsmanship. However, please inspect for any possible damage that may have occurred in transit. Leave all materials in the carton during construction to prevent damage.
NOTE: Damage that occurred during transit shall not be covered by warranty.
D. New or Replacement Installation Requirements
This bath can be installed in new or existing bathrooms. For replacement: Remove the old bath, and remove enough old wall material and floor covering from the area to allow for installation. Remove any old plumbing that does not conform to the rough-in requirements. For new installation: Position the plumbing according to the rough-in dimensions. Cap the supplies, and check for leaks.
E. Dimensions (unit: mm)

| Evok 1500 BTW Bath | Evok 1700 BTW Bath | |
| Weight | 33 Kg | 37 Kg |
| Water depth to overflow | 423 mm | 423 mm |
| Capacity | 211 L | 240 L |
| Bathing area | 927mm x 465mm | 1050mm x 465mm |
| Top area | 1397mm x 638mm | 1583mm x 638mm |
INSTALLATION REQUIREMENTS
A. Tools Required
- Adjustable pipe wrench Ruler
- Level
- Safety shoes
- Safety glasses
- Square
- Screwdriver
- Pliers
- Utility knife
- Adjustable wrench
B. Materials Required
- Plumbers putty
- Wall coverings(as necessary)
- Silicone sealant
- Gypsum cement(optional)
- Construction adhesive (optional)
- Protective covering for bathtub
- Nails
- Timber blocks (for temporarily propping up the bath)
C. Installation Note:
Read the entire installation instruction manual supplied with this bath before beginning the installation. If installing a rim-mount faucet, make sure there is no interference with the drain overflow before drilling any holes.
D. Clearance Requirements
Check the rough-in and room dimensions to ensure there is adequate available space for the bath.
SITE REQUIREMENTS
A. Preparation
Check the flooring under the bath, and make repairs as necessary. Make sure the subfloor is level. It is strongly recommended to prepare a waterproof layer for the subfloor beforehand. It may be necessary to plan for a Subfloor.
BEFORE INSTALLING UNIT
A. Protect the Bath Unit
Position a protective covering underneath the bath and be careful not to scratch the bath surface.
INSTALLATION
Locate the bath in the proposed position
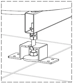
- With the bath in position, adjust the bath feet such that the bath is level and the base of the bath is 5mm from the finished floor.

IMPORTANT:
The bath must be installed such that it’s level on all top edges. The floor should be flat, level and free of any bumps or protrusions.
- Carefully shift the bath away from its position and mark out the clip positions with reference to the recommended distances shown below

- Fasten the supplied clips to the floor using the supplied screws. Each clip should be secured using 2 screws fixed diagonally as shown.

Plumbing Installation
- To connect the plumbing raise the freestanding bath off the floor by propping it up onto timber blocks positioned at either end of the bath. The Evok BTW Freestanding Bath is supplied with a pop-up waste system which has a DN40 outlet with BSP 1 1/2’’ thread. Connect the waste to an appropriate trap.
- After plumbing is complete and before lowering the bath check for leaks. Kohler NZ shall not be liable under its warranty for damage caused by negligence.
- Carefully lower the bath back onto the floor.
Note: Take care while maneuvering the bath not to damage the base of the bath and subfloor.
Securing the bath in position
Carefully shift the bath so that the bath feet slide into the mounting clips.
Note: Once the bath is in place, check that it is secure. If there is a loose connection between the clips and bath feet, remove the bath and adjust the nuts on the bath feet as necessary. Apply a thin continuous bead of clear or color-matched silicone sealant between the base of the bath and the finished floor. Leave the bath for a minimum of 24 hours to allow the silicone to cure.
CAUTION: Risk of property damage
- Ensure a watertight seal on the bath drain and plumbing.
- Install the faucet valve according to the faucet manufactuer’s instructions.
- Do not install the faucet trim until instructed.
- Turn on the hot and cold water supplies and check connections for leaks.
CLEANING AND CARE
- Use a mild detergent such as liquid dishwashing soap and warm water to clean the bath. Do not use abrasive cleaners that may scratch or dull the surface.
- Take care to read the label of cleaning products to ensure the cleaner is safe for use with acrylic material.
- Before using an intended cleaning product, test the cleaning solution on an inconspicuous surface.
- Do not allow cleaners to sit or soak into the surface of the bath.
- Wipe surfaces clean and rinse completely with water immediately after cleaner is applied.
- Use a soft dampened cloth or sponge. Never use an abrasive material such as a scouring pad to clean bath surfaces.
SERVICE PARTS

CONTACT AND WARRANTY INFORMATION
For spare parts and warranty information, please visit our website:
New Zealand www.kohler.co.nz
Australia www.kohler.com.au
- NEW ZEALAND KOHLER NZ LTD Ph: 0800 564 537
- Fx: 0800 664 488
- AUSTRALIA
- KOHLER AUSTRALIA
- Ph: 1 800 564 537























