036628 Multi cool 1300 Universal Cold Unit
Instruction Manual
MULTI COOL 500
MULTI COOL 1300
WARNING – SAFETY RULES
GENERAL INSTRUCTIONS
Read and understand the following safety recommendations before using or servicing the unit.
Any change or servicing that is not specified in the instruction manual must not be undertaken.
The manufacturer is not liable for any injury or damage caused due to non-compliance with the instructions featured in this manual. In the event of problems or uncertainties, please consult a qualified person to handle the installation properly.
ENVIRONMENT
This equipment must only be used for welding operations in accordance with the limits indicated on the descriptive panel and/or in the user manual.
The operator must respect the safety precautions that apply to this type of welding. In case of inadequate or unsafe use, the manufacturer cannot be held liable for damage or injury.
This equipment must be used and stored in a place protected from dust, acid, or any other corrosive agent. Operate the machine in an open, or well-ventilated area.
Operating temperature:
- Use between -10 and +40°C (+14 and +104°F).
- Store between -20 and +55°C (-4 and 131°F).
Air humidity:
- Lower or equal to 50% at 40°C (104°F).
- Lower or equal to 90% at 20°C (68°F).
Altitude:
- Up to 1000 meters above sea level (3280 feet).
PROTECTION OF THE INDIVIDUALS
Arc welding can be dangerous and can cause serious injury or even death.
Welding exposes the user to dangerous heat, arc rays, electromagnetic fields, the risk of electric shock, noise, and gas fumes. People wearing pacemakers are advised to consult a doctor before using the welding machine.
To protect oneself as well as others, ensure the following safety precautions are taken:
| In order to protect you from burns and radiation, wear clothing without turn-ups or cuffs. These clothes must be insulating, dry, fireproof, in good condition, and cover the whole body. | |
| Wear protective gloves which guarantee electrical and thermal insulation. | |
| Use sufficient welding protective gear for the whole body: hood, gloves, jacket, trousers… (varies depending on the application/operation). Protect the eyes during cleaning operations. Contact lenses are prohibited during use. It may be necessary to install fireproof welding curtains to protect the area against arc rays, weld spatter, and sparks. Inform the people around the working area to never look at the arc or the molten metal, and to wear protective clothing. | |
| Ensure ear protection is worn by the operator if the work exceeds the authorized noise limit (the same applies to any person in the welding area). Keep hands, hair, and clothes away from moving parts such as fans, and engines. Never remove the safety covers from the cooling unit when the machine is plugged in. The manufacturer is not liable for any injury or damage caused due to non-compliance with the safety precautions. | |
![]() | Parts that have just been welded will be hot and may cause burns when touched. When servicing the torch or electrode holder, make sure that it is cold enough by waiting at least 10 minutes before doing so. When using a water-cooled torch, make sure that the cooling unit is switched on to avoid any burns that could potentially be caused by the liquid. It is important to secure the working area before leaving it to ensure the protection of the goods and the safety of people. |
WELDING FUMES AND GAS
The fumes, gases, and dust produced during welding are hazardous. It is mandatory to ensure adequate ventilation and/or extraction to keep fumes and gases away from the work area. An air-fed helmet is recommended in cases of insufficient air supply in the workplace.
Check that the air intake is in compliance with safety standards.
Care must be taken when welding in small areas, and the operator will need supervision from a safe distance. Welding certain pieces of metal containing lead, cadmium, zinc, mercury, or beryllium can be extremely toxic. The user will also need to degrease the workpiece before welding. Gas cylinders must be stored in an open or ventilated area. The cylinders must be in a vertical position secured to support or trolley.
Do not weld in areas where grease or paint is stored.
FIRE AND EXPLOSION RISKS
Protect the entire welding area. Compressed gas containers and other inflammable material must be moved to a minimum safe distance of 11 meters.
A fire extinguisher must be readily available.
Be careful of spatter and sparks, even through cracks. It can be the source of a fire or an explosion.
Keep people, flammable objects, and containers under pressure at a safe distance.
Welding of sealed containers or closed pipes should not be undertaken, and if opened, the operator must remove any inflammable or explosive materials (oil, petrol, gas…).
Grinding operations should not be directed towards the device itself, the power supply, or any flammable materials.
ELECTRIC SAFETY
The machine must be connected to an earthed electrical supply. Use the recommended fuse size.
An electrical discharge can directly or indirectly cause serious or deadly accidents.
Do not touch any live part of the machine (inside or outside) when it is plugged in (Torches, earth cable, cables, electrodes) because they are connected to the welding circuit.
Before opening the device, it is imperative to disconnect it from the mains and wait 2 minutes, so that all the capacitors are discharged.
Do not touch the torch or electrode holder and earth clamp at the same time.
Damaged cables and torches must be changed by a qualified and skilled professional. Make sure that the cable cross-section is adequate with the usage (extensions and welding cables). Always wear dry clothes in good condition, in order to be insulated from the electrical circuit. Wear insulating shoes, regardless of the environment in which you work.
CLASSIFICATION
This equipment is Class B.
This equipment complies with the IEC 61000-3-12 standard.
This equipment complies with the IEC 61000-3-11 standard.
RECOMMENDATIONS TO ASSES THE AREA AND WELDING INSTALLATION
Overview
The user is responsible for installing and using the arc welding equipment in accordance with the manufacturer’s instructions. If electromagnetic disturbances are detected, it is the responsibility of the user of the arc welding equipment to resolve the situation with the manufacturer’s technical assistance. In some cases, this remedial action may be as simple as earthing the welding circuit. In other cases, it may be necessary to construct an electromagnetic shield around the welding power source and around the entire piece by fitting input filters. In all cases, electromagnetic interferences must be reduced until they are no longer bothersome.
Welding area assessment
Ce Before installing the machine, the user must evaluate the possible electromagnetic problems that may arise in the area where the installation is planned.
In particular, it should consider the following:
a) the presence of other power cables (power supply cables, telephone cables, command cables, etc…)above, below, and on the sides of the arc welding machine.
b) television transmitters and receivers ;
c) computers and other hardware;
d) critical safety equipment such as industrial machine protections;
e) the health and safety of the people in the area such as people with pacemakers or hearing aids;
f) calibration and measuring equipment
g)The isolation of the equipment from other machinery.
The user will have to make sure that the devices and equipment that are in the same room are compatible with each other. This may require extra precautions;
h) make sure of the exact hour when the welding and/or other operations will take place.
The surface of the area to be considered around the device depends on the building’s structure and other activities that take place there. The area taken into consideration can be larger than the limits determined by the companies.
Welding area assessment
Besides the welding area, the assessment of the arc welding systems installation itself can be used to identify and resolve cases of disturbances. The assessment of emissions must include in situ measurements as specified in Article 10 of CISPR 11: 2009. In situ measurements can also be used to confirm the effectiveness of mitigation measures.
RECOMMENDATION ON METHODS OF ELECTROMAGNETIC EMISSIONS REDUCTION
a. National power grid: The arc welding machine must be connected to the national power grid in accordance with the manufacturer’s recommendation. If interferences occur, it may be necessary to take additional preventive measures such as the filtering of the power supply network.
Consideration should be given to shielding the power supply cable in a metal conduit. It is necessary to ensure the shielding’s electrical continuity along the cable’s entire length. The shielding should be connected to the welding current’s source to ensure good electrical contact between the conduct and the casing of the welding current source.
b. Maintenance of the arc welding equipment: The arc welding machine should be submitted to a routine maintenance check according to the manufacturer’s recommendations. All accesses, service doors, and covers should be closed and properly locked when the arc welding equipment is on. The arc welding equipment must not be modified in any way, except for the changes and settings outlined in the manufacturer’s instructions.
The spark gap of the arc start and arc stabilization devices must be adjusted and maintained according to the manufacturer’s recommendations.
c. Welding cables: Cables must be as short as possible, close to each other, and close to the ground, if not on the ground.
d. Electrical bonding: consideration should be given to bonding all metal objects in the surrounding area. However, metal objects connected to the workpiece increase the risk of electric shock if the operator touches both these metal elements and the electrode. It is necessary to insulate the operator from such metal objects.
e. Earthing of the welded part: When the part is not earthed – due to electrical safety reasons or because of its size and its location (which is the case with ship hulls or metallic building structures), the earthing of the part can, in some cases but not systematically, reduce emissions It is preferable to avoid the earthing of parts that could increase the risk of injury to the users or damage other electrical equipment. If necessary, it is appropriate that the earthing of the part is done directly, but in some countries that do not allow such a direct connection, it is appropriate that the connection is made with a capacitor selected according to national regulations.
f. Protection and plating: The selective protection and plating of other cables and devices in the area can reduce perturbation issues. The protection of the entire welding area can be considered for specific situations.
TRANSPORTATION OF THE MACHINE
It is preferable to drain the cooling unit before transport.
Do not place/carry the unit over people or objects.
INSTALLATION
- Put the machine on the floor (maximum incline of 10°.)
- Ensure the work area has sufficient ventilation for welding, and that there is easy access to the control panel.
- The machine must be placed in a sheltered area away from rain or direct sunlight.
- The machine must not be used in an area with conductive metal dust.
- The MULTI COOL 500 machine protection level is IP21, which means :
– Protection against access to dangerous parts from solid bodies of a ≥12.5mm diameter and,
– Protection against vertically falling drops - The MULTI COOL 1300 machine protection level is IP23S, which means :
– Protection against access to dangerous parts from solid bodies of a ≥12.5mm diameter and,
– Protection against the rain inclined at 60% towards the vertical.
These devices can be used outside in accordance with the IP23S protection index.
The manufacturer does not incur any responsibility regarding damages to both objects and persons that result from an incorrect and/or dangerous use of the machine.
The power cables, extensions, and welding cables must be fully uncoiled to prevent overheating.
MAINTENANCE / RECOMMENDATIONS
- Maintenance should only be carried out by a qualified person. Annual maintenance is recommended.
- Ensure the machine is unplugged from the mains, and wait for two minutes before carrying out maintenance work. DANGER High Voltage and Currents inside the machine.
- Remove the casing 2 or 3 times a year to remove any excess dust. Take this opportunity to have the electrical connections checked by a qualified person, with an insulated tool.
- Regularly check the condition of the power supply cable. If the power cable is damaged, it must be replaced by the manufacturer, its after-sales service, or an equally qualified person.
- Ensure the ventilation holes of the device are not blocked to allow adequate air circulation.
The cooling liquid must be changed every 12 months in order to avoid sediments that could block the torch cooling circuit.
Any leak or residual fluid, after use, must be handled within the appropriate purification factory. If possible, recycle the product. It is prohibited to empty the product in a river, a skeptic tank, or a draining system. The diluted fluid must not be emptied into the sewers unless authorized by the local regulations.
INSTALLATION – PRODUCT OPERATION
Only qualified personnel authorized by the manufacturer should perform the installation of the welding equipment. During the installation, the operator must ensure that the machine is disconnected from the mains.
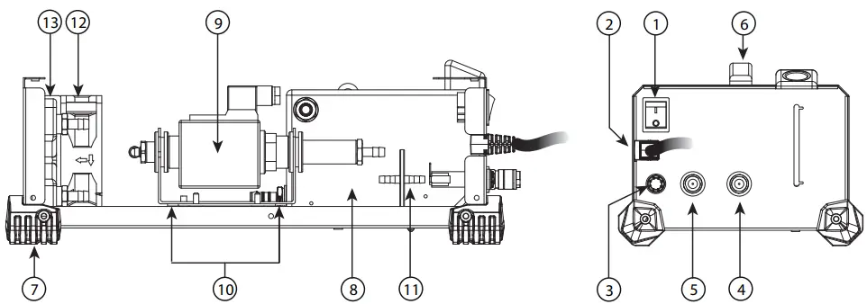
EQUIPMENT DESCRIPTION (FIG-1)
The MULTI COOL cooling unit is a system designed to cool the water-cooled torches connected to all types of welding machines (MIG/MAG and TIG). This device is autonomous and has its own power supply.
The MULTI COOL 1300 is equipped with water flow protection to protect the torch against a plug on the water circuit or deterioration of the torch beam.
| 1- Water inlet 2- Water outlet 3- ON/OFF button 4- Filling cap | 5- Flow sensor connector (MULTI COOL 1300 only) 6- Tank level indicator 7- Power supply cable 8- Fuse |
POWER SUPPLY
This machine is fitted with a 16A socket type CEE7/7 which must be connected to a single-phase 230V (50 – 60 Hz) power supply fitted with three wires and one earthed neutral. The absorbed effective current (I1eff) is indicated on the machine, for optimal use.
Check that the power supply and its protection (fuse and/or circuit breaker) are compatible with the current needed by the machine.
In some countries, it may be necessary to change the plug to allow the use at maximum settings.
STARTUP
- Fill the tank (see «Cooling liquid» section below).
- Connect the torch to the Multi cool.
- Connect the MULTI COOL power supply cable to a single-phase 230V +/- 15% (50 – 60 Hz) power supply WITH earth. This machine must only be used with a single phase electricity supply system with three wires and one earthed neutral The absorbed effective current (I1eff) is indicated on the machine, for optimal use. Check that the power supply and its protection (fuse and/or circuit breaker) are compatible with the current needed by the machine.
- Turn on the MULTI COOL with the ON/OFF button located on the front of the machine.
- After 1 minute, check the coolant level and fill if necessary.
COOLANT
Make sure that the cooling unit is turned off before disconnecting the liquid inlet and/or outlet hoses of the torch. The coolant is harmful and irritates the eyes, the mucous membranes, and the skin. Hot liquid may cause burns.
Risk of burns due to hot liquid Never drain the cooling unit immediately after use. The liquid contained inside is boiling, wait until it cools down before draining.
| FILLING | |
![]() | The operator must fill the tank up to its maximum indicated on the front of the cooling unit but never under the minimum line or a warning message will be displayed on the screen. It is essential to use a specific cooling liquid for welding machines with low electrical conductivity, and with anti-corrosion and antifreeze properties (ref. 052246). The use of any other coolant (in particular the automotive standard coolant), can lead, by electrolysis effect, to the accumulation of solid deposits in the cooling system, thus damaging it and also blocking the circuit. This recommended MAX level is essential to optimize the duty cycle of the water-cooled torch associated with it. Any damage to the machine caused by the use of a coolant other than the recommended type will not be considered under the warranty. |
INITIATING THE COOLANT CIRCULATION
When using the product for the first time or after completely emptying the coolant tank, the following procedure must be followed to start the circulation:
- Fill the tank to its maximum level with coolant.
- Connect the coolant starting kit to the cold liquid connector on the unit (blue connector). Place the other end of the kit in an empty container.
- Switch on the liquid pump. To activate it, depending on the product, it will be necessary to connect a torch and then push the trigger, or simply turn on the device.
- The pump should start instantly and the liquid should flow into the container. If the pump still does not start, cut off its supply, inject compressed air into the starting kit to remove the liquid from the pipes, and then restart the pump.
- Once the liquid starts flowing, the pump is running. Turn off the unit, disconnect the starting kit, refill the coolant in the tank and connect your system to the liquid connectors on the unit. Your cooling unit is ready to be operated.
FLOW SENSOR WIRING – MULTI COOL 1300 ONLY (EXAMPLE WITH A MIG TORCH)
WARRANTY
The warranty covers faulty workmanship for 2 years from the date of purchase (parts and labor).
The warranty does not cover:
- Transit damage.
- Normal wear of parts (eg. : cables, clamps, etc..).
- Damages due to misuse (power supply error, dropping off equipment, disassembling).
- Environment-related failures (pollution, rust, dust).
In case of failure, return the unit to your distributor together with:
– The proof of purchase (receipt etc …)
– A description of the fault reported
FIG-1
SPARE PARTS
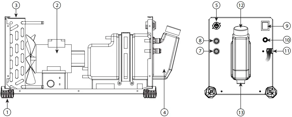
MULTICOOL 500

| 1 | ON/OFF button | 52460 |
| 2 | Power supply cable | 21487 |
| 3 | Fuse holder | 51387 |
| Fuse | 51330 | |
| 4 | Water outlet | 71694 |
| 5 | Water inlet | 71695 |
| 6 | Retractable handle | 72125 |
| 7 | Pad | 56120 |
| 8 | 1.5 L tank | M0228 |
| 9 | Membrane pump | 71772 |
| 10 | Silent block | 71136 |
| 11 | Vibration absorber | 71966 |
| 12 | Fan | 51030 |
| 13 | Water radiator | 71751 |
MULTICOOL 1300

| 1 | Pad | 56120 |
| 2 | 8 L/min pump with integrated fan | 71793 |
| 3 | Water radiator | 71779 |
| 4 | 7 L tank | 71794 |
| 5 | Flow sensor connector | 51126 |
| 6 | Water flow sensor | 71795 |
| 7 | Water inlet | 71695 |
| 8 | Water outlet | 71694 |
| 9 | ON/OFF button | 52460 |
| 10 | Fuse holder | 51387 |
| 11 | Power supply cable | 21519 |
| 12 | Filling cap | 71800 |
| 13 | Drain plug | 71801 |
| Fuse | 51330 |
TECHNICAL SPECIFICATIONS
| COOLING UNIT | MULTI COOL500 | MULTI COOL1300 |
| Primary | ||
| Power supply voltage | 230 V +/- 15% | |
| Mains frequency | 50 / 60 Hz | |
| Fuse | 1.6 A | |
| Cooling power at 1l/min at 25°C | 465 W | 1 300 W |
| Correction factor at 40°C | 0.574 | – |
| Maximum pressure | 0.6 MPa | 0.28 MPa |
| Tank capacity | 1.5 L (0.4 gal) | 7 L (1.85 gal) |
| Maximum flow | 6 L/min (1.6 gal/min) | |
| Functioning temperature | -10° → +40°C | |
| Storage temperature | -20° → +55°C | |
| Protection level | IP21 | IP23S |
| Dimensions (LxWxH) | 47 x 24 x 15.5 cm | 70 x 29 x 39 cm |
| Weight | 8 kg | 19 kg |
SYMBOLS
| Warning! Read the user manual before use. | |
| Single phase power supply 50 or 60 Hz | |
| U1 | Assigned voltage |
| Hz | Hertz |
| U1 | Assigned voltage |
| V | Volt |
| I1max | Maximum-rated power supply current (effective value). |
| A | Amperes |
| Cooling unit system | |
| P 1L/min | Cooling capacity for 1 liter per minute |
| kW | Kilowatt |
| Pmax | Maximum outlet pressure |
| MPa | Megapascal |
| Fuse | |
| Cooling liquid input. | |
| Cooling liquid output. | |
| MAX | Maximum coolant level |
| MIN | Minimum coolant level |
| The device complies with European directives, The EU declaration of conformity is available on our website (see cover page). | |
| Equipment in compliance with British requirements. The British Declaration of Conformity is available on our website (see home page). | |
| Equipment in conformity with Moroccan standards. The declaration Cم (CMIM) of conformity is available on our website (see cover page). | |
| IEC 60974-2 IEC 60974-10 Class A | The device is compliant with standard EN609742 and EN60971-10 class A devices. |
| This hardware is subject to the waste collection according to the European directives 2012/19/EU. Do not throw it out in a domestic bin! | |
| This product should be recycled appropriately | |
| EAEC Conformity marking (Eurasian Economic Community). | |
| Temperature information (thermal protection) | |
| On (power on) / Off (power off) | |
| IP23S | Protected against access to dangerous parts of solid bodies with diam >12.5 mm and protected against rain directed at 60° to the vertical when the moving parts of the device are not yet in operation. |
| IP21 | Protected against access to dangerous parts of solid bodies with a diameter >12.5mm (equivalent to the finger of the hand) and against vertical drops of water. |
GYS SAS
1, rue de la Croix des Landes
CS 54159
53941 SAINT-BERTHEVIN Cedex
FRANCE



















