ecler NIMBO-24 Top Performance Cabinet Loudspeaker User Manual
PRECAUTIONS
Important Remark
![]()
CAUTION
RISK OF ELECTRIC SHOCK DO NOT OPEN
WARNING: SHOCK HAZARD – DO NOT OPEN
AVIS: RISQUE DE CHOC ELECTRIQUE – NE PAS OUVRIR
The lightning flash with arrowhead symbol, within an equilateral triangle, is intended to alert the user to the presence of uninsulated “dangerous voltage” within the product’s enclosure that may be of sufficient magnitude to constitute a risk of electric shock to persons.
The exclamation point within an equilateral triangle is intended to alert the user to the presence of important operating and maintenance (servicing) instructions in the literature accompanying the appliance.
WARNING (If applicable): The terminals marked with symbol of “ ” may be of sufficient magnitude to constitute a risk of electric shock. The external wiring connected to the terminals requires installation by an instructed person or the use of ready-made leads or cords.
WARNING: To prevent fire or shock hazard, do not expose this equipment to rain or moisture.
WARNING: A device with Class I construction shall be connected to a mains socket-outlet with a protective earthing connection.

WARNING: This product must not be discarded, under any circumstance, as unsorted urban waste. Take to the nearest electrical and electronic waste treatment centre.
Important Safety Instructions
- Read these instructions.
- Keep these instructions.
- Heed all warnings.
- Follow all instructions.
- Do not use this device near water.
- Clean only with dry cloth.
- Do not block any ventilation openings. Install in accordance with the manufacturer’s instructions.
- Do not install near any heat sources such as radiators, heat registers, stoves, or other device (including amplifiers) that produce heat.
- Do not defeat the safety purpose of the polarized or grounding type plug. A polarized plug has two blades with one wider than the other. A grounding type plug has two blades and a third grounding prong. The wide blade or the third prong are provided for your safety. If the provided plug does not fit into your outlet, consult an electrician for replacement of the obsolete outlet.
- Protect the power cord from being walked on or pinched particularly at the plugs, convenience receptacles, and at the point where they exit from the device.
- Only use attachments/accessories specified by the manufacturer.
- Unplug the device during lightening sorts or when unused for long periods of time.
- Refer all servicing to qualified personnel. Servicing is required when the device has been damaged in any way, such as power supply cord or plug is damaged, liquid has been spilled or objects have fallen into the device, the device has been exposed to rain or moisture, does not operate normally, or has been dropped.
- Disconnecting from mains: When switching off the POWER switch, all the functions and light indicators of the unit will be stopped, but fully disconnecting the device from mains is done by unplugging the power cable from the mains input socket. For this reason, it always shall remain easily accessible.
- Equipment is connected to a socketoutlet with earthing connection by means of a power cord.
- The marking information is located at the bottom of the unit.
- The device shall not be exposed to dripping or splashing and that no objects filled with liquids, such as vases, shall be placed on device
Cleaning
Clean the unit with a soft, dry clean cloth or slightly wet with water and neutral liquid soap only, then dry it with a clean cloth. Be careful that water never gets into the unit through any hole. Never use alcohol, benzine, solvents or abrasive substances to clean this unit.
NEEC AUDIO BARCELONA, S.L. accepts no liability for any damage that may be caused to people, animal, or objects due to failure to comply with the warnings above.
Thank you for choosing our device Ecler NIMBO-24! We appreciate your trust.
It is VERY IMPORTANT to carefully read this manual and to fully understand its contents before any connection in order to maximize your use and get the best performance from this equipment.
To ensure optimal operation of this device, we strongly recommend that its maintenance be carried out by our authorised Technical Services.
Ecler NIMBO-24 comes with a 5-year warranty.
PACKAGE CONTENTS
- 1 x NIMBO-24 loudspeaker.
- 1 x VEASY wall bracket with vertical and horizontal adjustment (VESA compatible).
- 2x Euroblock.
- First Steps Guide.
- Warranty card.
DESCRIPTION & FEATURES
NIMBO-24 is a premium performance 2-way passive loudspeaker with 80W RMS power, in a compact size with extended low frequency response. Suitable for outdoor applications, with a cloud-inspired design, result of Ecler’s engineering skills and the collaboration of architects and interior designers.
Including 2 x 4″ woofers and a 1″ silk tweeter located in the acoustic centre, acting as a single point source to disperse the sound evenly.
The nominal impedance of the speaker can be selected to 4 ohm or 16 ohm thanks to the front switch located behind the logo, which allows to modify its impedance without removing the aluminium front grille.
It includes the robust VEASY wall bracket, allowing tilt and pan adjustment using a single screw.
Main Features
- 2-way passive loudspeaker for surface and ceiling mounting.
- 2x 4″ woofers with 4-layer voice coil improves power handling and low frequency response.
- 1″ silk tweeter with neodymium magnet and ferrofluid.
- Glass-fibre reinforced ABS non resonant compact enclosure.
- Wide dispersion pattern.
- VEASY bracket compatible with VESA 75 included. Quick and easy to install, including jumps and markings for repeating speaker orientation.
- Weather-protected with an IP-44 rating.
- Available in white, black and gold colour.
- RAL paint customization available.
CONNECTIONS
The connection cables which connect the amplifiers output and the speaker should be of good quality, have sufficient conductor area and be as short as possible. The latter fact is especially important when the distance is long and the load impedance low (4-16 Ω). A cross-section of at least 2.5mm2 is recommended for distances up to 10m; 4 or 6mm2 for longer distances. Following formula gives the required section, assuming 4% losses:
Cross section in mm2 = Length in m
Loudspeaker impedance in Ω
Always respect the polarity. The loudspeaker has an INPUT Euroblock connector, and a second STACK Euroblock connector thereby facilitating the parallel connection of speaker.
See detailed connections diagram on next page.
Connections Diagram


IMPEDANCE SELECTOR
NIMBO-24 works in low impedance operation. In this matter, it has a 2-position switch on its front panel (behind the logo) that allows to select its working mode without removing the grill.

EQ SETTINGS
Download the Ecler Loudspeakers EQ Settings file ready to import in EclerNet Manager software.
RECOMMENDED AMPLIFIER
The output power of the recommended amplifier for NIMBO-24 is 150W RMS.
POSITIONING & INSTALLATION
Positioning
Consider following general rules.
Place the speaker on a solid and firm surface. No obstacles should stand between the enclosures and the audience. The high frequencies are very directive compared to the low frequencies, so that any obstacle will impair their response. In case large audiences must be addressed, a better long distance sound propagation will be achieved if the enclosures are flown high enough.
Download all EASE files by clicking on the image:
Installation
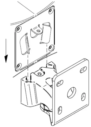
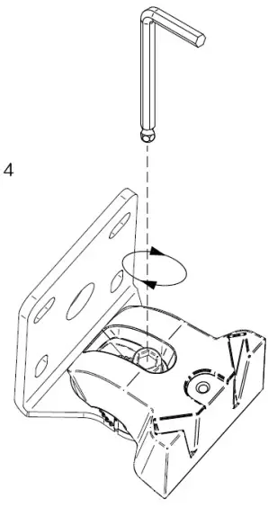
NIMBO loudspeaker include the VEASY wall bracket, VESA 75 compatible and easy to install. The robust VEASY wall bracket, allow tilt and pan adjustment using a single screw. Quick and easy to install, including jumps and markings for repeating speaker orientation.
See detailed installation diagram on next page
Installation Diagram
Mounting the VEASY wall bracket.








TECHNICAL DATA
Technical Specifications
| NIMBO-24 | |
| SYSTEM | |
| Effective Freq. Range1 | 62Hz-20kHz (-10dB) |
| Coverage angle2 | 165°x150° (HxV) |
| Power handling | 80 W RMS / 320 W Peak |
| Sensitivity3 | 84 dB (1W/1m) |
| Maximum SPL4 | 103 dB continuous / 109 dB peak |
| Recommended amplifier power | 150W RMS |
| TRANSDUCERS | |
| Ways | 2-ways full range |
| Low frequency driver | 2 x 4″ Woofer |
| High frecuency driver | 1″ Silk Dome Tweeter |
| Nominal impedance | 4Ω / 16Ω |
| FILTERS | |
| Crossover filter | 1,65 KHz |
| PHYSICAL | |
| Connection type | Double INPUT/LINK connector, Euroblock type |
| Power type selector | Front selection by toggle switch |
| Installation options | Surface / Wall mounting |
| Environmental | IP44 |
| Enclosure material | ABS reinforced with fibreglass |
| Grille material | Aluminium |
| Grille fixing system | Pressure mount system |
| Mounting system | Stainless Steel VEASY bracket |
| Operating temperature | Min: 0°C ; 32°FMax: 35°C ; 95°F |
| Operating humidity | <85% HR |
| Storage temperature | Min: -10°C ; 14°FMax: 50°C ; 122°F |
| Storage humidity | <90% HR |
| Finished colour | White (RAL9003), Black (RAL9005) orGold (RAL1036, approx.) |
| Dimensions (WxHxD) | 364 x 178 x 185 mm / 14.41 x 7 x 7.28 in. |
| Weight | 3 kg / 6.61 lb |
| Pieces per box | 1 |
| Shipping dimensions (WxHxD) | 450 x 310 x 300 mm / 17.71 x 12.20 x 11.81 in. |
| Shipping weight | 5.7 kg / 12.57 lb |
- below the sound pressure level at specified sensitivity.
- 6dB below the sound pressure level than that at the direction of maximum level, Max. angle between
- kHz and 4 kHz.
- Measured on-axis, far field and referenced to 1 meter by inverse square law. Average from 100 Hz to 10 kHz.
- Calculated from sensitivity and power handling specifications, exclusive of power compression
Mechanical Diagram
Measurements in mm.




All product characteristics are subject to variation due to production tolerances.
NEEC AUDIO BARCELONA S.L. reserves the right to make changes or improvements in the design or manufacturing that may affect these product specifications.
For technical queries contact your supplier, distributor or complete the contact form on our website, in Support/Technical requests.
Motors, 166‐168 | 08038 Barcelona, Spain | (+34) 932238403 | [email protected] | www.ecler.com



















