13NV PBS Belt Sander

Product Information
- Product Name: 10NV & 13NV
- Mirka Code: 8995101041, 8995101061, 8995103011, 8995121305, 8995103091, 8995121314, 8995103151, 8995103161, 8995104011, 8995121409, 8995122101, 8995111071, 8995111051, 8995111021, 8995113021, 8995114111, 8995114031, 8995114211, 8995111101, 8995114181, 8995122201, 8995122310, 8995122306
- Kit Quantity: varies based on the item description and part number
- Spare parts are only available to authorized repairers
- Repairs done by non-authorized repairers will breach the Mirka warranty
- Electrical tools must be serviced by a qualified repair person and in accordance with national requirements
Product Usage Instructions
- Refer to the exploded view diagrams for reference on the parts and their corresponding part numbers
- Consult the item description and part numbers to verify the required parts for replacement or repair
- Ensure that only authorized repairers replace spare parts to avoid breaching the Mirka warranty
- Follow national requirements and consult with a qualified repair person for servicing of electrical tools
- For specific usage instructions on the 10NV & 13NV products, refer to their respective product user manuals
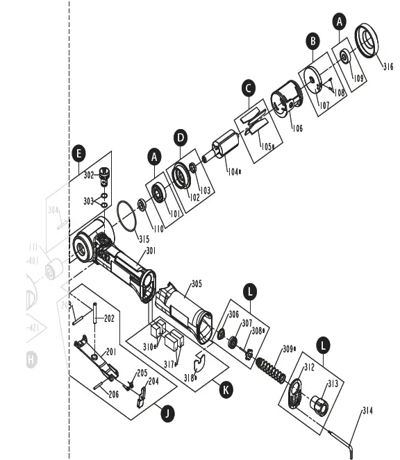
Exploded view
PBS10NV

Parts list – PBS10NV spareparts & accessories
| Mirka code Item Description Kit Quantity Part No | |||||||
| 101 | Bearing | A | 1 | MPP1101 | |||
| 102 | Front bearing plate | D | 1 | MPP1102 | |||
| 103 | Rotor washer | D | 1 | MPP1103 | |||
| 8995101041 | 104 | Rotor | 1 | MPP1104 | |||
| 105 | Vanes | C | 4 | MPP1105 | |||
| 8995101061 | 106 | Cylinder | 1 | MPP1106 | |||
| 107 | Rear end plate | B | 1 | MPP1107 | |||
| 108 | Spring pin | B | 2 | MPP1108 | |||
| 109 | Bearing | A | 1 | MPP1109 | |||
| 110 | Pin | I | 1 | MPP1110 | |||
| 111 | Drive pulley | I | 1 | MPP1111 | |||
| 112 | Lock nut | I | 1 | MPP1112 | |||
| 201 | Lever | K | 1 | MPP1201 | |||
| 202 | Valve stem | K | 1 | MPP1202 | |||
| 203 | Spring Pin | K | 1 | MPP1203 | |||
| 204 | Safety | K | 1 | MPP1204 | |||
| 205 | Compression spring | K | 1 | MPP1205 | |||
| 206 | Spring pin | K | 1 | MPP1206 | |||
| 8995103011 | 301 | Housing | 1 | MPP1301 | |||
| 302 | Speed valve | E | 1 | MPP1302 | |||
| 303 | O-Ring | E | 2 | MPP1303 | |||
| 304 | Spring Pin | E | 1 | MPP1304 | |||
| 8995121305 | 305 | Handle grip | 1 | MPP1305 | |||
| 306 | Seal bushing | M | 1 | MPP1306 | |||
| 307 | Seal | M | 1 | MPP1307 | |||
| 308 | Tip valve | M | 1 | MPP1308 | |||
| 8995103091 | 309 | Spring | 1 | MPP1309 | |||
| 310 | Muffler A | L | 2 | MPP1310 | |||
| 312 | Deflector | M | 1 | MPP1312 | |||
| 313 | Air inlet | M | 1 | MPP1313 | |||
| 8995121314 | 314 | Hex wrench 2 & 3mm | 1 | MPP1314 | |||
| 8995103151 | 315 | Front exhaust cover | 1 | MPP1315 | |||
| 8995103161 | 316 | O-ring | 1 | MPP1316 | |||
| 318 | Muffler B | L | 2 | MPP1318 | |||
| 319 | Muffler C | L | 1 | MPP1319 | |||
| 8995104011 | 401 | Guard unit | 1 | MPP1401 | |||
| 402 | Spring | G | 1 | MPP1402 | |||
| 403 | Tension arm | G | 1 | MPP1403 | |||
| 404 | Spring pin | G | 1 | MPP1404 | |||
| 405 | Spring | G | 1 | MPP1405 | |||
| 406 | Adjust arm | G | 1 | MPP1406 | |||
| 407 | Flat screw | G | 1 | MPP1407 | |||
| 408 | Idle pulley | G | 1 | MPP1408 | |||
| 8995121409 | 409 | Bearing 2/pack | G | 2 | MPP1409 | ||
| 410 | Pin | G | 1 | MPP1410 | |||
| 411 | Lock screw | F | 1 | MPP1411 | |||
| 412 | Pin | F | 1 | MPP1412 | |||
| 413 | Ball | F | 1 | MPP1413 | |||
| 414 | Location block | F | 1 | MPP1414 | |||
| 415 | Positioning spring | F | 1 | MPP1415 | |||
| 416 | Release switch | F | 1 | MPP1416 | |||
| 417 | Screw | F | 2 | MPP1417 | |||
| 418 | Screw | J | 1 | MPP1418 | |||
| 419 | Belt Support | J | 1 | MPP1419 | |||
| 420 | Protection | J | 1 | MPP1420 | |||
| 421 | Cover | H | 1 | MPP1421 | |||
| 422 | Screw | H | 1 | MPP1422 | |||
| 423 | Hand bolt | H | 1 | MPP1423 | |||
* Spare parts only available to authorized repairers.
NOTE! Repairs done by non-authorized repairer will breach the Mirka warranty.
Electrical tools must be serviced by a qualified repair person and in accordance with national requirements.
Parts list – PBS10NV kits
| Mirka code Item Description Kit Quantity Part No | |||||
| 8995122101 | End plate bearing kit | A | MPP8000 | ||
| 101 | Bearing | 1 | MPP1101 | ||
| 109 | Bearing | 1 | MPP1109 | ||
| 8995111071 | Rear end plate kit | B | MPP8001 | ||
| 107 | Rear end plate | 1 | MPP1107 | ||
| 108 | Spring pin | 2 | MPP1108 | ||
| 8995111051 | Vanes kit | C | MPP8002 | ||
| 105 | Vanes | 4 | MPP1105 | ||
| 8995111021 | Front bearing plate kit | D | MPP8003 | ||
| 102 | Front bearing plate | 1 | MPP1102 | ||
| 103 | Rotor washer | 1 | MPP1103 | ||
| 8995113021 | Speed valve kit | E | MPP8004 | ||
| 302 | Speed valve | 1 | MPP1302 | ||
| 303 | O-ring | 2 | MPP1303 | ||
| 304 | Spring pin | 1 | MPP1304 | ||
| 8995114111 | Belt tightening kit | F | MPP8005 | ||
| 411 | Lock screw | 1 | MPP1411 | ||
| 412 | Pin | 1 | MPP1412 | ||
| 413 | Ball | 1 | MPP1413 | ||
| 414 | Location block | 1 | MPP1414 | ||
| 415 | Positioning spring | 1 | MPP1415 | ||
| 416 | Release switch | 1 | MPP1416 | ||
| 417 | Screw | 2 | MPP1417 | ||
| 8995114031 | Tension arm kit | G | MPP8006 | ||
| 402 | Spring | 1 | MPP1402 | ||
| 403 | Tension arm | 1 | MPP1403 | ||
| 404 | Spring pin | 1 | MPP1404 | ||
| 405 | Spring | 1 | MPP1405 | ||
| 406 | Adjust arm | 1 | MPP1406 | ||
| 407 | Flat screw | 1 | MPP1407 | ||
| 408 | Idle pulley | 1 | MPP1408 | ||
| 409 | Bearing | 2 | MPP1409 | ||
| 410 | Pin | 1 | MPP1410 | ||
| 8995114211 | Belt cover kit | H | MPP8007 | ||
| 421 | Cover | 1 | MPP1421 | ||
| 422 | Screw | 1 | MPP1422 | ||
| 423 | Hand bolt | 1 | MPP1423 | ||
| 8995111101 | Drive pulley kit | I | MPP8008 | ||
| 110 | Pin | 1 | MPP1110 | ||
| 111 | Drive pulley | 1 | MPP1111 | ||
| 112 | Lock nut | 1 | MPP1112 | ||
| 8995114181 | Belt support & protection kit | J | MPP8009 | ||
| 418 | Screw | 1 | MPP1418 | ||
| 419 | Belt support | 1 | MPP1419 | ||
| 420 | Protection | 1 | MPP1420 | ||
| Mirka code Item Description Kit Quantity Part No | |||||
| 8995122201 | Lever kit | K | MPP8010 | ||
| 201 | Lever | 1 | MPP1201 | ||
| 202 | Valve stem | 1 | MPP1202 | ||
| 203 | Spring pin | 1 | MPP1203 | ||
| 204 | Safety | 1 | MPP1204 | ||
| 205 | Compression spring | 1 | MPP1205 | ||
| 206 | Spring pin | 1 | MPP1206 | ||
| 8995122310 | Muffler kit | L | MPP8011 | ||
| 310 | Muffler A | 2 | MPP1310 | ||
| 318 | Muffler B | 2 | MPP1318 | ||
| 319 | Muffler C | 1 | MPP1319 | ||
| 8995122306 | Air inlet kit | M | MPP8012 | ||
| 306 | Seal bushing | 1 | MPP1306 | ||
| 307 | Seal | 1 | MPP1307 | ||
| 308 | Tip valve | 1 | MPP1308 | ||
| 312 | Deflector | 1 | MPP1312 | ||
| 313 | Air inlet | 1 | MPP1313 | ||
PBS13NV


Parts list – PBS13NV spare parts & accessories
| Mirka code Item Description Kit Quantity Part No | |||||
| 101 | Bearing | A | 1 | MPP1101 | |
| 102 | Front bearing plate | D | 1 | MPP2102 | |
| 103 | Rotor washer | D | 1 | MPP1103 | |
| 8995131041 | 104 | Rotor | 1 | MPP2104 | |
| 105 | Vanes | C | 4 | MPP2105 | |
| 8995131061 | 106 | Cylinder | 1 | MPP2106 | |
| 107 | Rear end plate | B | 1 | MPP2107 | |
| 108 | Spring pin | B | 2 | MPP1108 | |
| 109 | Bearing | A | 1 | MPP1109 | |
| 8995131101 | 110 | Lock nut | 1 | MPP2110 | |
| 8995131111 | 111 | Drive pulley | 1 | MPP2111 | |
| 201 | Lever | J | 1 | MPP1201 | |
| 202 | Valve stem | J | 1 | MPP1202 | |
| 203 | Spring pin | J | 1 | MPP1203 | |
| 204 | Safety | J | 1 | MPP1204 | |
| 205 | Compression spring | J | 1 | MPP1205 | |
| 206 | Spring pin | J | 1 | MPP1206 | |
| 8995133011 | 301 | Housing | 1 | MPP2301 | |
| 302 | Speed valve | E | 1 | MPP2302 | |
| 303 | O-ring | E | 2 | MPP1303 | |
| 304 | Spring pin | E | 1 | MPP1304 | |
| 8995121305 | 305 | Handle grip | 1 | MPP1305 | |
| 306 | Seal bushing | L | 1 | MPP1306 | |
| 307 | Seal | L | 1 | MPP1307 | |
| 308 | Tip valve | L | 1 | MPP1308 | |
| 8995133091 | 309 | Spring | 1 | MPP2309 | |
| 310 | Muffler A | K | 2 | MPP1310 | |
| 312 | Deflector | L | 1 | MPP1312 | |
| 313 | Air inlet | L | 1 | MPP1313 | |
| 8995121314 | 314 | Hex wrench 2 & 3mm | 1 | MPP1314 | |
| 8995133151 | 315 | O-ring | 1 | MPP2315 | |
| 8995133161 | 316 | Front exhaust cover | 1 | MPP2316 | |
| 317 | Muffler B | K | 2 | MPP1318 | |
| 318 | Muffler C | K | 1 | MPP1319 | |
| 8995134011 | 401 | Guard unit | 1 | MPP2401 | |
| 402 | Spring | F | 1 | MPP2402 | |
| 403 | Post assembly | F | 1 | MPP2403 | |
| 404 | Latch spring bushing | F | 1 | MPP2404 | |
| 405 | Positioning shaft | F | 1 | MPP2405 | |
| 406 | Tension arm | F | 1 | MPP2406 | |
| 407 | Spring pin | F | 1 | MPP2407 | |
| 408 | Angle adjusting bolt | F | 1 | MPP2408 | |
| 409 | Spring | G | 1 | MPP2409 | |
| 410 | Adjusting arm | G | 1 | MPP2410 | |
| 8995134111 | 411 | Wear pad 2/pack | G | 2 | MPP2411 |
| Mirka code Item Description Kit Quantity Part No | |||||
| 412 | Pin | G | 1 | MPP2412 | |
| 8995121409 | 413 | Bearing 2/pack | G | 2 | MPP1409 |
| 414 | Idle pulley unit | G | 1 | MPP2414 | |
| 415 | Positioning spring | H | 1 | MPP2415 | |
| 416 | Tenon unit | H | 1 | MPP2416 | |
| 417 | Pin lock | H | 1 | MPP2417 | |
| 418 | Push lock | I | 1 | MPP2418 | |
| 419 | Screw | I | 1 | MPP2419 | |
| 420 | Cover | H | 1 | MPP2420 | |
| 421 | Spring pin | H | 1 | MPP2421 | |
* Spare parts only available to authorized repairers.
NOTE! Repairs done by non-authorized repairer will breach the Mirka warranty.
Electrical tools must be serviced by a qualified repair person and in accordance with national requirements.
Parts list – PBS13NV kits
| Mirka code Item Description Kit Quantity Part No | |||||
| 8995122101 | End plate bearing kit | A | MPP8000 | ||
| 101 | Bearing | 1 | MPP1101 | ||
| 109 | Bearing | 1 | MPP1109 | ||
| 8995141071 | Rear and plate kit | B | MPP8013 | ||
| 107 | Rear end plate | 1 | MPP2107 | ||
| 108 | Spring pin | 2 | MPP1108 | ||
| 8995141051 | Vanes kit | C | MPP8014 | ||
| 105 | Vanes | 4 | MPP2105 | ||
| 8995141021 | Front bearing plate kit | D | MPP8015 | ||
| 102 | Front bearing plate | 1 | MPP2102 | ||
| 103 | Rotor washer | 1 | MPP1103 | ||
| 8995143021 | Speed valve kit | E | MPP8016 | ||
| 302 | Speed valve | 1 | MPP2302 | ||
| 303 | O-ring | 2 | MPP1303 | ||
| 304 | Spring pin | 1 | MPP1304 | ||
| 8995144061 | Tension arm kit | F | MPP8017 | ||
| 402 | Spring | 1 | MPP2402 | ||
| 403 | Post assembly | 1 | MPP2403 | ||
| 404 | Latch spring bushing | 1 | MPP2404 | ||
| 405 | Positioning shaft | 1 | MPP2405 | ||
| 406 | Tension arm | 1 | MPP2406 | ||
| 407 | Spring pin | 1 | MPP2407 | ||
| 408 | Angle adjusting bolt | 1 | MPP2408 | ||
| 8995144101 | Adjusting arm kit | G | MPP8018 | ||
| 409 | Spring | 1 | MPP2409 | ||
| 410 | Adjusting arm | 1 | MPP2410 | ||
| 411 | Wear pad | 2 | MPP2411 | ||
| 412 | Pin | 1 | MPP2412 | ||
| 413 | Bearing | 2 | MPP1409 | ||
| 414 | Idle pulley unit | 1 | MPP2414 | ||
| 8995144201 | Belt cover & lock kit | H | MPP8019 | ||
| 415 | Positioning spring | 1 | MPP2415 | ||
| 416 | Tenon unit | 1 | MPP2416 | ||
| 417 | Pin lock | 1 | MPP2417 | ||
| 420 | Cover | 1 | MPP2418 | ||
| 421 | Spring pin | 1 | MPP2419 | ||
| 8995144181 | Angle locking kit | I | MPP8020 | ||
| 418 | Push lock | 1 | MPP2418 | ||
| 419 | Screw | 1 | MPP2419 | ||
| 8995122201 | Lever kit | J | MPP8010 | ||
| 201 | Lever | 1 | MPP1201 | ||
| 202 | Valve Stem | 1 | MPP1202 | ||
| 203 | Spring pin | 1 | MPP1203 | ||
| 204 | Safety | 1 | MPP1204 | ||
| 205 | Compression spring | 1 | MPP1205 | ||
| Mirka code Item Description Kit Quantity Part No | |||||
| 206 | Spring pin | 1 | MPP1206 | ||
| 8995122310 | Muffler kit | K | MPP8011 | ||
| 310 | Muffler A | 2 | MPP1310 | ||
| 317 | Muffler B | 2 | MPP1318 | ||
| 318 | Muffler C | 1 | MPP1319 | ||
| 8995122306 | Air inlet kit | L | MPP8012 | ||
| 306 | Seal bushing | 1 | MPP1306 | ||
| 307 | Seal | 1 | MPP1307 | ||
| 308 | Tip valve | 1 | MPP1308 | ||
| 312 | Deflector | 1 | MPP1312 | ||
| 313 | Air inlet | 1 | MPP1313 | ||
Declaration of conformity
| Mirka Ltd, 66850 Jeppo, Finland Declare under our sole responsibility that the Mirka® products (listed below and see “Technical data” table for particular model) to which this declaration relates are in conformity with the following standards or other normative documents: EN ISO 12100:2010, EN ISO 11148- 8:2011, EN ISO 15744:2008, EN ISO 20643:2008 + A1:2012 in accordance with the regulations 2006/42/EC . | ||||
| Products: Mirka® PBS 10NV & 13NV | ||||
| Manufacturer / Supplier | ||||
| Mirka Ltd | ||||
| Jeppo 21.12.2021 | 66850 Jeppo, Finland Tel. +358 20 760 2111 Fax +358 20 760 2290 | |||
| Place and date of issue | Company | Stefan Sjöberg, CEO | www.mirka.com | |
Original instructions. We reserve the right to make changes to this manual without prior notice.
Important
Read these safety and operating instructions carefully before installing, operating or maintaining this tool. Keep these instructions in a safe and accessible place. Read and comply with state and local regulations.
Required personal safety equipment
Symbols
| CE | Complies with EU relevant standards |
| UK CA | Complies with UK relevant regulations |
| EAC | Complies with Eurasian conformity requirements |
![]() | Complies with Serbian conformity requirements |
Warning: Potential hazardous situation that may result in death or serious injury and/or property damage. Caution: Potential hazardous situation that may result in minor or moderate injury and/or property damage.
Please read and comply with
- General Industry Safety & Health Regulations, part 1910, OSHA 2206, available from: Superintendent of Documents; Government Printing Office; Washington DC 20402
- Safety Code for Portable Air Tools, ANSI B186.1 available from: American National Standards Institute, Inc.; 1430 Broadway; New York, New York 10018
- State and local regulations
WARNING
- Always wear required personal safety protection in accordance with manufacturer’s instructions and local/national standards while using this tool.
- Do not use a power tool if you are tired or under the influence of drugs, alcohol or medication.
- Read the Materials Safety Data Sheet (MSDS) for the working surface.
- Use the tool with dust extraction. A suitable dust extraction unit will reduce hazardous dust.
- Do not overreach. Keep proper footing and balance at all times.
- Do not wear loose clothing or jewelry. Keep your hair, clothing and gloves away from moving parts.
- Loose clothes, jewelry or long hair can be caught in moving parts.
- If any physical hand/wrist discomfort is experienced, stop working and seek medical attention.
- Hand, wrist and arm injury may result from repetitive work, motion and overexposure to vibrations.
- Do not operate power tools in explosive atmospheres, such as in the presence of flammable liquids, gases or dust.
- The tool is not electrically insulated. Check work area for live electricity, gas pipes, etc. before operation.
CAUTION
- Prevent unintentional starting.
- Keep work area clean and well lit.
- Always ensure that the work piece to be sanded is firmly fixed.
- Before changing abrasive always disconnect the air supply.
Additional Safety Warnings
- Read all instructions before using this tool. All operators must be fully trained in usage and safety of this tool.
- All maintenance must be carried out by trained personnel. For service, contact Mirka authorized service center!
- Always wear required safety equipment (see warnings).
- The operator must be in a secure position and have a firm grip and footing on a solid floor.
- Check tool, hose and fittings regularly for wear.
- Always take care to ensure your safety at work; never carry, store or leave the tool unattended with the air supply connected.
- Do not exceed maximum recommended air pressure of 6.2 bar (90 psig).
- Take care to avoid entanglement of the moving parts of the tool with clothing, ties, hair, cleaning rags, etc.
- Keep hands clear of the rotating belt during use.
- If the tool appears to malfunction, remove from use immediately and arrange for service and repair.
Technical data
| Mirka® PBS 10NV 10 x 330 mm 13NV 12.7 x 457 mm | |||
| Belt size | 10 x 12 x 330 mm (3/8 x 1/2 x 13″) | 10 x 12 x 457 mm (3/8 x 1/2 x 18″) | |
| Product net weight | 0.81 kg (1.8 lbs) | 0.92 kg (2.0 lbs) | |
| Speed | 17.000 /min | 20.000 /min | |
| Sound pressure level (LpA) | 83.8 dB(A) | 85.7 dB(A) | |
| Soundpowerlevel (LWA) | 94.8 dB(A) | 96.7 dB(A) | |
| Power | 417.6 W | 522 W | |
| Air consumption | 610 lpm | 800 lpm | |
| Mirka® PBS 10NV 10 x 330 mm 13NV 12.7 x 457 mm | |||
| Vibration level * | 1.88 m/s2 | 1.04 m/s2 | |
| Vibration emission uncertainty K * | 0.68 m/s2 | 0.59 m/s2 | |
The noise test is carried out in accordance with EN ISO 15744:2008 – Hand-held non-electric power tools – Noise measurement code – Engineering method (grade 2).
The vibration test is carried out in accordance with EN ISO 20643:2008 – Mechanical Vibration – Hand-held and Hand-guided Machinery – Principles for Evaluation of Vibration Emission.
Specifications subject to change without prior notice. Model range may vary between markets.
- The values stated in the table are derived from laboratory testing in conformity with stated codes and standards and are not sufficient for risk evaluation. Values measured in a particular work place may be higher than the declared values. The actual exposure values and amount of risk or harm experienced by an individual are unique to each situation and depend upon the surrounding environment, the way the individual operates the machinery, the particular material being worked, work station design and the user’s exposure time and physical condition. Mirka Ltd accepts no responsibility for the consequences of using declared values instead of actual exposure values for any individual risk assessment.
Further occupational health and safety information can be obtained from the following websites: https://osha.europa.eu/en (Europe) or http://www.osha.gov (USA)
Proper use of tool
This tool is designed for sanding all types of materials i.e. metals, wood, stone, plastics, etc. using abrasive designed for this purpose. Do not use this tool for any other purpose than specified, without consulting your Mirka dealer.
Work stations
The tool is intended to be operated as a hand-held tool. It is always recommended that the tool should be used when standing on a solid floor. It can be in any position but before any such use, the operator must be in a secure position, having a firm grip and footing and be aware that the sander can develop a torque reaction. See the section “Operating instructions”.
Operating instructions
When unpacking the tool, make sure it is intact, complete and has not been damaged in transport. Never use a damaged tool.
Use a clean lubricated air supply that will give a measured air pressure at the tool of 6.2 bar (90 psig) when the tool is running with the lever fully pressed. It is recommended to use an approved 10 mm (3/8″) x 8 m (25 ft) maximum length air hose. The tool should be connected to the air supply as shown in Figure 1.
Do not connect the tool to the compressed air system without incorporating an easy to reach and operate air shutoff valve. It is strongly recommended that an air filter, regulator and lubricator (FRL) are used as shown in Figure 1 as this will supply clean, lubricated air at the correct pressure to the tool. Details of such equipment can be obtained from your supplier. If such equipment is not used the tool should be manually lubricated.
To manually lubricate the tool, disconnect the air hose and put 2 to 3 drops of supplied oil or Wurth art. no. 08930505 into the air connection on the tool. Reconnect the tool to the air supply and run the tool slowly for a few seconds to allow air to circulate the oil. If the tool is used frequently, lubricate it on a daily basis.
It is recommended that the air pressure at the tool is 6.2 bar (90 psig) while the tool is running. The tool can run at lower pressures but never higher than 6.2 bar (90 psig).

Maintenance
Always disconnect the air supply before maintenance! Only use original Mirka spare parts!
Replacing the belt PBS 10
- Disconnect the air supply.
- Push the tension arm towards the steel protect cover to release the lock function. See Figure 2.
- Open the steel protect cover by loosening the cover knob.
- Change the belt, make sure that the belt is centered
- Close the steel protect cover by tightening the cover knob
- Press the lock function on the tension arm towards the steel cover to engage tension. See Figure 3.
Example

Replacing the belt PBS 13
- Disconnect the air supply.
- Push the plate to open the protect cover.
- Keep the plate compressed in order to change the belt, make sure that the belt is centered.
- Release the push plate to engage tension.
- Close the steel protect cover.
Further service
Servicing must always be performed by trained personnel. To keep the tool warranty valid and ensure optimal tool safety and function, servicing must be carried out by a Mirka authorized service center. To locate your local Mirka authorized service center, contact Mirka Customer Service or your Mirka dealer.
Troubleshooting guide
| Symptom | Possible cause | Solution |
| Low power and/ or low free speed. | Speed control set to low speed. | Turn the speed control to desired speed. |
| Low air pressure. | Check air supply (according to operat- ing instructions). | |
| Plugged air inlet screen. | Clean or replace the screen. | |
| Internal air leakage in the motor housing. | Check motor assembly and alignment. Check air inlet O-ring alignment on motor assembly. | |
| Worn or broken vanes. | Install a complete set of new vanes and rotor. | |
| Housing cracked or damaged. | Contact Mirka authorized service centre. | |
| Air leakage at the speed control. | Dirty, broken or bent valve spring, valve or valve seat. | Disassemble, inspect and replace worn or damaged parts. |
| Incorrect assembly of air valve. | Remove air inlet connection and reas- semble the air valve, with the valve stem in its upper position. | |
| Vibration / rough operation. | Worn or broken motor bearing(s). | Replace the worn or broken bearings. |
| Low motor speed. | Increase motor speed with flow regulator, max 6.2 bar (90 psig). |
Declaration of conformity
| Mirka Ltd, 66850 Jeppo, Finland Declare under our sole responsibility that the Mirka® products (listed below and see “Technical data” table for particular model) to which this declaration relates are in conformity with the following standards or other normative documents: BS EN ISO 12100:2010, BS EN ISO 11148-8:2011, BS EN ISO 15744:2008, BS EN ISO 20643:2008 + A1:2012 in accordance with the regulations Supply of Machinery (Safety) Regulations 2008. | ||
| Products: Mirka® PBS 10NV & 13NV | ||
| Jeppo 21.12.2021 Place and date of issue | Company | Stefan Sjöberg, CEO |
| Manufacturer / Supplier Mirka Ltd Tel. +358 20 760 2111 | Importer Information Mirka (UK) Ltd Saxon House Shirwell Crescent Furzton Lake Milton Keynes MK4 1GA | |
This chapter is an addition to the English language chapter of the manual in order to fulfill the UKCA regulation requirements. Please refer to the English language chapter for more information about your product.
Mirka Ltd
Finland
Brazil Mirka Brasil Ltda.
Belgium Mirka Belgium Logistics NV Canada Mirka Canada Inc.
China Mirka Trading Shanghai Co., Ltd Finland & Baltics Mirka Ltd
France Mirka France Sarl
Germany Mirka GmbH
India Mirka India Pvt Ltd
Italy Mirka Italia s.r.l., Cafro S.p.A.
Mexico Mirka Mexicana S.A. de C.V.
Russia Mirka Rus LLC
Singapore Mirka Asia Pacific Pte Ltd
Spain Mirka Ibérica S.A.U.
Sweden Mirka Scandinavia AB
Turkey Mirka Turkey Zımpara Ltd Şirketi United Kingdom Mirka (UK) Ltd
United Arab Emirates Mirka Middle East FZCO USA Mirka USA Inc.
For contact information, please visit www.mirka.com
















