GEONFINO G5 Keyless Entry Door Lock with Electronic Keypad

Installation Guide
What is inside
- Latch

- Keypad

- Battery Cover

- Interior Assembly

- Mounting Plate

- Strike

- Strike Box

- Interior Assembly Screws

- Mounting Plate Screws

- Latch / Strike Screws

- RFID Card

- Keys

Prepare the Door and Check Dimensions
- Measure to confirm that the backset is either 2-3/8″ or 2-3/4″ (60 or 70 mm).

- Measure to confirm that the hole in the door edge is 1″(25mm). And measure to confirm that the door is 1 – 3/5″ to 2″(40 mm to 50mm) thick.

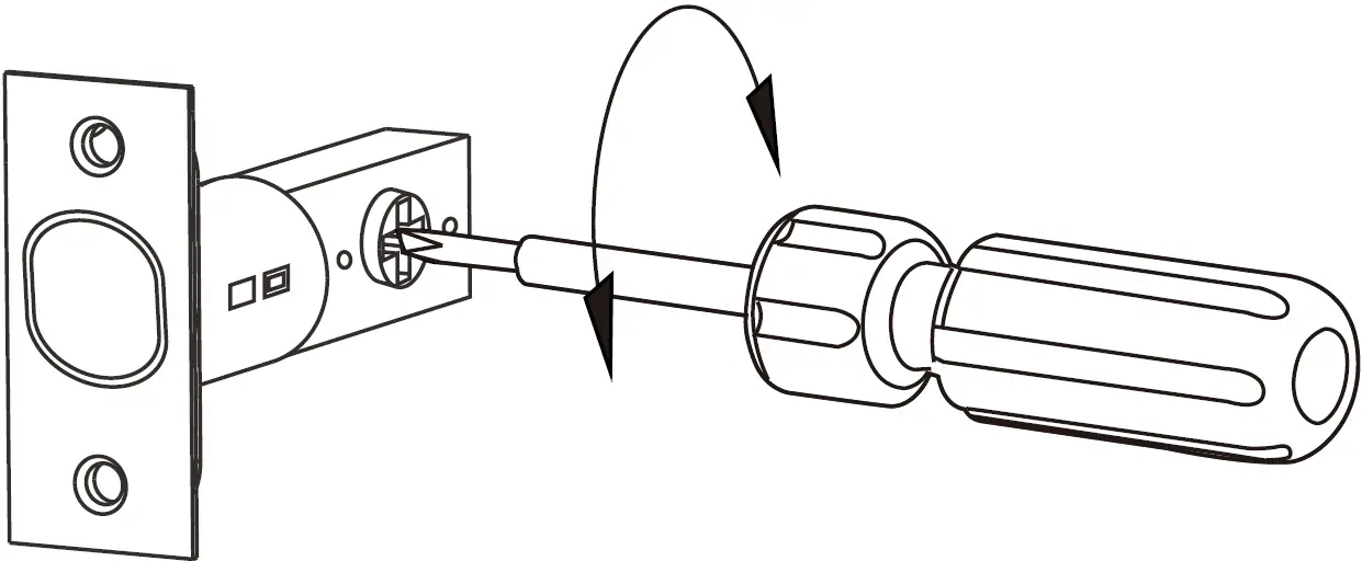
Install the Latch and Strike
- Hold the latch in front of the door hole, with the latch face flush against the door edge.

Is the slotted hole centered in the door hole?



Rotate the head of latch 10°

Stretch the latch

Rotate the head oflatch back to right position.


Use a screwdirver to test if deadbolt works smoothy. When the screwdirver turn, the deadbolt would be lock/unlock.

Install strike on the door frame.
IMPORTANT: Make sure hole in door frame is drilled a minimum of 1″ (25 mm) deep.

Installation Instructions
- IMPORTANT: Before installation, make sure the latch isfully retracted (in the unlocked position).


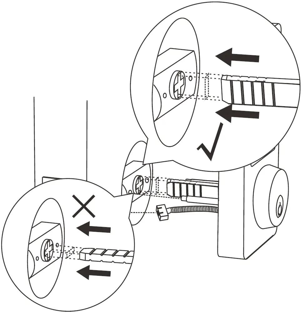
- Install Keypad
If the hole is bigger than 2 1/8″ (54mm), install the keypad directly
Please ensure the tail bar is vertical during installation. The IC wired need to under the deadbolt.
Remove screw from hole cover

Remove the hole cover

Please ensure the tail bar is vertical during installation. The IC wired need to under the deadbolt.

Install Mounting Plate
The IC wired and tail bar go through the hole of mounting plate

Secure the mounting plate with the supplied screws.

Make sure the IC wired not too long.

Confirm the Direction of the Door

If the door is left handle.
- To install the lock for left side handling, ensure the toggle button on the back assembly is set to “L”.
- Setting direction of the turnpiece : Horizontal for Left handle when in unlock status.

If the door is right handle.
- To install the lock for right side handing, ensure the toggle button on the back assembly is set to “R”.
- Setting direction of the turnpiece : Vertical for Right handle when in unlock status.

Install Interior Assembly
- Connect the cable and ensure tight cable connection. And the tail bar insert the turnpiece hole.

- Install the interior assembly on mounting plate and make sure they click on together

- Secure the interior assembly with the supplied screws.

- Load 4 AA batteries into the interior assembly.

Install Battery Cover
- Install battery cover

- Secure the interior assembly with the supplied screws.

How to Use
LOCK the door from outside
Manual Mode
Press the shown key on keypad for 3 seconds.
LOCK the door from inside
Manual Mode
Rotate the thumb tum to Lock position.
UNLOCK the door from outside

UNLOCK the door from inside

Rotate the thumb tum to Unlock position.
ViaAPP
Long press “O” to LOCK the door from outside or inside.
Click “0” to UNLOCK the door from outside or inside.
Note: Please keep your phone near the door lock within 32.8ft(l Om).

Auto Re-lock Mode
Auto Re-lock Mode can be set up inAPP.(5s,10s,15s, 30s,60s,Custom) When the lock be unlocked via APP, passcode or RFID card, it will re-lock automatically in the reset time.

Programming Instructions
Information & Safety Warnings
- Protect your User Codes and Master Code.
- Protect your key. It is suggested to put it outside the door, such as your car.
- Restrict access to your lock’s interior assembly and routinely check your settings to ensure they have not been altered without your knowledge.
- This lockset is designed to provide the highest standard of product quality and performance. Care should be taken to ensure a longlasting finish. When cleaning is required use a soft, damp cloth. Using lacquer thinner, caustic soaps, abrasive cleaners or polishes could damage the coating and result in tarnishing.
IMPORTANT: Do not load batteries until lock is completely installed.
Definitions
Master Code
Required for programming and feature settings. Master code can be used to unlock the door under vacation mode. The default master code needs to be changed before programming.
Property owner/manager should keep this information confidential. I. Master Code(6 to 8) digits: The default Master Code is 123456. It is required that you change it to a code of your own before programming.
2. User Code(6 to 8 )digits: A total of 200 User Codes may be programmed.
Auto Lock
Automatically locks the deadbolt after unlocking. This feature is off by default. You can set the auto lock time in the app.
Wrong Entry Limit
After 5 unsuccessful attempts at entering a valid PIN code, the unit will shut down for 5 minutes.
Unlock with Fake Code
User can prevent PIN code exposure from strangers by entering random digits before or after PIN code.

APP Guide
- Download APP “TTLock”
Android Mobile Phone–Search “TTLock” from Google Play. Apple Mobile Phone–Please search “TTLock” from App Store.
- Register a new account (phone number or email)


- Lock adding
- Turn on Bluetooth and enter the interface of adding lock in app.



- Light up the screen and add the lock
Note: Please keep your phone near the door lock within 10 meters.
- Turn on Bluetooth and enter the interface of adding lock in app.
- Key Management
After the administrator successfully adds the lock, owner owns the highest administrative rights to the lock. owner can send keys to others. Meanwhile owner can increase the key management that is about to expire.
Click the type oflock it will show the time-limited ekey,onetime ekey and permanent ekey.
Time-limited ekey:The ekey is valid for the specified time. Permanent ekey: The ekey can be used permanently.
One-time ekey: The ekey will be automatically deleted once it has been used.
The manager can delete ekey, reset ekey, send and adjust the ekey, meanwhile he can search the lock record.
- Passcode management
After inputting the passcode on the keyboard of the lock,press the unlock button to unlock. Passcodes are classified into permanent, time-limited, one-time, empty, oop, custom, etc.- Permanent passcode
The permanent pass code must be used within 24hours after it is generated, otherwise it will automatically expire.
- Time-limited passcode
The time-limited passcode can own an expiration date, which is a minimum of one hour and a maximum of three years. If the validity period is within one year, the time can be accurate to the hour; if the validity period is more than one year, the accuracy is month when the time-limited passcode is valid, it should be used within 24 hours, otherwise it will automatically expire.
- One-time passcode
One-time pass code can only be used for onetime, and which is available for 6 hours. It will automatically expire.
- Clear code
Clear code is used to delete all the passcodes the lock has set, and which is available for 24 hours.
- Cyclic passcode
The cyclic password can be reused within a specified time period, including daily type, weekday type, weekend type, and more.
- Custom passcode
User can set any passcodes and validity period he wants. - Passcode sharing
The system add new communication ways of Face book Messenger and Whatsapp to help users share the passcode.
- Passcode management
All generated passcodes can be viewed and managed in the password management module. This includes the right of changing the password, deleting the password, resetting the password, and unlocking the password.
- Permanent passcode
- Card management
You need to add the RFID card first. The whole process needs to be done via the app beside the lock. The validity period of the IC card can be set, either permanent or time-limited.
All RFID cards can be queried and managed through the RFID card management module. The remote card issuance function is displayed in the case of a gateway. If there is no gateway, the item is hidden.
- Records
It records who comes and goes, and when for 24/7 access logs, get all records about the door unlock/ lock anytime and anywhere.
Low Power

When the smart lock is opening, the screen will brighten up and “beep” to warn that the battery is low power.
Factory Default Settings
Settings | Factory Default |
Master Code | 123456 |
| Auto Lock | Disabled |
Silent Mode | Disabled |
| Wrong Code Entry Limit | 5 times |
Shutdown Time | 5 mins |
Restore Factory Settings
Restore on Lock

- Press and hold the Reset button.
- Keep holding the Reset button for 6 seconds, until you hear the sound of beep.
Note: This operation IC wired and battery need to be installed. This button is behind the Keypad panel.
Troubleshooting
- The turnpiece cannot rotate or operate the lock.
Remove and re-install the lock, making sure that the turnpiece is in right position. - The lock cannot be locked or unlocked by the keypad.
Make sure that the codes are not disabled. If needed, restore the lock’s default settings. - The keypad doesn’t respond when touched (no lights are visible and no beeping is heard).
Make sure the cables are properly connected, and make sure the batteries are new and installed correctly. - I forgot my Master Codes.
Perform a reset in order to erase all passcodes. Once the reset is complete, all passcodes will be erased and the Master code will return to the default value ( 123456). - The lock cannot connect APP via bluetooth
Please make sure the bluetooth is on. The APP is ready to search the lock. If needed, restore the lock’s default setting. - Multiple attempts unlock the door also failed to open
Use the key to open the lock and change the battery. If needed, please contact customer service.
FCC Warning
This device complies with part 15 of the FCC Rules. Operation is subject to the following two conditions: (I) this device may not cause harmful interference, and (2) this device must accept any interference received, including interference that may cause undesired operation.Any changes or modifications not expressly approved by the party responsible for compliance could void the user’s authority to operate the equipment. NOTE: This equipment has been tested and found to comply with the limits for a Class B digital device, pursuant to Part 15 of the FCC Rules. These limits are designed to provide reasonable protection against harmful interference in a residential installation. This equipment generates, uses and can radiate radio frequency energy and, if not installed and used in accordance with the instructions, may cause harmful interference to radio communications.
However, there is no guarantee that interference will not occur in a particular installation.If this equipment does cause harmful interference to radio or television reception, which can be determined by turning the equipment off and on, the user is encouraged to try to correct the interference by one or more of the following measures:
— Reorient or relocate the receiving antenna.
— Increase the separation between the equipment and receiver. — Connect the equipment into an outlet on a circuit different from that to which the receiver is connected.
— Consult the dealer or an experienced radio/TV technician for help.
To maintain compliance with FCC’s RF Exposure guidelines, This equipment should be installed and operated with minimum distance between 20cm the radiator your body: Use only the supplied antenna.


















Please ensure the tail bar is vertical during installation. The IC wired need to under the deadbolt.





















All RFID cards can be queried and managed through the RFID card management module. The remote card issuance function is displayed in the case of a gateway. If there is no gateway, the item is hidden.
















