3.10D2
10″/250 MM DVC 2+2 OHM SUBWOOFER
User Manual

4-layers dual voice coil Kapton® voice coil support High-grade Y30 magnet Motor made of very low carbon steel Optimized motor design Long travel rubber surround Steel basket Internal stiffening ring Treated cellulose pulp cone Conex® spider CNC plates processing
Your ESB subwoofer is a precision loudspeaker that has been designed to produce very high-quality sub-bass frequency performance in your car. To maximize the performance of your speaker we highly recommend using a dedicated enclosure. Inside this manual, you will find specifications and two recommended enclosures for your speaker: one is a sealed enclosure, and the other is a ported design. Both types of enclosures will give you excellent sound quality and low-frequency extension. The sealed enclosure is a better choice if the space is extremely tight, but the ported enclosure will produce 3dB more output at the same power if you have the extra space to work with.
T&S parameters specification
| Free air resonance (Fs): | 36.6 Hz |
| Electrical “Q” (Qes): | 0.51 |
| Mechanical “Q” (Qms): | 2.13 |
| Total Speaker “Q” (Qts): | 0.42 |
| Equivalent Compliance (Vas): | 0.808 ft’ / 22.8 lit. |
| Linear Excursion (Xmax): | 0.551″ / 14 mm |
| Efficiency (1W/1m): | 85.3 dB SPL |
| Effective piston area (Sd): | 0.558 in’ / 359,68 mm2 |
| DC resistance* (Re): | 1.79+ 1J9 Ohm |
| Nominal impedance: | 2+2 Ohm |
| Power handling (continuous): | 490 W |
| Power handling (peak): | 980 W |
*Series and parallel value

Physical specification
| Nominal diameter: | 10″ / 250 mm |
| Overall Diameter (A) | 10.66″ / 271 mm |
| Mounting hole diam. (B) | 9.13″ / 232 mm |
| Bolt hole circle (C) | 9.84″ / 250 mm |
| Magnet diameter (D) | 5.31″ / 135 mm |
| Mounting Depth (E) | 5.39″ / 137 mm |
| Driver displacement | 0.032 ft3 / 0.92 |
Recommended Sealed Enclosure

- Volume (include speaker displacement): 0.635 ft3/ 18 lit.
- External dimension (W,H,D): 16.73×11.81×9.44″ / 425x300x240 mm
Note: Dimensions are assumed with 3/4″ material (19mm).
This is the suggested thickness. Less thickness may compromise box rigidity with leak bass response.
Add inside the damping material for about 75% of the volume.
Recommended Ported Enclosure (Reflex option A)
- Volume (include speaker displacement): 0.741 in3 / 21 lit.
- External dimension (W,H,D): 19.49×11.41 x10.23″ / 495x290x260 mm
- Reflex port dimension (R1,R2): 10×0.787″ / 254×20 mm
- Reflex port length (L1,L2): 8 74+6.61″ / 222+168 mm

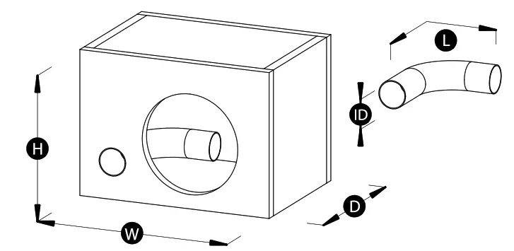
Recommended Ported Enclosure (Reflex option B)
- Volume (include speaker displacement): 0.741 in3 / 21 lit.
- External dimension (W,H,D): 18.11×11.41×10.23″ / 460x290x260 mm
- Reflex tube internal diameter (ID): 3.07″ / 78 mm
- Reflex tube length (L): 14.48″ / 368 mm
Note: Dimensions are assumed with 3/4″ material (19mm). This is the suggested thickness. Less thickness may compromise box rigidity with leak bass response. Add inside the damping material for about 35% of the volume.


















