midmark 1-200-0310 IQvitals Zone Device User Guide
Labelled Diagram
NOTICE
Attach all accessories to the device before attaching the power cord and turning the power ON.
NOTICE
Assure the selected mounting option is secured in place before proceeding.
| Symbol | Description |
![]() | Manufacturer |
![]() | Consult instruction for use |
![]() | Caution |
NOTICE:
Always refer to the device operation manual for detailed instructions for use, warnings and cautions prior to using the device.
Step 1: Temperature Module Cable and Power Supply Cable
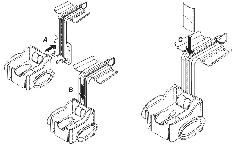
Place cable(s) between the tracks of the front of the main bracket toward the A) bottom of the bracket.
NOTICE:
If using the wall mount articulating arm place the power supply cable with the temperature module cable. This step may not be necessary if using the mobile cart.
Step 2: Front Bin and Cable Cover
- ) Align top and bottom latches of the bin onto the main bracket. Assure cables do not get pinched.
- Slide down and snap onto bracket.
- Slide cable cover onto main bracket over temperature cable

Step 3: Device
- Slide device onto bracket of mounting option.
- Secure device with a three-arm knob.

Step 4: Temperature Cable
- Connect cable to back of device.
- Connect cable to bottom, rear of front storage bin


Step 5: Temperature Module
- Connect temperature module cable to bottom of the front storage bin.
- Place temperature module in cradle of front storage bin.

Step 6: NIBP Hose
- Connect NIBP hose to port.
- Connect blood pressure cuff to NIBP hose.
- Wrap excess hose around cable wrap. Store cuff in main bin

Step 7: SpO2 (Optional)
- Connect SpO2 patientcable to SpO2 port.
- Connect SpO2sensor to patient cable.
- Wrap excess cord on side of storage bin.

Step 8: USB cable (Optional)
- Insert one end of the USB cable into the USB port.
- Insert the other end of the USB cable into PC or compatible device.

Step 9: Power Supply
- Plug power supply cord into port.
- Attach AC power cord to power supply.
- Plug power supply into standard 115V receptacle

Step 10: Laptop Tray
- Align grooves of tray to the edges of the device and slide tray forward.
- Secure tray to device with three-arm knob.






























