Kawoti 21121 17.5 Inch 3-Light Black Contemporary/Modern Vanity Light

Hardware (Parts are not to scale)
THIS MANUAL CONTAINS IMPORTANT SAFETY INFORMATION. PLEASE READ AND KEEP FOR FUTURE REFERENCE.
IMPORTANT SAFETY INFORMATION
- Please read and understand this entire manual before attempting to assemble, operate or install the product.
- Turn off electricity at main fuse box (or circuit breaker box) before beginning installation by removing fuse (or switching off circuit breaker).
- Be careful not to damage or cut the wire insulation (covering) during fixture installation. Do not permit wires to contact any surface having a sharp edge. To do so may damage or cut the wire insulation, which could cause serious injury or death from electric shock.
- All electrical connections must be in agreement with local codes, ordinances or the national electric code (NEC). Contact your municipal building department to learn about your local codes, permits and/or inspections. If you do not have electrical wiring experience, refer to a do-it-yourself wiring handbook or have your fixture installed by a qualified licensed electrician.
- Risk of fire – most dwellings built before 1985 have supply wire rated for 140°F/60ºC. Consult a qualified electrician before installation.
- Do not exceed the recommended wattage. Refer to the re-lamping label on the light socket for maximum wattage.
- Do not replace a bulb when electrical outlet switch is turned to the “ON” position.
- Do not immerse your lamp in water; doing so will damage the wire.
- Keep materials that burn easily away from lighted bulbs.
PREPARATION
- Before beginning assembly, installation or operation of product, make sure all parts are present. Compare parts with package contents list and diagram on previous page. If any part is missing or damaged, do not attempt to assemble, install or operate the product. Contact customer service for replacement parts.
- Tools required for assembly (not included): flathead screwdriver, phillips screwdriver, pliers, electrical tape, wire cutters, safety glasses, ladder, wire stripper.
INSTALLATION
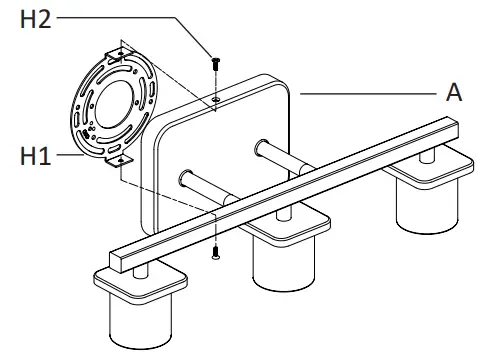
- Preparing the mounting bracket

- Unscrew the two support screws (short) (H2) from the mounting bracket (H1). Remove the mounting bracket (H1) from the canopy of the fixture body (A), and keep the support screws (short) (H2) for later use.
- Installing the mounting bracket

- Fasten the mounting bracket (H1) onto the outlet box using two outlet box screws (long) (H3).
- Making the electrical connections

- Strip 3/4 in. of insulation from the wire ends.
- Connect the black wire from the fixture to the black wire from the outlet box, then connect the white wire from the fixture to the white wire from the outlet box.
- The bare copper ground wire from the fixture must loop one turn under the head of the green ground screw (H4) on the mounting bracket (H1) before it is connected to the ground conductor of the supply circuit.
- Cover the wires with wire connectors (H5). Tape the wire connectors (H5) and wires together, and carefully position all wires inside the outlet box.
- Assembling the fixture body to the outlet box
- Place the fixture body (A) over the outlet box, align the two holes of the mounting bracket (H1) and the canopy of the fixture body (A), then tighten the support screws (short) (H2).
Note: The shades on this fixture can be installed facing up or facing down.
OPTION 1: Mount with glass shades facing down.

OPTION 2: Mount with glass shades facing up.
- Place the fixture body (A) over the outlet box, align the two holes of the mounting bracket (H1) and the canopy of the fixture body (A), then tighten the support screws (short) (H2).
- Assembling the glass shades

- Unscrew the socket rings (H6) from the sockets on the fixture body (A). Set the glass shades (B) onto each socket, and secure them with the socket rings (H6).
- Installing the light bulbs

- Install the light bulbs (not provided) into the socket. Use three MAX 60 W medium base (E26) type “ST64” bulbs (recommended).
Note: You can also use three MAX 60 W medium base (E26) type “A” bulbs or MAX 9W medium base (E26) self-ballasted LED bulbs. Do not exceed the recommended wattage.
CLEANING
- Do not use any cleaners with chemicals, solvents, or harsh abrasives. Use only a dry, soft cloth to dust or wipe carefully.
- To clean the fixture, disconnect the power by turning off the circuit breaker or by removing the fuse at the fuse box. Use a dry or slightly dampened, clean cloth to wipe the exterior surface of the fixture.
TROUBLESHOOTING
- The light does not come on at all:
- a) Make sure the wall switch and circuit breaker are on.
- b) Make sure the wiring is correct.
- Fuse blows or circuit trips when light is turned on.
- a) Check for crossed wires, ensure wiring is correct.























