SEE SENSE ICON3 Bike Light
![]()
CHARGE BEFORE USE
![]()
- Open USB port & insert provided USB-C cable.
- First charge 10hrs, normal charge 3hrs.
CHARGE INDICATOR
- Appears when light is off and power button is pressed briefly


BUTTON FUNCTIONS
- ICON3 has the following button functions:


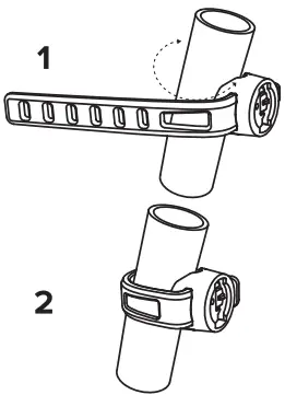
MOUNT INSTALLATION
Install the mount on the bike, ensuring the strap is tightly secured.![]()
Note: rear mounts are angled, front mounts are not
MOUNTING OPTIONS
Position ICON3 on the mount. Twist 90′ and ‘click’ to secure.![]()
FLASH MODES
![]()
Super Visibility
- Uses different flash patterns every time it reacts to improve your visibility.
Light Sensing
- Monitors ambient light levels and automatically adjusts light output to improve your visibility.
Get Me Home
- 1 more hour of runtime when battery levels are very low.
Visit: for more info www.seesense.cc![]()
SEE SENSE MOBILE APP
Search ‘See.Sense’ in the Apple App Store or Google Play Store & download our app.
![]()
WHY DOWNLOAD THE APP?
So that you can:
![]()
- Get low-battery notifications
- Receive theft alerts
- Customise & control your lights
- Share insights to make rides better
- Send crash alerts to an emergency contact
MAKING CYCLING BETTER
Opt-in via the app to share anonymized ride insights that can help improve conditions for cyclists. By sharing your ride insights you can help make cycling in your City safer, more convenient and enjoyable.
HOW IT WORKS
Once you’ve connected your lights to our app, the technology within the lights can detect the road issues and poor Conditions that you face on your journey. Through See.Sense’s app you’re then able to share additional insights anonymously with city planners.
WARRANTY
Limeforge Ltd provides a warranty for ICON3 for 12 months from the original date of purchase by the original owner (proof of purchase required). This warranty covers parts and workmanship on the LED housing, LED, mounting bracket and electronics but not normal wear and tear, improper use, attempting to access the electronics, modifying the electronics, accidental damage, or damage or failure due to neglect.
IMPORTANT INFORMATION
Charge ICON3 fully before you use it for the first time. To maintain the battery’s performance, charge ICON3 fully at least once a month. IcON3 is IP67 rated under normal use, do not subject it to high pressure water jets or intentionally submerge it in water. In the unlikely event that moisture appears inside IcON3 turn it off and contact Our customer service for guidance. Clean ICON3 using a moistened cloth and mild detergent only. Do not use corrosives, solvents or abrasive materials to clean ICON3 uses extremely powerful LEDS which can get hot with use. A thermal protection circuit temporarily reduces brightnesS if it approaches its thermal limits.
PRODUCT WARNINGS
See.Sense ICON3 is a very bright light. Do not look directly at the light, or shine it directly at otners. Keep it Out of reach of children and pets. Staring into the light can cause serious injury. Use lCON3 with care at all times. Carefully inspect ICON3 before every use. If you find any damage, corrosion, or leaking, turn it off and contact us for guidance. Do not disassemble ICON3. Do not dispose of ICON3 in household waste. Do not incinerate ICON3. Limeforge Ltd do not warrant that ICON3 complies with all local traffic laws and regulations. Limeforge Ltd accepts no liability for any injuries or other damages arising trom the use of thiS product in any circumstances.
LIKE OUR PRODUCT? SHOW US!
- seesense.cc
- @seesense_cCC
- @seesense _cC
- www.seesense.cc


















