FLUKE i3000s Flex AC Current Probe Instructions
Introduction
The i3000s 24 Flex, i3000s 36 Flex, and i2000 Flex AC Current Probes (the Probe) are used with oscilloscopes, digital multimeters, recorders or data loggers. The i3000s probes can be used to measure AC current up to 3000 A. The i2000 can be used to measure AC current up to 2000 A. The flexible measuring head allows current measurements on conductors that are hard to reach or inaccessible using typical clampon current probes.
The Probes provide a low-voltage (3 V ac for i3000s models, and 2 V ac for i2000) output that is proportional to the current being measured. The Probes provide full-scale direct readings for 30 A, 300 A, and 3000 A when using the i3000s models, and 20 A, 200 A, and 2000 A when using the i2000.
Safety Information
A Warning identifies hazardous conditions and procedures that are dangerous to the user.b Caution identifies conditions and procedures that can cause damage to the Product or the equipment under test.
Warning
To prevent possible electrical shock, fire, or personal injury:
- Read all safety information before you use the Product.
- Carefully read all instructions.
- Do not alter the Product and use only as specified, or the protection supplied by the Product can be compromised.
- Do not use the Product if it operates incorrectly.
- Do not use the Product if it is altered or damaged.
- Have an approved technician repair the Product.
- If the Probes are used in a manner not specified in these operating instructions, protection provided by the Probes may be impaired.
- Use the Probes only if qualified.
- Use caution during installation and use of the Probe; high voltages and currents may be present in circuit under test.
- Protect the probe against water and humidity.
- Wear protective clothing and gloves as required.
- Do not install this product on live conductors. Always deenergize the circuit under test before installing the flexible measuring head.
- Always inspect the electronics unit, connecting cable, and flexible measuring head for damage before using the Probe.
- Do not use the Probe if damaged.
- Always connect Probe to display device before installing the flexible measuring head.
- Never change batteries while measurement head is installed on conductor.
- Use only the provided original or specified accessories.
- Comply with local and national safety codes. Use personal protective equipment (approved rubber gloves, face protection, and flame-resistant clothes) to prevent shock and arc blast injury where hazardous live conductors are exposed.
- CAT III equipment is designed to protect against the transients in the equipment in fixed equipment installations, such as distribution panels, feeders and short branch circuits, and the lighting systems in large buildings.
Symbols
The table below lists the symbols that can be used on the Product or in this document.
| Symbol | Description |
![]() | This product complies with the WEEE Directive marking requirements. The affixed label indicates that you must not discard this electrical/electronic product in domestic household waste. Do not dispose of this product as unsorted municipal waste. |
![]() | WARNING. RISK OF DANGER. |
![]() | WARNING. HAZARDOUS VOLTAGE. Risk of electric shock. |
![]() | Consult user documentation. |
![]() | Measurement Category III is applicable to test and measuring circuits connected to the distribution part of the building’s low-voltage MAINS installation. |
![]() | Double Insulated. |
![]() | Do not apply around or remove from uninsulated hazardous live conductors without taking additional protective measures. |
![]() | Conforms to European Union directives. |
Specifications
Electrical Characteristics
| Measuring ranges | ||
| i3000s (24 and 36 Flex) | 30 A/300 A/3000 A ac, switch selectable | |
| i2000 Flex | 20 A/200 A/2000 A ac, switch selectable | |
| Output sensitivity (AC coupled) | 100 mV/10 mV/1 mV per A | |
| Accuracy (at 25 ºC) | ±1 % of range (45 Hz to 65 Hz) | |
| Frequency range | ||
| i3000s (24 and 36 Flex) | 10 Hz to 50 kHz (-3 dB typical) | |
| i2000 Flex | 10 Hz to 20 kHz (-1 dB typical) | |
| Phase error | <±1° (45 Hz to 65 Hz), ±10° (at 20 kHz) | |
| Linearity | ±0.2 % of reading from 10 % to 100 % of range | |
| Position sensitivity | From 1 % up to 3 % of range with cable, depending on distance from the center (see figure below). Measurements closer than 25 mm from the coupling are typically greater than 3 % of range. | |
All % values referenced to range | ||
| External Wire influence | 1 % (-40 dB) of external current>200 mm from head | |
| External field | ±1 % of range with cable>200 mm (8 in) from the head | |
| Minimum load | 100 ke for specified accuracy | |
| Noise | 8 mV RMS (0.3 % of range) in 30 A range 2 mV RMS (0.1 % of range) in 300 A and 3000 A | |
| Gain variation | 0.08 %/°C | |
| Operating temperature | ||
| i3000s (24 and 36 Flex) | -20 °C to +50 °C (-4 °F to +122 °F) | |
| i2000 Flex | 0 °C to 70 °C (32 °F to 158 °F) | |
| Storage temperature | ||
| i3000s (24 and 36 Flex) | -20 °C to +60 °C (-4 °F to +140 °F)(without batteries) | |
| i2000 Flex | 0 °C to 70 °C (32 °F to 158 °F) | |
| Temperature coefficient | ±0.08 % of reading / °C | |
| Operating humidity | 15 % to 85 % (non-condensing) | |
| Altitude | 2000 m | |
| Power supply | Two AA IEC LR6 alkaline batteries (all probes) | |
| Battery life | ||
| i3000s (24 and 36 Flex) | 400 hours typical | |
| i2000 Flex | 200 hours typical | |
| Low battery | Indicated by a red LED | |
General Characteristics
| Output connections | |
| i3000s (24 and 36 Flex) | Coaxial cable with a male safety BNC connector; BNC to Banana plug adaptor (supplied) |
| i2000 Flex | 0.5 m cable with 4 mm safety plugs |
| Weight | 0.19 kg (0.4 lb) |
| Dimensions | 116 (l) x 68.5 (w) x 30 (d) mm4.57 (l) x 2.71 (w) x 1.18 (d) in |
Safety Standard
| General | IEC 61010-1 Pollution Degree 2 |
| Measurement | IEC 61010-2-032, CAT III 600 V |
Electromagnetic Compatibility (EMC)
| IEC 61326-1 | Portable Electromagnetic Environment, IEC 61326-2-2CISPR 11: Group 1, Class A |
| Group 1: Equipment has intentionally generated and/or uses conductively coupled radio frequency energy that is necessary for the internal function of the equipment itself.Class A: Equipment is suitable for use in all establishments other than domestic and those directly connected to a low- voltage power supply network that supplies buildings used for domestic purposes. There may be potential difficulties in ensuring electromagnetic compatibility in other environments due to conducted and radiated disturbances. Caution: This equipment is not intended for use in residential environments and may not provide adequate protection to radio reception in such environments. | |
Measuring Head Characteristics
| Cable length | |
| i2000, i3000s 24 Flex | 610 mm (24 in), double insulated |
| i3000s 36 Flex | 915 mm (36 in), double insulated |
| Cable diameter | 14.3 mm (0.562 in) |
| Bend radius | 38.1 mm (1.5 in) |
| Output cable | 2 m long (78.7 in) |
| Coupling diameter | 22.2 mm (0.875 in) |
| Material | TPE rubber, Polypropylene, UL94-VO rated |
| Maximum relative humidity | 85 % |
| Weight | 0.18 kg (0.4 Ib) |
Operating Instructions
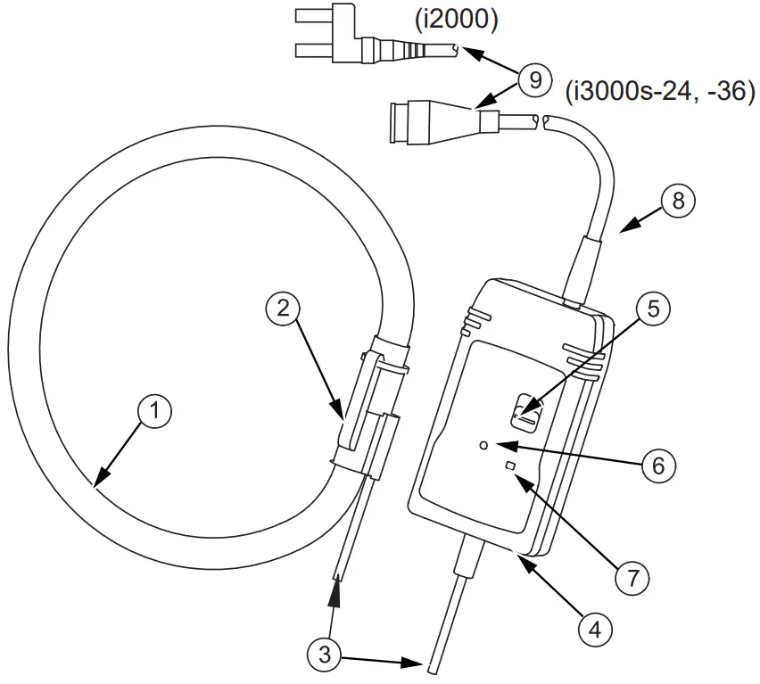
![]() | |
| 1 | Measuring head |
| 2 | Measuring head coupling |
| 3 | Head output cable |
| 4 | Enclosure |
| 5 | Power on/Range selector |
| 6 | Battery low indicator |
| 7 | Power on indicator |
| 8 | Output cable |
| 9 | Banana or BNC connector |
Battery Installation
Warning
To prevent electrical shock or personal injury:
- Never replace batteries with the flexible measuring head installed on the conductor to be tested or with the output connected to a display device.
- Never operate the unit without the battery cover installed.
The Probes require two AA IEC LR6 alkaline batteries for operation. The battery compartment is accessed from the rear end of the electronic enclosure.
The batteries must be replaced when the LED is lit continuously or when it fails to light up. Ensure that the Probe is away from any current carrying conductor and also that the output is disconnected from other equipment.
To install the battery:
- Use a coin or a similar tool to turn the battery lock (¼ turn) until the dot aligns with the unlock symbol.
- Remove the battery cover.
- Install the batteries ensuring that correct polarity is observed.
- Replace the battery cover and turn the battery lock until the dot aligns with the lock symbol.
Measuring Current
Warning
To prevent electrical shock or personal injury:
- Read Safety Instructions before operating this product.
- Ensure that the conductor to be tested is de-energized.
To measure current:
- Connect the output of the electronics to the input of an oscilloscope or other data recording device.
Warning
To prevent electric shock or personal injury, do not use the flexible current probe on conductors with a potential of over 600 V. Wrap the flexible measuring head around the conductor to be tested in a close coupling manner. - Energize the circuit under test.
- For most accurate measurement, center the flexible head around the conductor.
- Locate coupling away from the nearby conductors
Warning
To prevent electric shock or personal injury:
- Do not use the flexible current probe to measure bare conductors unless wearing protective clothing suitable for high voltage work.
- Always use appropriate equipment for personal protection. When installed on bare conductors/busbars, the product must be within a suitable enclosure.

Operation
To activate the unit, move the switch from the “Off” position to the required measuring range. If the value of current being measured is unknown, select the 3000 A (i3000s models) or 2000 A (i2000) current range and then reduce accordingly.
Battery Status
Battery status is indicated by an LED on the front of the probe. This LED will flash one time when the unit is activated. The length of time the LED is lit will increase as battery life decreases. Momentary lighting of LED indicates batteries are good. Continuous lighting of LED indicates low battery and requires replacement at the earliest. No lighting of LED indicates batteries are dead and require replacement immediately.
Maintenance
Warning
To prevent electric shock or personal injury, do not use the Probe if damaged
Always inspect the electronics unit, connecting cable, and flexible measuring head for damage before use.
To avoid electric shock, keep the probes clean and free of surface contamination. Use mild detergent to clean the electronics unit and measuring head. Make sure that the flexible measuring head, connecting cable, and electronic enclosure are dry before further use.
LIMITED WARRANTY AND LIMITATION OF LIABILITY
This Fluke product will be free from defects in material and workmanship for one year from the date of purchase. This warranty does not cover fuses, disposable batteries, or damage from accident, neglect, misuse, alteration, contamination, or abnormal conditions of operation or handling. Resellers are not authorized to extend any other warranty on Fluke’s behalf. To obtain service during the warranty period, contact your nearest Fluke authorized service center to obtain return authorization information, then send the product to that Service Center with a description of the problem.
THIS WARRANTY IS YOUR ONLY REMEDY. NO OTHER WARRANTIES, SUCH AS FITNESS FOR A PARTICULAR PURPOSE, ARE EXPRESSED OR IMPLIED. FLUKE IS NOT LIABLE FOR ANY SPECIAL, INDIRECT,INCIDENTAL OR CONSEQUENTIAL DAMAGES OR LOSSES, ARISING FROM ANY CAUSE OR THEORY. Since some states or countries do not allow the exclusion or limitation of an implied warranty or of incidental or consequential damages, this limitation of liability may not apply to you.
Fluke Corporation P.O. Box 9090 Everett, WA 98206-9090 U.S.A. Fluke Europe B.V. P.O. Box 1186 5602 BD Eindhoven The Netherlands 11/99









All % values referenced to range
















