
Original instructions
Tiger 20-30 kW
TIG203-0 Tiger 20-30 kW Fan Heater
This product is only suitable for well insulated spaces or occasional use.
Tiger 20-30 kW
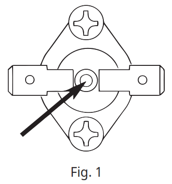
Resetting the overheat protection

Tiger 20-30 kW
Tiger 20-30 (IP44)
| Item no | Type | Output steps | Airflow | Sound power*, | Sound pressure,. | At | Motor | Voltage | Amp. | Weight |
| [kW] | [m3/h) | [dB(A)] | [dB(A)] | [°C1 | [W] | [V] | [A] | [kg] | ||
| 271754 | T1G203-0 | 0/10/20 | 1950/2400 | 75 | 54/61 | 31/26 | 106 | 400V3– | 29 | 26 |
| 271758 | T1G303-0 | 0/10/20/30 | 1950/2400 | 75 | 54/61 | 47/38 | 106 | 400V3- | 44 | 30 |
| 281180 | T1G203-0AU’ | 0/10/20 | 1950/2400 | 75 | 54/61 | 31/26 | 106 | 400V3- | 29 | 27 |
Sound power (LWA ) measurements according to ISO 27327-2: 2014, Installation type E. * 2 ) Sound pressure (Lpa ) Conditions: Distance to the unit 3 metres. Directional factor:- Equivalent absorption area: 200 m 2
. At low/high airflow. - ∆t = temperature rise of passing air at maximum heat output at lowest/highest air flow.
- Only available for Australia and New Zealand.
Output steps Sound power : Motor Amperage Airflow Sound pressure Voltage Weight

Main office
Frico AB
Tel: +46 31 336 86 00
Industrivägen 41
SE-433 61 Sävedalen [email protected] Sweden
www.frico.net
Art.nr: 276515 2021-12-15 CH





















