EAIMH18 Icemaker Accessory Kit

Product Information: ICEMAKER ACCESSORY KIT MODEL:EAIMH18
The ICEMAKER ACCESSORY KIT MODEL:EAIMH18 is an optional accessory for your refrigerator-freezer that enables it to make ice automatically. This kit is compatible with the ENR18TFGCB / ENR18TFGCW / ENR18TFGCS models of refrigerators. Please note that this kit should be installed only by an authorized service technician to avoid any personal injury or damage to the product.
This kit includes the following components:
- #7 Tube Seal -Qty 1
- #8 Tube Seal -Qty 1
- #12 Tap Water Joint Connector -Qty 1
Product Usage Instructions: Automatic Ice Maker
Ice Maker Installation
This refrigerator-freezer has the capability of using an automatic ice-maker. The automatic ice-maker is optional and sold separately. Should you desire to install an automatic ice-maker.
This product is compatible with the ENR18TFGCB / ENR18TFGCW / ENR18TFGCS
The installation instructions are only applicable to GIM-01.
Please follow these instructions carefully to install the automatic ice maker:
- Unplug the refrigerator from the electrical outlet.
- Remove the terminal cover and wire cover in the upper left corner on the back freezer wall by inserting a flat-blade screwdriver. The parts should be reserved. If the ice maker is not used, it should be reinstalled to prevent electric shock.

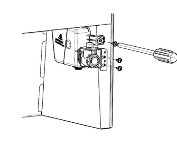
- Use a Phillips screwdriver to fix the two mounting screws (#9) to the side of the freezer liner at the corresponding marks, and turn each screw clockwise five turns without turning them to the end.

- Connect the ground terminal first, then connect the wiring harness into the connector mounted on the back freezer panel, and make sure that the terminal buckle is installed in place.

- Install a terminal cover (#13).

- Mount Ice Maker to the two screws (#9) you started earlier from Step 3. Tighten screws (#9).

- Put the freezer wire shelf on the middle floor, and place the ice container (#3) on the freezer wire shelf.

- Tear off the back ice maker label along the dotted line.
Remove the sponge from within the access hole by hand or needle nose pliers. The white sponge should be reserved. If the ice maker is not used, it should be reinstalled to prevent cold air leakage.
- Paste two tube seals (#7,#8) on the water supply pipe of the ice maker, pay attention to whether the paste is in place.

- Fix the tap water joint connector (#12) to the water inlet tube (#6) by threaded connection, pay attention to check whether there is a black sealing washer inside the thread end of the tap water joint connector (#12).

- Push the water inlet tube (#6) through the small hole where Installation label was. Rotate while inserting tube until the flat surface of inlet tube is tight against the back of the refrigerator, and finally make the limit fall on the limit hole.

- Use a Phillips screwdriver to fix the water inlet tube (#6) with the two fixing screws(#10),and check whether it is tightened.

- Use a Phillips screwdriver to remove the fixing screws (#11)and remove the back water valve protection box and protection cover.

- Use a flat-blade screwdriver to pry open the protection cover of the water valve, and take out the terminal protection box.

- Connect the water (#2) valve terminal , pay attention to confirm whether the terminal buckle is installed in place, and put the terminal back to its original position in the protection box . Install the water valve into the water valve protection box.

- Assemble the water valve protection cover.

- Use three screws (#11) to fix the water valve and the water valve protection box to the rear panel.

- Install and connect the water supply tubing (#5), one end is connected with the water valve (#2), and the other end is connected with the tap water joint connetor (#12).

- Use two pipe clamps (#4) (with adhesive surface) to organize the back water supply tubing(#5).

- Before the water is connected, turn off the ice maker and close the shutoff valve. Remove plastic cap from water valve inlet and discard cap.
Following are two methods of connecting to your household water supply.- Firstly,If you use copper tubing, slide the brass compression nut and then ferrule (sleeve) onto the water supply line.
Push water supply line into water valve inlet as far as it will go (¼ inch). Slide ferrule (sleeve) into valve inlet and finger tighten compression nut onto valve. Tighten another half turn with a wrench; DO NOT over tighten. - Secondly,If you use braided flexible stainless steel tubing, the nut is already assembled on the tubing. Slide the nut onto the valve inlet and finger tighten the nut onto the valve. Tighten another ½ turn with a wrench; DO NOT overtighten.
Turn on the water supply to the refrigerator and check for leaks at the water valve connection.
- Firstly,If you use copper tubing, slide the brass compression nut and then ferrule (sleeve) onto the water supply line.
- Reconnect the power
- The ice maker starts or stops

WARNING: When removing an ice maker that is not in use:
- Unplug the refrigerator before beginning the uninstallation of this ice marker accessory kit.
- The terminal cover and the wire cover need to be reinstalled ensure that the electrical terminal is not exposed to prevent electric shock;

- The outlet terminal of the water valve shall be reassembled in the protection box and covered the protection cover , and fixed the screws ensure that the outlet terminal is not exposed to prevent electric shock;

The white sponge should be reinstalled to prevent cold air leakage.
Dispose of property in accordance with federal or local regulations.
Please note the following warnings:
- The ICEMAKER ACCESSORY KIT should be installed only by an authorized service technician to avoid any personal injury or damage to the product.
- A newly-installed refrigerator may take 12 to 24 hours to begin making ice.
- Access to a household cold water line with water pressure between 30 and 100 psi. (2 and 6.9 bar). Operation outside the water pressure range may cause malfunction and severe, damaging water leaks.
- To minimize the risk of personal injury, avoid contact with the moving parts of the icemaker mechanism and with the heating element that releases the cubes.
- Do not place fingers or hands on the ice making mechanism while the refrigerator is plugged in.
- To avoid electric shock, which can cause death or severe personal injury, disconnect the refrigerator from electrical power before connecting a water supply line to the refrigerator.
- To minimize the risk of personal injury, avoid contact with the moving parts of the icemaker mechanism and with the heating element that releases the cubes. Do not place fingers or hands on the ice making mechanism while the refrigerator is plugged in.
- Ice maker kit should be installed only by an authorized service technician.
- To minimize the risk of personal injury, avoid contact with the moving parts of the icemaker mechanism and with the heating element that releases the cubes.
- Do not place fingers or hands on the ice making mechanism while the refrigerator is plugged in.
- Connect the icemaker to potable water supply only.
- To Avoid Property Damage:
- Copper tubing is recommended for the water supply line. Water supply tubing made of ¼ inch plastic should not be used since it greatly increases the potential for water leaks. The manufacturer will not be responsible for any damage if plastic tubing is used for the supply line.
DO NOT install water supply tubing in areas where temperatures fall below freezing. - Chemicals from a malfunctioning water softener can damage the ice maker. If the ice maker is connected to softened water, ensure that the softener is maintained and working properly.
- Copper tubing is recommended for the water supply line. Water supply tubing made of ¼ inch plastic should not be used since it greatly increases the potential for water leaks. The manufacturer will not be responsible for any damage if plastic tubing is used for the supply line.






Remove the sponge from within the access hole by hand or needle nose pliers. The white sponge should be reserved. If the ice maker is not used, it should be reinstalled to prevent cold air leakage.
































