VARYTEC 531495 Moving Head Hero Mirror User Manual
General information
This user manual contains important information on the safe operation of the device. Read and follow all safety notes and all instructions. Save this manual for future refer‐ ence. Make sure that it is available to all persons using this device. If you sell the device to another user, be sure that they also receive this manual.
Our products and user manuals are subject to a process of continuous development. We therefore reserve the right to make changes without notice. Please refer to the latest version of the user manual which is ready for download under www.thomann.de.
Further information
On our website (www.thomann.de) you will find lots of further information and details on the following points:
| Download | This manual is also available as PDF file for you to download. |
| Keyword search | Use the search function in the electronic version to find the topics of interest for you quickly. |
| Online guides | Our online guides provide detailed information on technical basics and terms. |
| Personal consultation | For personal consultation please contact our technical hotline. |
| Service | If you have any problems with the device the customer service will gladly assist you. |
Notational conventions
This manual uses the following rotational conventions:
Lettering
The lettering for connectors and controls are marked by square brackets and italics.
Examples: [VOLUME] control, [Mono] button.
Displays
Texts and values displayed on the device are marked by quotation marks and italics.
Examples: ‘24ch’ , ‘OFF’.
Instructions
The individual steps of an instruction are numbered consecutively. The result of a step is indented and highlighted by an arrow.
Example:
- Switch on the device.
- Press [Auto].
- Automatic operation is started.
- Switch off the device.
Cross-references
References to other locations in this manual are identified by an arrow and the spice‐ died page number. In the electronic version of the manual, you can click the cross reference to jump to the specified location.
Example: See Ä ‘Cross-references’ on page 6.
Symbols and signal words
In this section you will find an overview of the meaning of symbols and signal words that are used in this manual.
| Signal word | Meaning |
| DANGER! | This combination of symbol and signal word indicates an immediate dangerous situation that will result in death or serious injury if it is not avoided. |
| WARNING! | This combination of symbol and signal word indicates a possible dangerous situation that can result in death or serious injury if it is not avoided. |
| CAUTION! | This combination of symbol and signal word indicates a possible dangerous situation that can result in minor injury if it is not avoided. |
| NOTICE! | This combination of symbol and signal word indicates a possible dangerous situation that can result in mate‐ rial and environmental damage if it is not avoided. |
| Warning signs | Type of danger |
![]() | Warning – high-voltage. |
![]() | Warning – dangerous optical radiation. |
![]() | Warning – suspended load. |
![]() | Warning – danger zone. |
Safety instructions
Intended use
This device is intended for use as a freely moving reflector. The device is designed for professional use only and is not suitable for use in households. Use the device only as described in this user manual. Any other use or use under other operating conditions is considered to be improper and may result in personal injury or property damage. No liability will be assumed for damages resulting from improper use.
This device may be used only by persons with sufficient physical, sensorial, and intel‐ lectual abilities and having corresponding knowledge and experience. Other persons may use this device only if they are supervised or instructed by a person who is responsible for their safety.
Extend the operating life of the device by regular breaks and by avoiding frequent switching on and off. The device is not suitable for continuous operation .
Safety

DANGER!
Danger for children
Ensure that plastic bags, packaging, etc. are disposed of properly and are not within reach of babies and young children. Choking hazard! Ensure that children do not detach any small parts (e.g. knobs or the like) from the unit. They could swallow the pieces and choke! Never let children unattended use electrical devices.

DANGER!
Electric shock caused by high voltages inside
Within the device there are areas where high voltages may be present. Never remove any covers. There are no user-serviceable parts inside. Do not use the device if covers, protectors or optical components are missing or damaged.

DANGER!
Electric shock caused by short-circuit
Always use proper ready-made insulated mains cabling (power cord) with a protective contact plug. Do not modify the mains cable or the plug. Failure to do so could result in electric shock/death or fire. If in doubt, seek advice from a registered electrician.

WARNING!
Eye damage caused by high light intensity
Never look directly into the light source.

WARNING!
Risk of injury caused by falling objects
Make sure that the installation complies with the standards and rules that apply in your country. Always secure the device with a secondary safety attachment, such as a safety cable or a safety chain. The load of trusses or other fixtures must be suffi‐ cient for the intended number of devices. Not that the movement of the head places additional loads on the load bearing parts.

CAUTION!
Risk of injury due to device movements
The device head may perform fast movements (pan, tilt) and reflect very bright light. This is also the case immediately after switching on the device, with automatic or remote operation, and while a connected DMX controller is in off state. Persons who are in the immediate vicinity of the device may be injured or frightened by this. Before switching on and during operation, make sure that nobody is in the immediate vicinity of the device. If any work is to be carried out within the movement range or in the immediate vicinity of the device, the device must remain switched off.
NOTICE
Risk of fire
Do not block areas of ventilation. Do not install the device near any direct heat source. Keep the device away from naked flames.
NOTICE!
Operating conditions
This device has been designed for indoor use only. To prevent damage, never expose the device to any liquid or moisture. Avoid direct sunlight, heavy dirt, and strong vibrations. Only operate the device within the ambient conditions specified in the chapter ‘Technical specifications’ of this user manual. Avoid heavy temperature fluctuations and do not switch the device on immediately after it was exposed to temperature fluctuations (for example after transport at low outside temperatures). Dust and dirt inside can damage the unit. When operated in harmful ambient conditions (dust, smoke, nicotine, fog, etc.), the unit should be main‐ tained by qualified service personnel at regular intervals to prevent overheating and other malfunction. The device must not be moved during use.
NOTICE!
Power supply
Before connecting the device, ensure that the input voltage (AC outlet) matches the voltage rating of the device and that the AC outlet is protected by a residual current circuit breaker. Failure to do so could result in damage to the device and possibly injure the user. Unplug the device before electrical storms occur and when it is unused for long periods of time to reduce the risk of electric shock or fire.
NOTICE!
Risk of overheating
The distance between light output and the illuminated surface must be more than 1.5 m (19.7in). Provide sufficient ventilation. The ambient temperature must always be below 104 °F (40 °C).
NOTICE!
Possible staining
The plasticiser contained in the rubber feet of this product may possibly react with the coating of your surface and after some time cause permanent dark stains. In case of doubt, do not put the rubber feet directly on the surface and use a suitable underlay if necessary, i.e. felt pads or similar.
NOTICE!
Possible damage due to installation of a wrong fuse
The use of different types of fuses can cause serious damage to the unit. Fire hazard! Only fuses of the same type may be used.
Features
Special features of the device:
- Motorized mirror for deflecting light and laser beams
- Highly reflective, double-sided mirror
- 99% reflection with little loss of light
- Two moving axes
- Tilt (endless rotation)
- Pan (540°)
- Control via DMX (4 or 8 channels) or buttons and display on the unit
- Built-in automatic show programmes
- Sound control
- Master / Slave mode
- Robust metal and plastic housing
Installation
Unpack and check carefully there is no transportation damage before using the unit. Keep the equipment packaging. To fully protect the product against vibration, dust and moisture during transportation or storage use the original packaging or your own packaging material suitable for transport or storage, respectively.
Lift the device only at its base. Lifting the device at its head may damage the device.
You can install the device standing or hanging. When in use, the device must be mounted at a solid surface or clamped to an approved truss.
Work from a stable platform whenever you install or move the device or when you perform any kind of maintenance. Block access under the work area.

WARNING!
Risk of injury caused by falling objects
Make sure that the installation complies with the standards and rules that apply in your country. Always secure the device with a secondary safety attachment, such as a safety cable or a safety chain.
The load capacity of trusses or other fixtures must be sufficient for the intended number of devices. Not that the movement of the head places additional loads on the load-bearing parts.
NOTICE!
Possible data transmission errors
For error-free operation make use of dedicated DMX cables and do not use ordinary microphone cables.
Never connect the DMX input or output to audio devices such as mixers or amplifiers.
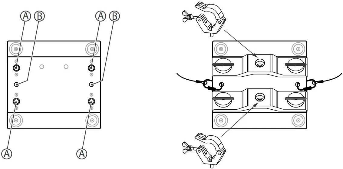
Mounting options
The Quick Lock mounts on the bottom side of the housing (A) allow the secure attachment of the included mounting brackets. There, you can fasten adapters such as half couplers, trigger clamps, c-hooks etc. Safety cables are being threaded through the safety eyelets (B) on the bottom side of the housing.
Starting up
Create all connections while the device is off. Use the shortest possible high-quality cables for all connections. Take care when running the cables to prevent tripping hazards.
Connections in DMX mode
Connect the DMX input of the device to the DMX output of a DMX controller or another DMX device. Connect the output of the first DMX device to the input of the second one, and so on to form a daisy chain. Always ensure that the output of the last DMX device in the daisy chain is terminated with a resistor (110 Ω, ¼ W).
DMX indicator
When the device and the DMX controller are in operation and a DMX signal is received at the input, the status LED [DMX] lights up.
Connections in master/slave mode
When you configure a group of devices in master/slave mode, the first unit will con‐ trol the other units for an automatic, sound-activated, synchronized show. This func‐ tion is ideal when you want to start a show immediately. Connect the DMX output of the master device to the DMX input of the first slave device. Then connect the DMX output of the first slave device to the DMX input of the second slave device and so on.
Connections and controls

- [DMX] | status LED. The LED lights up as soon as a DMX signal is present.
- [RUN] | status LED. This LED lights up once the device is operational.
- Display
- [UP] | increases the displayed value by one
- [SET] | activates the main and settings menu. Selects an option of the respective operating mode, confirms the set value.
- [DOWN] | decreases the displayed value by one
- [ESC] | closes an open submenu without saving any changes
- [DMX In] | DMX input, designed as XLR panel plug, 3-pin
- [DMX Out] | DMX output, designed as XLR panel socket, 3-pin
- [DMX In] | DMX input, designed as XLR panel plug, 5-pin
- [DMX Out] | DMX output, designed as XLR panel socket, 5-pin
- Fuse holder
- [Power In] | lockable input socket (Power Twist) for mains power supply
- [Power Out] | lockable output socket (Power Twist) for powering a connected device
Operating
Starting the device

CAUTION!
Risk of injury due to device movements
The device head may perform fast movements (pan, tilt) and reflect very bright light. This is also the case immediately after switching on the device, with automatic or remote operation, and while a connected DMX controller is in off state. Persons who are in the immediate vicinity of the device may be injured or frightened by this.
Before switching on and during operation, make sure that nobody is in the immediate vicinity of the device. If any work is to be carried out within the movement range or in the immediate vicinity of the device, the device must remain switched off.
Connect the device to the power supply to start operation. After a few seconds, the fans start to work, the head moves to the home positions for rotation (pan) and incli‐ nation (tilt). The device is now operational.
- Press [SET] to activate the main menu.
- Use [UP] and [DOWN] to change the respectively displayed value. When the display shows the desired value, press [SET].
- To exit the menu item without making changes, press [ESC].
- If you don’t press any button for 30 seconds the display turns off. A short press on [ESC], [SET], [UP] or [DOWN] will then turn it back on.
All previous settings are retained even when you switch the device off and discon‐ nect it from the mains.
DMX address
Use the ‘DMX Address’ menu to set the DMX address.
- Press [SET] to activate the main menu.
- Use [UP] or [DOWN] until the display shows ‘DMX Address’ and confirm with [SET].
- Use [UP] or [DOWN] to select a value between ‘001’ and ‘512’ to set the desired DMX address and confirm with [SET].
Make sure that this number matches the configuration of your DMX controller. The following table shows the respective highest possible DMX address for the various DMX modes.
| Mode | Highest possible DMX address |
| 4-channel mode | 509 |
| 8-channel mode | 505 |
Operating modes
DMX mode
Set the DMX mode in the ‘Running Mode’ menu.
- Press [SET] to activate the main menu.
- Use [UP] or [DOWN] until the display shows ‘Running Mode’ and confirm with [SET].
- Use [UP] or [DOWN] to select one of the two DMX modes (4-channel mode or 8- channel mode, display shows ‘DMX 4CH Mode’ or ‘DMX 8CH Mode’) and con‐ firm with [SET].
- The device is now controlled by a DMX controller.
Auto programmes
In this operating mode you select one of the automatic programmes and adjust the running speed of the automatic programme.
- Press [SET] to activate the main menu.
- Press [UP] or [DOWN] until the display shows ‘Running Mode’ and confirm with [SET].
- Press [UP] or [DOWN] until the display shows ‘Auto’ and confirm with [SET].
- Press [UP] or [DOWN] to select the desired submenu or the desired value and confirm with [SET].
The following sub menus are available:
| Menu level 3 | Menu level 4 | Description |
| ‘Program’ | ‘Program 1… Program 8’ | Automatic programme 1…8 |
| ‘Speed’ | ‘0’ … ‘100’ | Running speed from slow to fast |
- The device plays the selected show in an endless loop.
Sound control
In this mode, the unit follows the rhythm of the background music or sounds detected by the built-in microphone.
- Press [SET] to activate the main menu.
- Press [UP] or [DOWN] until the display shows ‘Running Mode’ and confirm with [SET].
- Press [UP] or [DOWN] until the display shows ‘Sound’ and confirm with [SET].
- Press [UP] or [DOWN] to select the desired submenu or the desired value and confirm with [SET].
The following sub menus are available:
| Menu level 3 | Menu level 4 | Description |
| ‘Program’ | ‘Program 1… Program 8’ | Sound controlled programme 1…8 |
| ‘Sensitivity’ | ‘0’ … ‘100’ | Microphone sensitivity from low to high |
- The device plays the selected show in an endless loop.
Master / slave mode
To use a device as the master device, select one of the automatic programmes, acti‐ vate the sound control or the manual control. Connect the slave devices to the DMX output of the master device and select the DMX mode.
Manual operating on the unit
In the ‘Running Mode’ menu, you can make manual settings for the device parame ters.
- Press [SET] to activate the main menu.
- Use [UP] or [DOWN] until the display shows ‘Running Mode’ and confirm with [SET].
- Use [UP] or [DOWN] to select the menu item ‘Manual Control’ and confirm with [SET].
- Use [UP] or [DOWN] to select the desired parameter and confirm with [SET].
The following sub menus are available:
| Menu level 3 | Menu level 4/5 | Description |
| ‘PAN’ | ‘0’ … ‘540’ | Setting the angle of rotation |
| ‘TILT’ | ‘0’ … ‘270’ | Setting the angle of inclination |
| ‘Pan/Tilt Speed’ | ‘0’ … ‘255’ | Setting the speed of pan and tilt, increasing speed |
| ‘TILT rotation’ | ‘0’ … ‘255’ | Setting endless rotation of Tilt, decreasing speed |
Settings
Use the ‘Setting’ menu to adjust the basic device parameters.
- Press [SET] to activate the main menu.
- Use [UP] or [DOWN] until the display shows ‘Setting’ and confirm with [SET].
- Use [UP] or [DOWN] to select the desired parameter.
The following sub menus are available:
| Menu level 2 | Menu level 3/4 | Description |
| ‘Pan Reverse’ | Pan inversion | |
| ‘YES’ | reversed direction of rotation | |
| ‘NO’ | normal direction of rotation | |
| ‘Tilt Reverse’ | Tilt inversion | |
| ‘YES’ | reversed direction of inclination | |
| ‘NO’ | normal direction of inclination | |
| ‘Pan Limit’ | ‘Starting point’‘0’ … ‘539’ | Starting point of the rotation angle |
| ‘Ending point’‘1’ … ‘540’ | Ending point of the rotation angle | |
| ‘Tilt Limit’ | ‘Starting point’‘0’ … ‘269’ | Starting point of the inclination angle |
| ‘Ending point’‘1’ … ‘270’ | Ending point of the inclination angle | |
| ‘Reset Motor’ | Resetting the motor | |
| ‘YES’ | Motor reset | |
| ‘NO’ | no motor reset | |
| ‘Factory Reset’ | Reset to factory defaults | |
| ‘YES’ | Reset to factory defaults | |
| ‘NO’ | no reset to factory defaults | |
| ‘Home Position’ | Setting the start parametersDetailed information about this menu item can be found under Ä ‘Setting the start parameters’ on page 18. | |
| ‘DMX fail’ | Behaviour on DMX control failure | |
| ‘Hold’ | last DMX signal is being held | |
| ‘Blackout’ | Blackout on DMX failure | |
| ‘Auto Mode’ | Automatic programmes mode on DMX failure | |
| ‘Manual Control’ | manual mode on DMX failure | |
| ‘Sound Mode’ | Sound control on DMX failure | |
| ‘Fan Mode’ | Fan setting | |
| ‘Max’ | maximum speed | |
| ‘Automatic’ | temperature-dependent speed | |
| ‘Silent’ | silent mode | |
| ‘AutoCorrection’ | Auto-correction Pan and Tilt | |
| ‘ON’ | Auto-correction activated. The device returns to its starting position if the head is unintentionally adjusted | |
| ‘OFF’ | Auto-correction disabled (not recom‐ mended) | |
| ‘Display Backlight’ | Display illumination | |
| ‘ON’ | Illumination permanently on | |
| ‘OFF’ | Illumination is switched off after 60 seconds | |
| ‘Display Reverse’ | Display reversal | |
| ‘ON’ | Text in the display appears upside down | |
| ‘OFF’ | Text in the display appears normal | |
| ‘Autolock’ | Key lock | |
| ‘ON’ | automatic lock switched onIf the key lock is activated, all keys have no function after 60 seconds. To cancel the key lock, press [SET] for 5 seconds. | |
| ‘OFF’ | automatic lock switched off | |
| ‘Test’ | Function test | |
| ‘Start’ | Press [SET] to start the function test. Caution! The device is moving.Press [ESC] to stop the test. | |
Setting the start parameters
Use the ‘Home Position’ menu to adjust the start parameters of the device.
- Press [SET] to activate the main menu.
- Use [UP] or [DOWN] until the display shows ‘Settings’ and confirm the setting with [SET].
- Use [UP] or [DOWN] to select the submenu ‘Home Position’ and confirm with [SET].
- The device prompts you to enter a password. Press [UP] or [DOWN] repeatedly until the display shows ‘018’ and confirm the selection with [SET].
- Use [UP] or [DOWN] to select the parameter you want to set and confirm with [SET].
The following sub menus are available:
| Menu level 3 | Menu level 4 | Description |
| ‘Pan’ | ‘–128’ … ‘127’ | Setting the home position of the rotary movement |
| ‘Tilt’ | ‘–128’ … ‘127’ | Setting the home position of the inclina‐ tion movement |
System information
Use the ‘System Info’ menu to call up information about the system.
- Press [SET] to activate the main menu.
- Use [UP] or [DOWN] until the display shows ‘System Info’ and confirm the set‐ ting with [SET].
- Use [UP] or [DOWN] to select the information you want to display and confirm with [SET].
| Parameter | Function |
| ‘Current Time’ | Displays the current running time of the device. |
| ‘Total Time’ | Displays the total running time of the device. |
| ‘Current Mode ’ | Displays the current operating mode. |
| ‘Temperature Base’ | Displays the current temperature of the device base. |
| ‘Software Version’ | Displays the current software version. |

Functions in 4-channel DMX mode
| Channel | Value | Function |
| 1 | 0…255 | Rotation (pan) (0° up to the maximum value of the Pan range) |
| 2 | 0…255 | Inclination (tilt) (0° up to the maximum value of the Tilt area) |
| 3 | 0…7 | No function |
| 8…126 | Tilt rotation forward, decreasing speed | |
| 127…138 | Tilt rotation stop | |
| 139…255 | Tilt rotation backward, increasing speed | |
| 4 | 0…7 | No function |
| 8…32 | Preprogrammed automatic show 1 | |
| 33…58 | Preprogrammed automatic show 2 | |
| 59…84 | Preprogrammed automatic show 3 | |
| 85…110 | Preprogrammed automatic show 4 | |
| 111…136 | Preprogrammed automatic show 5 | |
| 137…162 | Preprogrammed automatic show 6 | |
| 163…188 | Preprogrammed automatic show 7 | |
| 189…214 | Preprogrammed automatic show 8 | |
| 215…255 | Sound control Pan and Tilt |
Functions in 8-channel DMX mode
| Channel | Value | Function |
| 1 | 0…255 | Rotation (pan) (0° up to the maximum value of the Pan range) |
| 2 | 0…255 | Fine adjustment rotation (pan) |
| 3 | 0…255 | Inclination (tilt) (0° up to the maximum value of the Tilt area) |
| 4 | 0…255 | Fine adjustment inclination (tilt) |
| 5 | 0…255 | Speed of rotation (pan) and inclination (tilt), decreasing speed |
| 6 | 0…7 | No function |
| 8…126 | Tilt rotation forward, decreasing speed | |
| 127…138 | Tilt rotation stop | |
| 139…255 | Tilt rotation backward, increasing speed | |
| 7 | 0…7 | No function |
| 8…32 | Preprogrammed automatic show 1 | |
| 33…58 | Preprogrammed automatic show 2 | |
| 59…84 | Preprogrammed automatic show 3 | |
| 85…110 | Preprogrammed automatic show 4 | |
| 111…136 | Preprogrammed automatic show 5 | |
| 137…162 | Preprogrammed automatic show 6 | |
| 163…188 | Preprogrammed automatic show 7 | |
| 189…214 | Preprogrammed automatic show 8 | |
| 215…255 | Sound control Pan and Tilt | |
| 8 | 0…189 | No function |
| 190…210 | Reset, if the value is transmitted for at least 10 seconds | |
| 211…255 | No function |
Technical specifications

| Rotation angle (pan), max.Inclination angle (tilt), max. | 540°infinite | |
| Control | DMX, buttons and display on the unit | |
| Number of DMX channels | 4, 8 | |
| Input connections Voltage supplyDMX controlOutput connections Power supply for fur‐ther devicesDMX control | lockable input socket (Power Twist) 2 × XLR chassis plug, 3 and 5-pin lockable output socket (Power Twist) 2 × XLR chassis socket, 3 and 5-pin | |
| Power consumption | 40 W | |
| Operating supply voltage | 100 – 240 V 50/60 Hz | |
| Fuse | 5 mm × 20 mm, 4 A, 250 V, fast- acting | |
| Protection class | IP20 | |
| Mounting options | hanging, standing | |
| Dimensions (W × H × D) | 300 mm × 460 mm × 186 mm | |
| Weight | 7.5 kg | |
| Ambient conditions | Temperature range | 0 °C…40 °C |
| relative humidity | 20 %…80 % (non-condensing) | |
Plug and connection assignment
Introduction
This chapter will help you select the right cables and plugs to connect your valuable equipment so that a perfect light experience is guaranteed.
Please take our tips, because especially in ‘Sound & Light’ caution is indicated: Even if a plug fits into a socket, the result of an incorrect connection may be a destroyed DMX controller, a short circuit or ‘just’ a not working light show!
DMX connections
The unit offers a 3-pin XLR socket for DMX output and a 3-pin XLR plug for DMX input. Please refer to the drawing and table below for the pin assignment of a suit‐ able XLR plug.
| Pin | Configuration |
| 1 | Ground, shielding |
| 2 | Signal inverted (DMX–, ‘cold signal’) |
| 3 | Signal (DMX+, ‘hot signal’) |
DMX connections
A five-pin XLR socket serves as DMX output, a five-pin XLR plug serves as DMX input. The drawing below and the table show the pin assignment of a matching coupling.
| Pin | Assignment |
| 12 | Ground (shielding)Signal inverted (DMX–, ‘cold’) |
| 3 | Signal (DMX+, ‘hot’) |
| 4 | unused / second connection (DMX–) |
| 5 | unused / second connection (DMX+) |
Troubleshooting
NOTICE!
Possible data transmission errors
For error-free operation make use of dedicated DMX cables and do not use ordinary microphone cables.
Never connect the DMX input or output to audio devices such as mixers or amplifiers.
In the following we list a few common problems that may occur during operation. We give you some suggestions for easy troubleshooting:
| Symptozzzm | Remedy |
| The unit does not work, the fan does not run | Check the mains connection and main fuse. |
| No response to the DMX con‐ troller |
|
If the procedures recommended above do not succeed, please contact our Service Center. You can find the contact information at www.thomann.de.
Cleaning
Optical lenses
Clean the optical lenses, that are accessible from the outside, regularly in order to optimize the light output. The frequency of cleaning depends on the operating envi‐ ronment: wet, smoky or particularly dirty surroundings can cause more accumulation of dirt on the optics of the device.
- Clean with a soft cloth using our lamp and lens cleaner (item no. 280122).
- Always dry the parts carefully
Fan grids
The fan grids of the device must be cleaned of any contamination, such as dust, etc. on a regular basis. Before cleaning, switch off the device and disconnect mains-oper‐ ated devices from the mains. Only use pH-neutral, solvent-free and non-abrasive cleaning agents. Clean the unit with a slightly damp lint-free cloth.
Protecting the environment
Disposal of the packaging material

For the transport and protective packaging, environmentally friendly materials have been chosen that can be supplied to normal recycling.
Ensure that plastic bags, packaging, etc. are properly disposed of.
Do not just dispose of these materials with your normal household waste, but make sure that they are collected for recycling. Please follow the notes and markings on the packaging.
Disposal of your old device

This product is subject to the European Waste Electrical and Electronic Equipment Directive (WEEE) in its currently valid version. Do not dispose with your normal household waste.
Dispose of this device through an approved waste disposal firm or through your local waste facility. When discarding the device, comply with the rules and regulations that apply in your country. If in doubt, consult your local waste disposal facility

















