HOME DECORATORS HDP98266BLBN Needham Wall Sconce
Safety Information
- Consult a qualified electrician with any electrical questions you may have.
IMPORTANT: Inspect the wire insulation for any cuts, abrasions, or exposed copper that may have occurred during shipping. If there is a defect in the wire, do not continue the assembly process. Please call our Customer Service Team at 1-800-986-3460.
Warranty
5-YEAR LIMITED WARRANTY
WHAT IS COVERED
The manufacturer warrants this lighting fixture to be free from defects in the materials and workmanship for a period of five (5) years
from date of purchase. This warranty applies only to the original consumer purchaser and only to products used in normal use. If this product is found to be defective, the manufacturer’s only obligation, and your exclusive remedy, is the repair or replacement of the product at the manufacturer’s discretion, provided that the product has not been damaged through misuse, abuse, accident, modifications, alterations, neglect or mishandling. This warranty shall not apply to any product that is found to have been improperly installed, assembled, or used in any way not in accordance with the instructions supplied with the product. This warranty shall not apply to a failure of the product as a result of an accident, misuse, abuse, negligence, alteration, faulty installation, or any other failure not relating to faulty material or workmanship.
WHAT IS NOT COVERED
This warranty shall not apply to the finish on any portion of the product due to weathering, as this is considered normal wear. The manufacturer does not warrant and specifically disclaims any warranty, whether expressed or implied, other than the warranty contained herein. The manufacturer specifically disclaims any liability and shall not be liable for any consequential or incidental loss or damage, including but not limited to, any labor or expense costs involved in the replacement or repair of the product.
Contact the Customer Service Team at 1-800-986-3460 or visit www.HOMEDEPOT.com/ HOME DECORATORS.
Pre-Installation
PLANNING INSTALLATION
Read all instructions before assembly.
To avoid damaging this product, assemble it on a soft, non-abrasive surface such as carpet or cardboard. Inspect each part for defects that may have occurred during shipping. Keep your receipt and these instructions for proof of purchase.
NOTE: This light fixture requires the use of one 120V, 60Hz, 6- Watt max., medium-base type S21 (ST64) LED bulb (included). Do not exceed the recommended wattage.
TOOLS REQUIRED
HARDWARE INCLUDED
NOTE: Hardware not shown to actual size.
Part Description Quantity
- AA Plastic anchor 2
- BB Mounting plate 1
- CC Wood screw 2
- DD Small screw 1
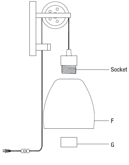
PACKAGE CONTENTS
Part Description Quantity
- A Backplate 1
- B Switch 1
- C Wheel 1
- D Knob 1
- E Socket 1
- F Glass shade 1
- G Socket ring 1
- H LED bulb 1
Installation
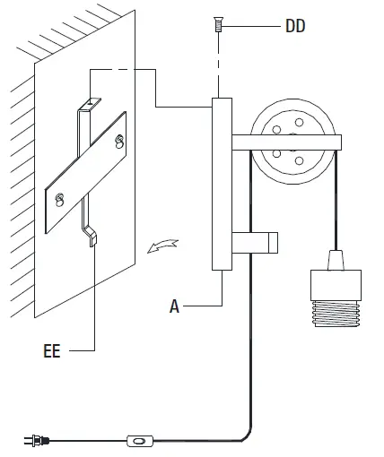
Preparing the fixture and installing the mounting plate
DANGER: Ensure the power is off at the main fuse box prior to beginning installation.
- Carefully unpack the fixture and lay out all parts on a clean surface.
- Turn off the switch at the wall and turn the power off at the main fuse box.
- Unscrew the socket ring (G) from the socket (E).
- Position the backplate (A) on the wall at the desired location and mark the wood screw (CC) locations.
- Drill 6 mm (1/4”) pilot holes on the marked spots and insert plastic anchors (AA). (If fastening with wood screws (CC) to studs, skip this step.)
- Attach the mounting plate (BB) to the wall with two wood screws (CC). Make sure the mounting bracket (EE) is facing up and down as shown.

Hanging the lamp
- Raise the backplate (A) to the wall, insert the mounting bracket (EE) into the slot in the backplate (A), and then secure the backplate (A) to the wall with the small screw (DD).

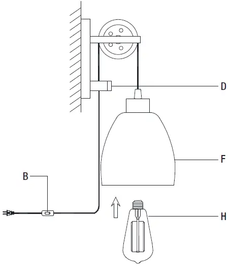
Assembling the glass shade
Place the glass shade (F) over the socket and secure with the socket ring (G).
Installing the bulb and adjusting the height
- Prior to installing the bulb, inspect the socket for a silica packet. If a packet is present, remove and throw away. Do not expose it to children or pets.
- Install one 120V, 60Hz, 6-watt max. medium-base S21 (ST64) LED bulb (H) (included) in the socket of the light fixture.
- Ensure the glass shade (F) is cool to the touch, and adjust the height of the fixture as desired by loosening the knob (D). Once the desired height is achieved, tighten the knob (D).
- Plug the cord into an outlet and turn on at the switch (B).

FCC Warning
Please note that changes or modifications of this product is not expressly approved by the party responsible for compliance could void the user’s authority to operate the equipment
NOTE: This equipment has been tested and found to comply with the limits for a Class B digital device, pursuant to Part 15 of the FCC Rules. These limits are designed to provide reasonable protection against harmful interference in a residential installation. This equipment generates, uses and can radiate radio frequency energy and, if not installed and used in accordance with the instructions, may cause harmful interference to radio communications. However, there is no guarantee that interference will not occur in a particular installation.
If this equipment does cause harmful interference to radio or television reception, which can be determined by turning the equipment off and on, the user is encouraged to try to correct the interference by one or more of the following measures:
- Reorient or relocate the receiving antenna.
- Increase the separation between the equipment and receiver.
- Connect the equipment into an outlet on a circuit different from that to which the receiver is connected.
- Consult the dealer or an experienced radio/TV technician for help.
This device complies with Part 15 of the FCC Rules. Operation is subject to the following two conditions:
- this device may not cause harmful interference, and
- this device must accept any interference received, including interference that may cause undesired operation..
LIGHTING PARTNERS JAX, INC. 3723 Regent Boulevard, Jacksonville, FL 32224. Phone: 904.642.4340.
Care and Cleaning
Clean the light fixture with a soft, dry cloth. Do not use any cleaners with chemicals, solvents, or harsh abrasives.
Troubleshooting
| Problem | Possible Cause | Solution |
| The bulb will not light. | □ The bulb is burned out. | □ Replace the light bulb. |
| □ The power is off. | □ Ensure that the power supply is turned on. | |
| □ Check the wiring. | ||
| □ The circuit breaker is off. | □ Ensure that the circuit breaker is set in the on position. | |
| The fuse blows or a circuit breaker trips when the light is turned on. | □ There is an exposed wire. □ There are too many items on one circuit. | □ Discontinue use of the light fixtur . □ Contact a qualified electrician or call the Customer Service Team at 1-800-986-3460. □ Unplug other items on the circuit. |
Questions, problems, missing parts? Before returning to the store, call Home Decorators Collection Customer Service
8 a.m. – 7p.m., EST, Monday – Friday, 9 a.m. – 6 p.m., EST, Saturday
1-800-986-3460






















