Item # 1006 457 690
Model # HD-1862BNBK
USE AND CARE GUIDE
4-LIGHT WALL SCONCE
HD-1862BNBK 4-Light Wall Sconce
THANK YOU
We appreciate the trust have placed in Home Decorators Collection through the purchase of this 4-Light
Wall sconce. We strive to continually create quality products designed to enhance your home. Visit us online to see our full line of products available for your home improvement needs. Thank you for choosing Home Decorators Collection!
Safety Information
- Read all instructions before assembling and installing the product.
- Consult a qualified electrician for installation of this fixture.
- If you have any non-electrical questions about this fixture, please contact our Customer Service Team at 1-800-986-3460 or visit
WWW.HOMEDEPOT.COM/HOMEDECORATORS. - Save these instructions for future reference.
DANGER: Risk of electrical shock. Disconnect power before installation.
IMPORTANT: Inspect the wire insulation for any cuts, abrasions, or exposed copper that may have occurred during shipping. If there is a defect in the wire, do not continue the assembly process. Please call our Customer Service Team at 1-800-986-3460.
Warranty
LIMITED WARRANTY
WHAT IS COVERED
The manufacturer warrants this lighting fixture to be free from defects in materials and workmanship for a period of three (5) years from the date of purchase. This warranty applies only to the original consumer purchaser and only to products used in normal use and service. If this product is found to be defective, the manufacturer’s only obligation,
and your exclusive remedy is the repair or replacement of the product at the manufacturer’s discretion, provided that the product has not been damaged through misuse, abuse, accident, modification, alteration, neglect, or mishandling.
WHAT IS NOT COVERED
This warranty shall not apply to any product that is found to have been improperly installed, set-up, or used in any way not in accordance with the instructions supplied with the product. This warranty shall not apply to a failure of the product as a result of an accident, misuse, abuse, negligence, alteration, faulty installation, or any other failure not relating to faulty material or workmanship. This warranty shall not apply to the finish on any portion of the product, such as surface discoloration and/or weathering, as this is considered normal wear and tear. The manufacturer does not warrant and specially disclaims any warranty, whether express or implied, of fitness for a particular purpose, other than the warranty contained herein. The manufacturer specifically disclaims any liability and shall not be liable for any consequential or incidental loss or damage, including but not limited to any labor/ expense costs involved in the replacement or repair of said product.
Contact Customer Care at 1-800-986-3460 or visit WWW.HOMEDEPOT.COM/HOMEDECORATORS.
Pre-Installation
PLANNING INSTALLATION
Read all instructions before assembly and installation of the product. To avoid damaging this product, assemble it on a soft, non-abrasive surface, such as carpet or cardboard. Inspect each part for defects that may have occurred during shipping. Keep your receipt and these instructions for proof of purchase.
TOOLS REQUIRED
![]() | Safety goggles |
![]() | Measuring tape |
![]() | Phillips screwdriver |
| Flathead screwdriver | |
![]() | Wire strippers |
![]() | Wire cutters |
![]() | Ladder |
![]() | Electrical tape |
HARDWARE INCLUDED
NOTE: Hardware not shown to actual size. 
| Part | Description | Quantity |
| AA | Wire Nut | 3 |
| BB | Mounting Plate | 1 |
| CC | Outlet Box Screw | 2 |
| DD | Mounting Screw | 2 |
| EE | Green Ground Screw | 1 |
PACKAGE CONTENTS

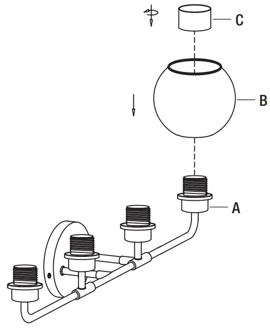
| Part | Description | Quantity |
| A | Lamp Body | 1 |
| B | Glass Shade | 4 |
| C | Socket Ring | 4 |
| D | 4.5W LED G16.5 bulb | 4 |
Installation
- Remove the mounting plate
• Unlock the Mounting Screws (DD) from the Mounting Plate (BB), and remove the Mounting Plate (BB) from the Lamp Body (A).
- Installing the mounting plate
WARNING: Turn the power off at the main fuse box before installation.
• Attach the Mounting Plate (BB) to the junction box (not included) with the two Outlet Box Screws (CC) provided.
- Making the electrical connections
NOTE: Always use wire nuts (AA) or barrettes (included) to connect wires and push all excess wires and connections back into the junction box.
• Connect the ground wire from the branch circuit to the Green Ground Screw (EE) on the Mounting Plate (BB) and add 6 in. for the ground connection.
• Connect the fixture wires as follows:
- Installing the lamp body
• Attach the Lamp Body (A) to the Mounting Plate (BB), Align the holes on the Lamp Body (A) with those on the side of the Mounting Plate (BB), and secure it with the Mounting Screws (DD).
- Installing the glass shade
• Place the Glass Shade (B) on the socket of the Lamp Body (A), then secure it with the Socket Ring(C). Do not over-tighten.
- Installing the bulbs
CAUTION: Oil from fingers will decrease the life of the 4.5W LED G16.5 bulbs (included).
• With a tissue or glove (not included), install 4.5W LED G16.5 Bulbs (D) into each socket of the Lamp Body (A).
Care and Cleaning
- Clean the light fixture carefully with a soft, dry cloth. Do not use any cleaner with chemicals, solvents, or harsh abrasives.
Troubleshooting
| Problem | Possible Cause | Solution |
| The bulb will not light. | The bulb is burned out. | Replace the light bulb. |
| The power is off. | Ensure that the power supply is turned on. | |
| The circuit breaker is off. | Ensure that the circuit breaker is set to the ON position. | |
| The fuse blows or the circuit breaker trips when the light is turned on. | There are too many items on one circuit. | Unplug the other items on the circuit. Contact a qualified electrician or call the Customer Service Team at 1-800-986-3460. |
WWW.HOMEDEPOT.COM/HOMEDECORATORS
Please contact 1-800-986-3460 for further assistance.
Questions, problems, missing parts? Before returning to the store,
call Home Decorators Collection Customer Service
8 a.m.-7p.m.,EST,Monday-Friday, 9a.m.-6 p.m., EST,Saturday
1-800-986-3460
WWW.HOMEDEPOT.COM/HOMEDECORATORS
Retain this manual for future use.









• Connect the fixture wires as follows:














