HAMPTON BAY HD32661A4 1-Light Wall Sconce

THANK YOU
We appreciate the trust and confidence you have placed in Hampton Bay through the purchase of this light fixture. We strive to continually create quality products designed to enhance your home. Visit us online to see our full line of products available for your home improvement needs. Thank you for choosing Hampton Bay!
Product Information
- Item #: 0000 000 000
- Model #: HD32661A4
- Product Name: 1-Light Wall Sconce
- Brand: Hampton Bay
Product Safety Information
It is important to read and understand the information provided in the manual before attempting to assemble, install or operate the product. Failure to do so could lead to electrical shock, fire, or other injuries that could be hazardous or even fatal.
Before starting the installation or removal of a previous fixture, disconnect the power by turning off the circuit breaker, removing the fuse at the fuse box, or tripping the breaker that controls that circuit. Use a voltage tester to make sure that no wire is live before touching any wire. When replacing fuses, turn off the main power first. Make sure your hands and feet are dry and place one hand behind your back to prevent electricity from making a complete circuit through your chest. Touch the plug fuse only by its insulated rim. Remove the cartridge fuses with a fuse puller. Use tools with insulated handles and ladders made of wood or fiberglass. To protect children, place a safety cover over any unused outlets.
If you have any electrical questions, consult a qualified electrician. If you have any non-electrical questions about this fixture, please call our Customer Service Team at 1-855-HD-HAMPTON or visit HAMPTONBAY.COM. Please reference the model and item numbers.
Product Warranty
Warranty
- 3-Year Warranty
The manufacturer offers a three-year warranty for this product. The warranty covers any defects in materials or workmanship. The manufacturer specifically disclaims any liability and shall not be liable for any consequential or incidental loss or damage, including but not limited to any labor/expense costs involved in the replacement or repair of said product.
Product Usage Instructions
- Read all instructions before installing the product.
- Inspect the wire insulation for any cuts, abrasions, or exposed copper that may have occurred during shipping. If there is a defect in the wire, do not attempt installation. Please call the Customer Service Team at 1-855-HD-HAMPTON.
- Before starting the installation, disconnect the power by turning off the circuit breaker, removing the fuse at the fuse box, or tripping the breaker that controls that circuit.
- Choose a soft, non-abrasive surface like carpet or cardboard to avoid damaging the product.
- Assemble and install the product according to the instructions provided in the manual.
Safety Information
READ AND SAVE THESE INSTRUCTIONS
- For your protection and safety, carefully read and understand the information provided in this manual completely before attempting to assemble, install, or operate this product. Failure to do so could lead to electrical shock, fire, or other injuries that could be hazardous or even fatal.
- Before touching any wire, use a voltage tester to make sure it is not live.
- When replacing fuses, turn off the main power first. Make sure your hands and feet are dry, and place one hand behind your back to prevent electricity from making a complete circuit through your chest. Touch the plug fuse only by its insulated rim. Remove the cartridge fuses with a fuse puller.
- Use tools with insulated handles and ladders made of wood or fiberglass.
- To protect children, place a safety cover over any unused outlets.
DANGER: Before starting the installation of this fixture or removal of a previous fixture, disconnect the power by turning off the circuit breaker, removing the fuse at the fuse box, or tripping the breaker that controls that circuit. Tape a sign to the panel warning others to leave the circuit alone while you work.
CAUTION: Consult a qualified electrician if you have any electrical questions. If you have any non-electrical questions about this fixture, please call our Customer Service Team at 1-855-HD-HAMPTON or visit HAMPTONBAY.COM. Please reference the model and item numbers.
Warranty
THREE (3) YEAR WARRANTY
WHAT IS COVERED
The manufacturer warrants this fixture to be free from defects in materials and workmanship for a period of three (3) years from the date of purchase. This warranty applies only to the original consumer purchaser and only to products used in normal use and service. If this product is found to be defective, the manufacturer’s only obligation and your exclusive remedy is the repair or replacement of the product at the manufacturer’s discretion, provided that the product has not been damaged through misuse, abuse, accident, modifications, alteration, neglect, or mishandling. This warranty shall not apply to any product that is found to have been improperly installed, set up, or used in any way not in accordance with the instructions supplied with the product. This warranty shall not apply to a failure of the product as a result of an accident, misuse, abuse, negligence, alteration, faulty installation, or any other failure not relating to faulty material or workmanship. This warranty shall not apply to the finish on any portion of the product, such as surface and/or weathering, as this is considered normal wear and tear.
WHAT IS NOT COVERED
The manufacturer does not warrant and specifically disclaims any warranty, whether expressed or implied, of fitness for a particular purpose, other than the warranty contained herein. The manufacturer specifically disclaims any liability and shall not be liable for any consequential or incidental loss or damage, including but not limited to any labor/expense costs involved in the replacement or repair of said product.
Contact the Customer Service Team at 1-855-HD-HAMPTON or visit www.HAMPTONBAY.com.
Pre-Installation
PLANNING INSTALLATION
- Read all instructions before installing.
- To avoid damaging this product, place it on a soft, non-abrasive surface, such as carpet or cardboard.
IMPORTANT: Inspect the wire insulation for any cuts, abrasions, or exposed copper that may have occurred during shipping. If there is a defect in the wire, do not attempt installation. Please call the Customer Service Team at 1-855-HD-HAMPTON.
NOTE: This product requires one 100W maximum medium base (E26) type “A” or 16W maximum medium base (E26) self-ballasted LED bulb (sold separately).
TOOLS RECOMMENDED (NOT INCLUDED)

HARDWARE INCLUDED

| Part | Description | Quantity |
| AA | Crossbar assembly | 1 |
| BB | Outlet box screw | 2 |
| CC | Wire connector | 3 |
NOTE: Hardware is not shown to actual size.
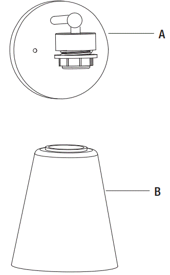
PACKAGE CONTENTS

| Part | Description | Quantity |
| A | Fixture body | 1 |
| B | Shade | 1 |
Installation
Installing the crossbar assembly

- Secure the crossbar assembly (AA) to the outlet box (not included) with the outlet box screws (BB). Tighten until snug.
NOTE: The preassembled mounting screws on the crossbar should protrude outward.
Testing the backplate fit to the crossbar assembly

- Remove the mounting balls (1) from the crossbar assembly (AA).
- Fit the backplate on the fixture body (A) to the crossbar assembly (AA) and secure with the mounting balls (1).
- If they do not align, adjust the length of the mounting screws on the crossbar assembly (AA) by unscrewing the preassembled hex nuts.
- Screw the mounting screws in or out of the crossbar assembly (AA) until the desired length is achieved.
- Once the backplate on the fixture body (A) is secure, remove the mounting balls (1) and the fixture body (A) and proceed to Step 3.
NOTE: The backplate on the fixture body (A) should be snug against the wall and the mounting balls (1).
Making the electrical connections
Use wire connectors (CC) to connect the wires.

- Ground Wire:
- Wrap the supply ground wire around the green ground screw on the crossbar assembly (AA), no less than 2 in. from the end of the wire. Tighten the ground screw.
- Connect the fixture ground wire to the supply ground wire with a wire connector (CC).
- Supply Wire:
- Connect the supply white wire to the white fixture supply wire with a wire connector (CC).
- Connect the supply black (or red) wire to the black fixture supply wire with a wire connector (CC).
- Wrap each connection with approved electrical tape and carefully insert all of the connected wires into the outlet box.
Attaching the fixture body to the outlet box

- Re-attach the backplate on the fixture body (A) to the crossbar assembly (AA).
- Secure with the previously removed mounting balls (1).

- Installation Option 1: Up light

- Installation Option 2: Down light
Installing the shades and the light bulbs

- Remove the socket collar (2) from the socket on the fixture body (A).
- Then, place the shade (B) over the socket on the fixture body (A) as shown.
- Secure by threading the socket collar (2) onto the socket.
- Hand-tighten until snug.
- Install the correct bulb (not included) referring to fixture markings and/or labels for maximum wattage.
NOTE: Uses one 100W maximum medium base (E26) type “A” or 16W maximum medium base (E26) self-ballasted LED bulb (sold separately).
Care and Cleaning
- Do not use any cleaners with chemicals, solvents, or harsh abrasives. Use only a dry, soft cloth to dust or wipe carefully.
- To clean the fixture, disconnect power by turning off the circuit breaker or by removing the fuse at the fuse box, and use a dry or slightly dampened, clean cloth to wipe the exterior surface of the fixture.
Troubleshooting
| Problem | Possible Cause | Solution |
| The light(s) will not turn on. | The bulb is burned out. | Replace the light bulb. |
| The power is off. | Ensure the power supply is turned on. | |
| There is a faulty switch. | Test or replace the switch. | |
| There is a faulty wire connection. | Check the wiring. | |
| The fuse blows or the circuit breaker trips when the light is turned on. | There are crossed wires, or the power wire is grounding out. | Discontinue use of the light. Check the wire connections. Contact a qualified electrician or call the Customer Care Service Team at 1-855-HD-HAMPTON. |
Service Parts
MODEL: HD32661A4

| Part | Description |
| AA | Crossbar assembly |
| BB | Outlet box screw |
| CC | Wire connector |

| Part | Description |
| A | Fixture body |
| B | Shade |
Contacts
Questions, problems, missing parts?
- Before returning to the store, call Hampton Bay Customer Service
- 8 a.m. – 7 p.m., EST, Monday – Friday, 9 a.m. – 6 p.m., EST, Saturday
- 1-855-HD-HAMPTON
- HAMPTONBAY.COM
Retain this manual for future use.












