Diamond HN202T-4T 15/-25 °c 13.2 m³ Split Refrigeration Unit

PURPOSE OF THE MANUAL
The purpose of this manual is to assist operators in placing the machine into operation correctly, as well as to supply advice and explanations about the relevant safety regulations in force within the European Community and to avoid any possible risks caused by incorrect use.
NORMS FOR GENERAL USE
- For a correct and safe use of the machine, it is necessary to follow the instructions and guidelines stated in this manual since these refer to:
- installation
- start-up and use
- maintenance
- placing out of service and disposal
- The manufacturer cannot accept any liability for damages resulting from failure to follow the instructions, advice and warnings given in this use and maintenance manual.
- Read the labels on the machine with care. Do not cover them for any reason and replace them in the event that they become damaged.
- Keep this manual carefully.
- The manufacturer reserves the right to update this manual without any prior notice.
- The machines were designed solely for industrial and commercial refrigeration in a stable seat (the application range is quoted in the company’s general catalogue). They are not intended for any other purpose. Any other use is to be considered improper and therefore dangerous.
- After removing the packaging, check that every part of the machine is intact; if not, contact the relevant dealer.
- Do not use the machine in atmospheres with inflammable gas or in environments where there is a risk of explosion.
- If an operating fault occurs, switch off the machine.
- Any cleaning or maintenance operations must be carried out by specialist technical staff only.
- Do not wash the unit using direct or pressurised jets of water or with noxious substances.
- Do not use the machine without its safeguards.
- Do not place liquid containers on the machine.
- Keep the machine well away from sources of heat.
- In the event of fire, use a dry-chemical extinguisher.
- Packaging material must be suitably disposed of in accordance with current laws.
MACHINE IDENTIFICATION
All machines are fitted with an identification label (the position of which is shown in Drawing 1), containing the following information:
- code number
- serial number
- electrical input (A)
- electrical input (W)
- refrigerant type
- power supply tension (Volt/Ph/Hz)
- maximum operating pressure value PS HP (high-pressure side) – PS LP (low-pressure side)
- machine category according to the Directive 97/23EC (PED)
Drawing 1

Serial number identification:
- 1st and 2nd numbers = the last two numbers of the year of production
- 3rd and 4th numbers = the week number of the year in which the machine was made
- 5th, 6th, 7th and 8th numbers = progressive number
MACHINE DESCRIPTION
Blocksystems from the ST and SP range are formed by a condensing unit (cold room exterior), an evaporating unit (cold room interior), and an electronic control panel located inside the condensing unit. The refrigerant follows the compression refrigerating cycle system.
Blocksystems are equipped with electrical defrosting system (MBP = medium temperature and LBP = low temperature models) or with a ventilation defrosting system (HBP = high temperature models), controlled by an electronic control panel. Defrosting occurs automatically with a cyclical frequency that can be controlled by the user; it can also be enabled manually, using the relevant control.
The SP-ST range is available in two different versions: nitrogen-charged with shut-off valve connections for all models or, where available, pre charge refrigerant and fast connections. In this case it is possible to request the supply of pre-charged connections pipes.
• SP(ST) = with nitrogen charge and shutt-off valve
• SP(ST)/R = with gas charge, fast connections and pipe connections of the following lenghts: 2,5/5/10m
TECHNICAL DATA
The tables at the end of this manual include the main technical data for Blocksystem units.
INSTALLATION
Before installing, it is necessary to make a layout of the refrigerating system; this must include the following:
- all components of the refrigerating system (i.e.: condensing unit, evaporator, thermostatic valve, electrical panel, piping dimensions, any safety devices, etc.)
- system location
- piping location
- Installation must only be performed by qualified staff with the necessary technical requirements according to the country in which the machine is installed.
- Blocksystems from the SP range must only be installed on vertical walls. The ST models must only be installed in horizontal position.
- The machine must not be installed in a closed environment where good air flow is not guaranteed.
- Leave enough space around the machine for it to be possible to perform maintenance operations in safe conditions.
- When moving the machine, use cut-proof protective gloves or a suitable hoisting system.
- For information about weight, see the table of general features at the end of this manual.
For the correct operation of the Blocksystem, we recommend the following minimum thickness for the cold room walls (polyurethane insulation): insulating panel thickness for MBP and HBP (medium temperature and high temperature) cold rooms: 60 mm; insulating panel thickness for LBP (low temperature) cold rooms: 100 mm.
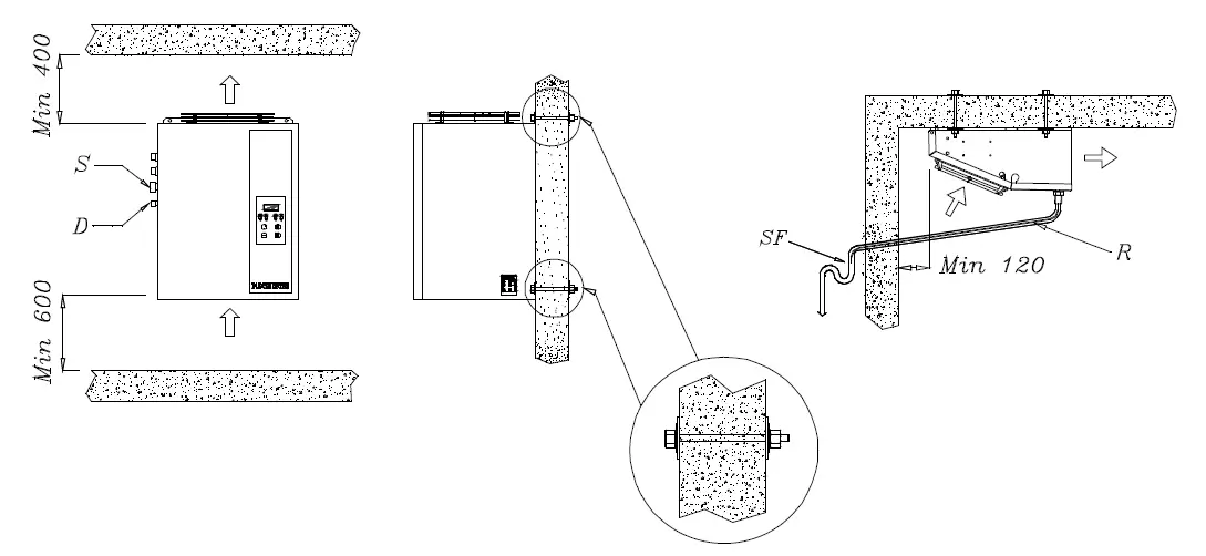
Installation
- Use a forklift truck (or other suitable hoisting means) to lift the Blocksystem, making use of the special hooks provided (SP model only).
- For ST Blocksystems, fix the condensing unit to the floor or ceiling using 4 screws, as illustrated in Drawing
- For SP Blocksystems, fix the condensing unit to a vertical wall using 4 screws as illustrated in Drawing 3 –page 23.; be sure to respect the minimum height from the floor of 500 mm.
- Fix the evaporator to the inside of the cold room using 4 steel bolts (see Drawing 2 and 3).
- Extend the overflow pipe with a rubber hose (min. temperature resistance: 90°C) as far as the outside of the cold room and in such a way as to create a siphon (see Drawing 2 and 3). PLEASE NOTE: for MBP and LBP (medium temperature and high temperature) models, insert a drainage heater inside the hose.
- Make a hole in the cold room wall (see Drawing 2 and 3) for the passage of suction and discharge pipes as well as for the overflow pipe.
- Make a hole for the passage of the electrical cables: power cable, fans cable, drainage heater cable, defrost heater cables, cold room light cable.
- Make another hole for the passage of the door microswitch, temperature probe and defrost end probe cables. PLEASE NOTE: these cables must
- The models SPM300_, SPM370_, SPL350_ and SPL450 are supplied with 2 support legs (see drawing 21 –page 93 for the relevant assembly positions).
Drawing 2
ST Model

Key
- S = Suction pipe
- D = Discharge pipe
- Sf = Water drainage siphon
- R = Drainage heater (MBP and LBP models only)
Drawing 3
SP Model

Key
- S = Suction pipe
- D = Discharge pipe
- Sf = Water drainage siphon
- R = Drainage heater (MBP and LBP models only)
Evaporator installation
See Drawing 2, 3 and attached documents
Refrigerating connection
In order to make the connections, suction and liquid line piping with the same diameters as the connections fitted on the machine must be provided.
The recommended diameters are valid up to a maximum length of 10m. For longer sizes, piping diameters must be of a correct size to guarantee the proper gas speed.
Pipes must be fixed to the wall on bends and welding points and every 1.5m – 2m on straight stretches.
Drawing 4

Drawing 5

Suction line insulation
With an evaporating temperature lower than -10°C, the suction line pipes must be insulated with an anti-condensate pipe that has a thickness of at least 13mm in order to limit its overheating.
Oil return
All systems must be designed so as to ensure oil return to the compressor.
In the situation shown in Drawing 4 (condensing unit placed above the evaporator), it is important to fit siphons along the suction line every 2 m of difference in height so as to guarantee oil return to the compressor. In any case, along horizontal stretches it is important for the suction line to have a slope of at least 3% towards the compressor.
Adding oil
In the majority of installations where all piping is no longer than 10 m, it is not necessary to add oil. However, when the pipes are oversized compared to standard conditions or they are longer than 10m, a small quantity of oil must be added.
Vacuum
For the correct operation of the refrigerating equipment and the duration of the compressor, it is very important for the vacuum in the system to be set correctly. This will ensure that air and above all, humidity contents are below the permitted values. The introduction of new gas types has meant the use of new polyester-type oils that have high-level hygroscopic characteristics and which require more attention when setting the vacuum. We would advise setting the vacuum on both sides of the circuit. In any case, the target value is a pressure no higher than 5 Pa.
Important:
- in order to avoid irreparable damage to the compressor, never start it in vacuum conditions and without the gas charge.
- During the vacuum and charge procedure, remember to energise the solenoid valve coil of the liquid line
Refrigerant charge
After the vacuum-setting operation, the system must be charged with the type of refrigerant stated on the label or with one of the alternative types allowed. To load the refrigerant correctly, we recommend that, after setting the vacuum, you pump part of the refrigerant into the compressor to “break the vacuum”. Then start the compressor so that it sucks up the residual part of the refrigerant.
For the correct calculation of the gas charge, connect gauges to the pressure inlets (already fitted). Pressure values must be compatible with the operating conditions of the machines.
Important: mixtures of refrigerating gas must be charged into the system in their liquid state only.
Loading operations must be carried out by specialised technicians only.
For charging, recovering or checking the refrigerant, use gloves to protect against low temperatures.
Leakage checks
A system can operate correctly over time and for the entire duration of the compressor only if all instructions for a correct installation are followed. These include the absence of refrigerant leaks. It has been estimated that leaks of 10% of the refrigerant charge during 15 years of compressor operation still guarantee a good level of operation of the refrigerating system. With the new types of gas (R134a, R404A and mixtures) the possibilities of refrigerant leaks through welding or connections that have not been carried out correctly increase because of the reduced molecular dimensions of these gas. For these reasons, it is very important that welding is checked for leakage using methods and equipment that are suitable for the type of refrigerant in use.
Crankcase heater (optional)
Whenever the compressor operates in ambient temperatures of less than +5°C, it is advisable to use a crankcase heater in order to avoid the build-up of liquid in the lower side of the compressor during stoppages. Furthermore, it is necessary to choke the condenser, for example, by reducing its air capacity (i.e.: by means of a speed regulator).)
Operating cycles
- The system has to be sized so as not to have more than 5 on/off cycles per hour.
- The intervention of the Thermal/Amperometric protection device switches off the compressor, which will be started again after the time required for the protection device contacts to be connected.
Operating times
- The systems must be sized for max. 80% of standard compressor operation.
- 100% compressor operation only occurs in special overload and ambient temperature conditions that are outside of the normal permitted operating limits.
Pressure switches
- All machines are equipped with HBP safety pressure switches set at max. 28 bar.
- LBP safety pressure switches are set according to the gas in use and the compressor application. We recommend using the value stated in the following table:

Pressure switch for Pump-down: this must be set considering that the compressor must not start up at intervals that are too close together (5 minutes at least). In these cases, we recommend the use of a timer for the compressor start delay.
The risk category of each machine is stated on its identification label.
Pressure relief valves on the liquid receiver
- The machines in risk “category 0” are not equipped with pressure relief valves.
- The machines in risk “category ≥ 1” are equipped with pressure relief valves. The risk category of each model is stated on its identification label.
Electrical connection
Electrical connection operations must only be performed by qualified staff with the relevant technical skills according to the requirements of the country where the machine is installed.
- Ensure that the mains voltage corresponds to that on the rating plate, which is fixed to the power cable of the machine. The power cable must be properly extended (avoid coils and loops), in a position that is protected against knocks, or tampering from children; it must also be well away from liquids, water, or sources of heat, and it must not be damaged (if damaged, it must be replaced by qualified staff).
- Fit a differential thermomagnetic switch with a type-C intervention curve (10-15 In) between the power supply line and the Blocksystem, making sure that the mains voltage corresponds to that on the rating plate (see the label on the machine). The maximum allowed tolerance is ± 10% of rated voltage. When sizing the differential thermomagnetic switch, always take into account the electrical input values stated on the label.
- PLEASE NOTE: the thermomagnetic switch must be placed next to the Blocksystem so as to be easily seen and reached by a technical engineer in case of maintenance.
- The section of the power supply cable must be adequate for the power absorbed by the machine, which is stated on the relevant label fixed to the machine itself.
- The law requires that the unit be earthed; therefore, it is necessary to connect it to an efficient earthing system. No liability whatsoever can be accepted in the event of failure to comply with this requirement or if the electrical system to which the machine is connected does not comply with the regulations in force.
- Fix the door microswitch (supplied) to the leaf of the cold room door. Each time that the door is opened, this will automatically switch on the cold room light and stop the compressor, the evaporator and condenser fans as well.
- PLEASE NOTE: the door microswitch cable must not pass in the vicinity of cables carrying electrical current in order to prevent disturbances to the electrical card.
- Fix the light fitting to the cold room ceiling and connect the light cable following the instructions supplied inside the fitting itself.
- Machines from the LBP (low temperature) range (-15°C/-25°C) are supplied with a cable to connect the door heater. This must be connected using a suitable fuse for the door heater used.
- PLEASE NOTE: DO NOT connect the ”COLD ROOM LIGHT” or “DOOR HEATER” cables to a 230 Volt line. The labels attached to each cable show the type of connection to be made.
The maximum power of any light fitting that can be connected to the cold room lighting cable (supplied) is 100W for incandescent light bulbs and 66W for neon bulbs (power supply 230V-50Hz). The maximum power of the heater that can be connected to the door heater cable (supplied on all LBP models) is 300W (power supply 230V-50Hz). - It is prohibited to perform any maintenance operation while the Blocksystem is energised.
- Any liability deriving from failure to respect the above instructions will not be accepted.
STARTING THE MACHINE
Before starting the Blocksystem, make sure of the following:
- All locking screws are correctly tightened
- All electrical connections have been made correctly.
- The cold room door is closed so that the door microswitch contact is closed.
Control panel description

![]() | Green “COMPRESSOR” LED OFF: The compressor is off LIT: The compressor is operating. BLINKING: The switch on request is pending (delays or protective devices activated) |
![]() | Green “FANS” LED OFF: The fans are off LIT: The fans are operating BLINKING: The switch on request is pending (delays or protective devices activated) |
![]() | Green “DEFROSTING” LED OFF: Defrosting is not activated LIT: Defrosting is in progress BLINKING: Manual defrosting is in progress; a defrosting request is pending (delays or protective devices activated); network synchronised (master/slave) defrosting |
![]() | Yellow “ALARM LED” OFF: No alarm is in progress LIT: A serious alarm is in progress (and alarm relay activated) BLINKING: A non-serious alarm is in progress or a serious alarm has been silenced (alarm relay deactivated) |
|
| “SETPOINT” key + “SETPOINT/REDUCED SET” green LED LIT: The setpoint is displayed BLINKING: The reduced set is activated ENTER” key: This is used to set the setpoint, to access the programming menu, and to view the machine status (if held down for 1 second); to enter the programming mode, this key must be held down for 5 seconds. |
![]() | “UP” key: This is used to command manual defrosting (if held down for more than 5 seconds) as well as to increase the value of the parameter being displayed and to scroll forwards through the menu list. |
![]() | “ON/OFF” key: This is used as a manual on-off control, to confirm a parameter value and it also allows you to return to the previous menu. To switch the machine on or off, hold this key down for more than 5 seconds. |
![]() | “DOWN” key: This is used to command the lights manually (if held down for 1 second); it also decreases the value of the parameter being displayed and scrolls back through the menu list. |
Switching on/off
When the machine is energised, the display will read OFF and show the coldroom temperature alternately. To switch the Blocksystem on (off), hold down the “ON/OFF” key on the front of the machine for more than 5 seconds.
Coldroom temperature adjustment
The temperature ranges within which the Blocksystem can operate are as follows:
| Minimum | Maximum | |
| High Temperature (HBP) | +2 | +10 |
| Medium Temperature (MBP) | -5 | +5 |
| Low Temperature (LBP) | -25 | -15 |
The temperature adjustment setpoint can be accessed directly for display or adjustment purposes.
- Press and release SETPOINT: the display will read “SEt” (the procedure is slightly different if there are alarms in progress; see the machine status display paragraph)
- Press SETPOINT: the green SET LED will switch on and the Setpoint value will be displayed
- Press UP or DOWN to set the new value
- Press SETPOINT or ON/OFF (or wait for the 5-second timeout) to confirm the value (the SET LED will switch off and the display will read “SEt”)
- Press ON/OFF (or wait for the 5-second timeout) to return to the normal display mode
How to vary parameters
Blocksystem operation is governed by parameters that have been stored in the memory of the electronic control unit by the manufacturer (see the parameters table). These factory settings should not be varied unless strictly necessary and in all cases, such operations are only to be carried out by qualified staff.
Parameters are not only divided by function, they are also divided according to their security/accessibility levels: level 0 Setpoint parameters direct access (see paragraph 7.3) level 1 frequently used parameters access without password (see paragraph 7.5) Parameters can be varied as follows:
- from the keyboard
- via LAN network (Master/Slave)
- via Supervision network
How to vary level 1 parameters
- hold down SET for 5 seconds until the display reads “reg” (adjustment parameters)
- press UP or DOWN until the required menu appears on the display
- press SET to access the menu; the code number for the first parameter in the selected menu will appear
- press UP or DOWN until the required parameter appears
- press SET to view the value of the parameter
- press UP or DOWN to set the required value
- press SET to confirm the value and return to the parameters list; press ON/OFF to confirm the value and return to the menu list
- press ON/OFF to pass from the parameters list to the menu list
- press ON/OFF again to exit the editing procedure, If no key is pressed for more than 15 seconds, any value shown on the display will be stored in the memory for the relevant parameter and there will be a forced exit from the parameters variation procedure.
Machine status display
- press and release SET: the display will read “SEt” or “AAL” if there are any alarms in progress
- press UP or DOWN until the required status is displayed
AAL alarms in progress (if present)
SEt setpoint
Pb1 coldroom temperature probe value
Pb2 evaporator temperature probe value
Pb3 probe 3 value (if present)
Out relay outputs status
InP digital inputs status - press SET to view the value
- For alarm status, output status or input status, press UP or DOWN to scroll through the alarms in progress, the outputs or the inputs,
- press SET or ON/OFF (or wait for the 5-second timeout) to return to the status list
- press ON/OFF (or wait for the 5-second timeout) to return to the normal display mode
| Code | Level | Descr. | Range | Unit | MBP | LBP | HBP | ||||
| List of -PPS passwords | |||||||||||
| PPA | Parameters access password Entering a pre-set password will give access to protected parameters | 0 … 255 | – | – | – | ||||||
| Code | Level | Descr. | Range | Unit | MBP | LBP | HBP | ||||
| List of -rEG adjustment parameters | |||||||||||
| SEt | 0 | Setpoint | LSE …HSE | °C [°F] | 2 | -18 | 5 | ||||
| diF | 1 | Differential temperature > setpoint + diff. -> adjustment On temperature ≤ setpoint -> adjustment Off | 0.1 … 50.0 | °C [°F] | 2 | 2 | 2 | ||||
| List of -Pro probe parameters | |||||||||||
| CA1 | 1 | Probe 1 calibration | The value assigned to this parameter is added to (positive value) or taken away from (negative value) the temperature detected by the probe | -20.0 … 20.0 | °C [°F] | 0 | 0 | 0 | |||
| CA2 | 1 | Probe 2 calibration | 0 | 0 | 0 | ||||||
| CA3 | 1 | Probe 3 calibration | 0 | 0 | 0 | ||||||
| List of -CPr compressor parameters | |||||||||||
| Ont | 1 | Compressor ON time in the event of probe failure | In the event of an adjustment probe error, the compressor is enabled in cyclical mode with set operation and off times. In particular: Ont=0: the compressor remains off Ont>0 and OFt=0: the compressor remains on | 0 … 60 | min | 15 | 15 | 15 | |||
| OFt | 1 | Compressor OFF time in the event of probe failure | 0 … 60 | min | 15 | 15 | 15 | ||||
| dOn | 1 | Compressor activation delay The time, starting from the switch on request, after which the compressor is effectively activated. In the event of network control in sequential mode, this represents the activation delay from compressor to compressor | 0 … 250 | sec | 0 | 0 | 0 | ||||
| dOF | 1 | Minimum compressor OFF time The time, starting from the moment of deactivation, for which it is not possible to restart the compressor | 0 … 60 | min | 3 | 3 | 3 | ||||
| dbi | 1 | Delay between switch on times The time, starting from the moment of previous activation, for which the compressor cannot be restarted. | 0 … 60 | min | 0 | 0 | 0 | ||||
| OdO | 1 | Outputs delay at power-on (compressor, fans, defrosting) This is used to delay the enabling of adjustments after the instrument has been switched on for a set amount of time. The transition from stand-by to machine activated (ON command from the keyboard) bypasses this delay | 0 … 60 | min | 3 | 3 | 3 | ||||
| List of -dEF defrosting parameters | |||||||||||
| dtY | 1 | Defrosting type 0 = heating element: ends at temperature or after maximum safe time (timeout) 1 = hot gas: ends at temperature or after maximum safe time (timeout) For defrosting using a heating element, there is a 1 second delay between the compressor switching off and the defrosting relay being triggered | 0,1 | 0 | 0 | 0 | |||||
| dit | 1 | Defrosting interval The maximum time (from start to start) between two consecutive defrosting cycles. When this time expires, a defrosting cycle is enabled (cyclical defrosting). The timer is reset at each defrosting request (even if not cyclical). 0 = cyclical defrosting disabled | 0 … 250 | h | 6 | 6 | 6 | ||||
| dct | 1 | Defrosting interval count mode 0 = counts if the compressor is operating 1 = counts all the time | 0,1 | 1 | 1 | 1 | |||||
| dOH | 1 | Defrosting start delay at power-on The time, as from when the instrument is switched on, for which any defrosting requests are frozen (manual defrosting excluded) | 0 … 250 | min | 0 | 0 | 0 | ||||
| dEt | 1 | Defrosting timeout When the set time expires, defrosting is in any case ended, even if the defrost end temperature has not been reached, passing on to the drip phase | 1 … 250 | min | 30 | 30 | 15 | ||||
| dSt | 1 | Defrost end temperature The probe 2 temperature above which defrosting is ended. If, at the start of a defrosting cycle, the temperature is greater than that set, no defrosting will be carried out. In the event of a probe 2 malfunction, the defrosting cycle will in any case terminate after reaching a time limit | -50.0 … 199.0 | °C [°F] | 15 | 15 | 10 | ||||
| dS2 | 1 | Defrost end temperature for the second evaporator The probe 3 temperature above which defrosting for the second evaporator is ended. If, at the start of a defrosting cycle, the temperature is greater than that set, no defrosting will be carried out. In the event of a probe 3 malfunction, the defrosting cycle will in any case terminate after reaching a time limit. This function is only enabled if P01=3o4, Co4=3 and CP0=2 (alarm relay used for second evaporator defrosting and probe 3 used to detect the temperature of the second evaporator). In this case, the dripping phase will begin after the defrosting cycles of both evaporators have ended. | -50.0 … 199.0 | °C [°F] | 10 | 10 | 10 | ||||
| dPO | 1 | Defrosting at power-on 0 = disabled 1 = defrosting when the instrument is switched on | 0,1 | flag | 0 | 0 | 0 | ||||
| List of -FAn fan parameters | |||||||||||
| FSt | 1 | Fans switch on temperature | probe2 ≥ FSt: fans off Fot ≤ probe2 < (FSt – FAd): fans on probe2 < (Fot – FAd): fans off | -50.0 … 199.0 | °C [°F] | 8 | -5 | 50 | |||
| Fot | 1 | Fans switch off temperature | -50.0 … 199.0 | °C [°F] | -50 | -50 | -50 | ||||
| FAd | 1 | Fans switch on and off differential | 1.0 … 90.0 | °C [°F] | 2 | 2 | 2 | ||||
| Code | Level | Descr. | Range | Unit | MBP | LBP | HBP | ||||
| Fdt | 1 | Post-dripping time The time after the dripping phase, during which the fans remain switched off | 0 … 60 | min | 1 | 2 | 0 | ||||
| dt | 1 | Dripping time The time after a defrosting cycle during which the compressor and the evaporator are stopped in order to favour evaporator dripping | 0 … 60 | min | 2 | 2 | 0 | ||||
| dFd | 1 | Fans deactivated during defrosting 0 = fans activated (operation set from FPt) 1 = fans deactivated | 0,1 | flag | 1 | 1 | 0 | ||||
| FCO | 1 | Fans activated with compressor off 0 = fans deactivated 1 = fans activated (operation set from FPt) 2 = fans in duty cycle operation | 0 … 2 | 0 | 0 | 0 | |||||
| Fon | 1 | Fans ON time during duty cycle operation (FCO=2) | 1 … 60 | min | 15 | 15 | 15 | ||||
| FoF | 1 | Fans OFF time during duty cycle operation (FCO=2) | 1 … 60 | min | 15 | 15 | 15 | ||||
| List of -ALr alarm parameters | |||||||||||
| AFd | 1 | Temperature alarm threshold differential This sets the re-entry temperature threshold after a high- or low-temperature alarm condition | 1.0 … 90.0 | °C [°F] | 2 | 2 | 2 | ||||
| HAL | 1 | Maximum alarm threshold Above this value (absolute or referred to the setpoint) an alarm is triggered If the reference is relative, the unmarked value is added to the setpoint | -50.0 … 199.0 | °C [°F] | 10 | 10 | 10 | ||||
| LAL | 1 | Minimum alarm threshold Below this value (absolute or referred to the setpoint) an alarm is triggered If the reference is relative, the unmarked value is subtracted from the setpoint | -50.0 … 199.0 | °C [°F] | -10 | -10 | -10 | ||||
| PAO | 1 | Temperature alarm delay at power-on | 0 … 10 | h | 4 | 4 | 4 | ||||
| dAO | 1 | Temperature alarm delay after defrost The time, starting from the end of the dripping phase, during which no alarm is signalled. In the event of contemporaneous network defrosting, the time refers to the defrosting end command | 0 … 999 | min | 60 | 60 | 60 | ||||
| OAO | 1 | Temperature alarm delay after door closure The time, after the door is closed again and during which no alarm is signalled | 0 … 10 | h | 0 | 0 | 0 | ||||
| dAt | 1 | Defrosting alarm timeout enabling This enables the signalling of any defrosting end due to the maximum time limit being reached (timeout). 0 = signal disabled 1 = signal enabled | 0,1 | flag | 0 | 0 | 0 | ||||
| List of -diS display parameters | |||||||||||
| ndt | 1 | Decimal point display 0 = display without decimal point 1 = display with decimal point. | 0,1 | flag | 1 | 1 | 1 | ||||
| ddL | 1 | Display during the defrosting phase 0 = normal display (as set from the ddd par.) 1 = freezes the temperature value displayed at the start of defrosting until the end of defrosting and the reaching of the setpoint 2 = “dF” until the end of defrosting and the reaching of the setpoint The ddL parameter can be controlled only if the standard display (ddd par.) includes the adjustment probe (probe 1 or network probe) | 0,1,2 | 0 | 0 | 0 | |||||
| Ldd | 1 | Defrosting display block timeout The time, starting from the end of defrosting (end of dripping phase),after which the normal display is in any case restored | 0 … 255 | min | 6 | 6 | 6 | ||||
| dro | 1 | °C or °F selection 0 = °C 1 = °F This selection only affects temperature measurements. The values of the parameters concerning temperature maintain their current values and therefore, they must be varied manually to adapt them to the Fahrenheit scale. | 0,1 | flag | 0 | 0 | 0 | ||||
| List of -CnF configuration parameters | |||||||||||
| LOC(*) | 1 | Keyboard lock 0 = keyboards disabled 1 = main terminal keyboard enabled 2 = secondary terminal keyboard enabled 3 = keyboards enabled (the first to request a service has precedence until completion) | 0 … 3 | 1 | 1 | 1 | |||||
| rEL | 1 | Software release A read-only value that identifies the software version | 0.0 … 99.9 | – | – | – | |||||
| List of -LAn (**) network parameters | |||||||||||
| dEA | 1 | Supervision network address (for Master only) The address to be set on each master must take into account the number of slaves present in the LAN network preceding it: “dEA”=”dEA[previous master]”+”L01[previous master]”+1 The Supervision network address for a Slave is “dEA[master]”+”L00”) | 1 … 199 | 1 | 1 | 1 | |||||
- Note : To release the keypad, hold down “SET” and “ON/OFF” together for at least 5 seconds.
- Note : The “LAn” network parameter only serves in the event of MASTER/SLAVE or REMOTE CONTROL operation
ALARM SIGNALS
In the event of an alarm, the card normally activates the following:
- the relevant alarm code is shown on the display. In particular, the control alternates the alarm code and the temperature that is normally shown on the display; if there is more than one alarm, they are displayed in succession, alternated with the temperature
- the alarm LED is switched on
- the alarm relay is triggered.
For some alarms and signals, the LED and/or relay are not triggered. The table below gives a detailed description for each alarm and the relevant actions undertaken.
Pressing any button will deactivate the relay (if triggered) and the LED will blink, while the alarm code will remain on the display. The LED will switch off and the alarm code will disappear only when the cause behind it has ceased. The alarm codes are listed in the table below:
| E1 | cold room probe temperature error if a probe is used for adjustment, the compressor will be activated cyclically and defrosting cycles will be disabled; if a balanced network probe is enabled, adjustment will continue, bypassing the malfunctioning probe | yes | yes | automatic when the condition ceases |
| E2 | End defrostin probe g error defrosting will end due to timeout | yes | yes | automatic when the condition ceases |
| E3 | 3rd probe error (condenser temperature) the associated controls are disabled | blink. | no | automatic when the condition ceases |
| 3rd probe error (2nd evaporator temperature) defrosting will end due to timeout | yes | yes | ||
| heat alarm (*)adjustment is disabled | yes | no | automatic when the condition ceases | |
| HP pressure switch alarm (*)adjustment is disabled | yes | no | automatic when the condition ceases | |
| LP pressure switch alarm (*)adjustment is disabled | yes | no | automatic when the condition ceases | |
| E4 | repeated heat alarm adjustment is disabled permanently | yes | yes | at switch on |
| E5 | repeated HP pressure switch alarm adjustment is disabled permanently | yes | yes | at switch on |
| E6 | repeated LP pressure switch alarm adjustment is disabled permanently | yes | yes | at switch on |
| LO | low temperature alarm | yes | yes | automatic when the condition ceases |
| HI | high temperature alarm | yes | yes | automatic when the condition ceases |
| EE | data saving alarm default parameters are loaded | yes | yes | at power-on or after the parameter has been stored to memory |
| Ec | condenser cleaning alarm | blink. | no | automatic when the condition ceases |
| Er | network alarm (**) | yes | yes | automatic when the condition ceases |
| Ed | defrosting timeout alarm | blink. | no | automatic at the start of the next defrost |
| Od | door open timeout alarm normal operation is enabled again | blink. | no | automatic when the condition ceases |
| nx | slave x alarm (on master only) | yes | progr. | automatic when the condition ceases |
| Ux | slave x not connected (on master only) the slave is not controlled | blink. | no | automatic when the condition ceases |
| u0 | master not connected (on slave only) the slave is released from the network and operates autonomously | blink. | no | automatic when the condition ceases |
| dx | slave x download failed(on master only) | blink. | no | manual or automatic when the condition ceases |
- There is no reading on the display.
- Network alarms are where, subsequent to programming, the alarm command is communicated from the master to all network devices, in the event that the alarm relay is triggered on the master itself
During operation, in specific conditions the following signals are displayed:Code displayed Description Notes OFF unit in stand-by (operation disabled) remains until the next ON command dF defrosting in progress see par. “ddL” dFu defrosting not performed displayed for 2 seconds when the defrosting command is not performed because the evaporator temperature is already above the defrosting end temperature (parameter dst) uM master unit at switch on, the network configuration of the unit is displayed uSx slave x unit Cn terminal/control connection interrupted the terminal is not receiving data from the control
If the terminal/control connection does not operate correctly at switch on, the terminal display will read “88,8” and the LEDs will all be switched off.
EMERGENCY SYSTEM
PLEASE NOTE: The operations described here below must only be performed by a specialist technical engineer. If the electronic control unit breaks down or presents operating anomalies and it is impossible to replace it immediately, there is an EMERGENCY SYSTEM that can be used to maintain the unit in operation until it can be replaced.
To use this system, proceed as follows:
- Cut off power to the Blocksystem
- Remove all jumpers between the L terminals and the common contacts of the card relays (terminals 25-28- 33- 36-38)
- As shown in the diagram, connect a thermostat between the L terminal, the NO terminals (terminals 32,37) and the NC terminal (terminal 34) of the compressor, defrosting and fan relays (COMP, DEF and FAN)
- Fit a jumper between the L terminal and the NO terminal of the ON/OFF relay (terminal 26 supplying power to the crankcase heaters, door and waste, where fitted).
- Connect the Blocksystem back to the mains power, setting the thermostat to the required temperature.
- PLEASE NOTE: This connection can only be used momentarily. Contact your dealer as soon as possible to replace the malfunctioning card.
- PLEASE NOTE: Defrosting will be cut out for the entire emergency phase and for this reason, we recommend that cold room door opening be kept to a minimum.
- When fitting the new control unit, restore all of the connections described in points 2,3,4 and 5.

PRESSURE RELIEF VALVE (where provided)
Instructions and limits of use
Replacement of the pressure relief valve is suggested whenever, during the drainage, the build-up of component processing and of the pipe residues happens to make the shutting of the seal defective.
Before you replace the valve, make sure that the system is not under pressure or at high-level temperature in the area you are operating.
Maintenance/inspection and valve setting
Warning ! Maintenance is not provided for pressure relief valves. The removal of the cap or the tampering with the seal are considered unauthorized modifications of the setting. This will void the manufacturer’s guarantee.
The inspection of the pressure relief valves is reserved to specific Bodies in charge and is regulated by the current laws of the country of installation.
Expected lifetime
The pressure relief valve should be checked every 5 years.
MAINTENANCE AND CLEANING
- PLEASE NOTE: All cleaning and maintenance operations must only be performed when the Blocksystem is switched off and disconnected from the power supply (thermomagnetic switch set to off).
- In the event that machine parts need replacing, they have to be replaced by items exactly the same to the originals ones
- Every week: ensure that the evaporator is clean and that there is no build-up of ice. If the evaporator is clogged with ice, carry out a manual defrost cycle by holding down the “UP” key for more than 5 seconds. Repeat this procedure until the evaporator is completely clean. Check after 12 hours.
- Regularly clean the condenser (at least every month) by removing all dust and grease (we recommend using a jet of air, blowing towards the outside). If the room where the unit is located is very dusty, more frequent cleaning may be necessary.
- Maintenance and cleaning must be carried out by specialist technicians only.
- Clean the fixed and mobile contacts of all contactors; replace them if they show signs of wear. (every four months)
- Check that all electric terminals, both on electrical panels and terminal boards, are properly connected; also check carefully that the all fuse elements are correctly clamped. (every four months)
- Visually check the entire refrigerating circuit, even inside the machines, for any traces of refrigerant leaks, which are also signalled by traces of lubricant oil. Intervene in due time and check further in case of doubt.
Checking leaks of cooling gas:- for systems with 3kg ≤ load of cooling gas < 30kg the check must be annual
- for systems with 30kg ≤ load of cooling gas < 300kg the check must be six-monthly
- for systems with load of cooling gas ≥ 300kg the check must be three-monthly
- if a loss is found, it is necessary to intervene immediately and carry out a verification within 30 days to ensure the repair work has been effective.
- Check that refrigerant is flowing regularly by means of the indicator on the liquid line. (every 4 months)
- Check the oil level by means of the special indicator (if fitted) placed on the compressor crankcase. (every 4 months)
- Carefully check the colour of the element which is sensitive to humidity through the indicator on the liquid line. Green means dry; yellow means humidity. In the event of humidity, stop the machine immediately, replace the filter on the liquid line and replace both the refrigerant and the oil. Repeat this check after 3 days of operation. (every 4 months)
- Check the noise level of the compressor. This check must be performed with caution, as it has to be carried out while the system is operating. Check for ticking or vibrations that result from breakdowns or excessive mechanical friction between moving parts. (every 4 months)
- Check that the condensation water outlet drainage is not blocked. For MBP (medium temperature) and LBP (low temperature) Blocksystems, make sure that the water drainage heater is in perfect working order (specialist personnel only).
- Important note: At the end of maintenance, replace all previously removed guards (housing and grid).
- Do not remove the pressure relief valve without having previously recovered the gas present inside the liquid receiver.
DISPOSAL
If the machine is placed out of service, it is necessary to disconnect it from the mains. The gas contained inside the system must not be dispersed into the environment. The compressor oil is subjected to differentiated waste collection regulations; therefore, we recommend that you do not dispose of the unit as normal iron scrap but that you use a special collection centre, as per the standards and regulations in force.
In compliance with the Directives 2002/95/EC, 2002/96/EC and 2003/108/EC, concerning the reduction in the use of hazardous substances in electric and electronic equipment as well as concerning the disposal of waste
The barred rubbish bin symbol on the appliance or its packaging indicates that at the end of its useful life, the product must be disposed of separately from other refuse.
Suitable differentiated waste collection, sending the disused appliance for recycling, treatment or disposal in an environment-friendly fashion helps to prevent possible negative effects on the environment and its health as well as aiding the re-use and/or recycling of the materials used to make the appliance.
Illegal disposal of the product by its user will lead to the application of administrative sanctions.
OPTIONAL ITEMS
- R134a and R22 gas (optional item on SP; ST models only R22)
Alternative gases to the R404A standard and recognisable by the appliance code: Y=R134a; E=R22 - Condenser-fan speed control
- Condenser fans pressure switch (where not fitted as standard)
Stops the condenser fan(s) when condensing pressure drops below the calibrated value, less the differential. - Condenser fan speed variator
To maintain condensing within set limits, the condenser fan speed must be variated according to condensing pressure. This device must be connected to the high-pressure circuit. The instructions for use are attached to the documentation supplied with the machine.
- Condenser fans pressure switch (where not fitted as standard)
- Low pressure switch (where not fitted as standard)
This operates by stopping the machine when the pressure in the suction circuit drops to below its set value less the differential.. This occurs as the result of a failure. - Thermostatic valve expansion (where not fitted as standard)
If expansion mode is a thermostatic valve, the refrigerating system must be modified by fitting the liquid receiver and the thermostatic valve after the condenser. - Crankcase heater
This is used to heat up the compressor crankcase before start up and to keep it warm during stoppage. The heat produced by the heater causes any refrigerant in a liquid state inside the compressor to evaporate. - Remote panel (where not fitted as standard)
This allows the control panel to be placed at a certains distance from the Blocksystem; for example, alongside the coldroom door (max. distance 100m). - Water condensation
This is obtained by replacing the air-cooled condenser with a water-cooled one.
To connect water condensers, it is necessary to use pipes with a diameter of no less than those already connected to the Blocksystem, respecting the inlets and outlets. If the machine is sized
for condensing using tower water, the inlet pipe is formed by a coupling that connects the two pipes with smaller sections of the condenser. When condensing is to be carried out using cistern water, the inlet pipe can be distinguished by the fact that it has a barostatic valve to regulate water flow.
Install the shut off valve of the water mains nearest to the operator.
Never close the water shut off valve while the appliance is operating.
To improve the performance and duration of the machine, check the following:- the water temperature must be between 20 and 30°C for water-condensed units using tower water and between 5 and 20°C for water-condensed units using cistern water
- water pressure must be between 1 and 5 bar.
PLEASE NOTE: the water pipes must be protected against low outside temperatures.
- Voltage monitor
This device is used to protect the Blocksystem from voltage increases or dips. - Differential thermomagnetic switch
This device protects the Blocksystem against overloads, short circuits and indirect contact. - Different voltage
Es: SPM009Z001
| 1 | 230/1/50 Hz |
| 2 | 400/3/50 Hz |
| 3 | 110/1/60 Hz |
| 4 | 220/3/60 Hz |
| 5 | 220/1/60 Hz |
| 6 | 460/3/60 Hz |
| 7 | 380/3/60 Hz |
| 8 | 230/3/50 Hz |
- Additional electronic module for master/slave operation
Used to connect 2 Blocksystem units together in a cold room with the possibility for synchronised operations (defrost, Blocksystem operation and temperature alarms display) - Additional electronic module for monitoring ,recording and remote management
Makes it possible to connect the Blocksystem to a remote management system - Remote management system
Used to monitor and programme the Blocksystem from a PC or data recorder. It makes advanced management possible (communication via modem or GSM) for all Blocksystem alarms.
TROUBLESHOOTING
Likely cause: Remedy
The compressor will not start and no humming sound is heard
- No power. Starter relay contacts open.
- Thermal circuit breaker intervention.
- Electrical connections loose or incorrect.
- Check the line or replace the relay.
- Check the electrical connections.
- Tighten the connections or reconnect wiring according to the wiring diagram.
The compressor will not start (it makes a humming sound) and the thermal circuit breaker intervenes
- Electrical connections incorrect.
- Low voltage at compressor.
- Faulty start capacitor.
- The relay does not close.
- Electric motor – winding interrupted or in short circuit.
- Make the connections again.
- Find and remove the cause.
- Find the cause and replace the capacitor.
- Find the cause and replace the relay if necessary.
- Replace the compressor.
The compressor starts but the relay does not open
- Electrical connections incorrect.
- Low voltage at compressor.
- Relay locked closed.
- Excessive discharge pressure.
- Electric motor – winding interrupted or in short circuit.
- Check the electric circuit.
- Find and remove the cause.
- Find and remove the cause.
- Find the cause and replace the relay if necessary.
- Replace the compressor.
Thermal circuit breaker intervention
- Low voltage at compressor (three-phase motor – phase imbalance).
- Thermal circuit breaker faulty.
- Faulty run capacitor.
- Excessive discharge pressure.
- High suction pressure.
- Compressor overheated – hot return gas.
- Electric motor – winding interrupted or in short circuit.
- Find and remove the cause.
- Check characteristics and replace if necessary.
- Find and remove the cause.
- Check the ventilation and any restrictions orobstructions in the system circuit.
- Check the sizing of the system. Replace the condensing unit with a more powerful one if necessary.
- Check the refrigerant charge; repair any leaks and add gas if necessary.
- Replace the compressor.
The compressor starts and runs at brief operating cycles
- Thermal circuit breaker.
- Thermostat.
- High-pressure switch intervention due to insufficient condenser cooling.
- High-pressure switch intervention due to excess refrigerant gas charge.
- Low-pressure switch intervention due to insufficient refrigerant gas charge.
- Low-pressure switch intervention due to expansion valve restriction or blockage.
- See the previous point (thermal circuit breaker intervention).
- Small differential: correct adjustment.
- Check the correct operation of the fan motor or clean the condenser.
- Reduce the refrigerant charge.
- Repair any leaks and add refrigerant gas if necessary.
- Replace the expansion valve.
The compressor runs continuously or for long periods
- Insufficient refrigerant gas charge.
- Thermostat contacts blocked in the closed position.
- System insufficiently sized for the charge.
- Excess charge to be cooled or insufficient insulation.
- Evaporator covered with ice.
- System circuit restriction.
- Condenser blocked.
- Repair any leaks and add refrigerant gas.
- Replace the thermostat.
- Replace the system with a more powerful one.
- Reduce the charge or improve the insulation, if possible.
- Defrost.
- Identify the cause and remove it.
- Clean the condenser.
Run capacitor damaged, interrupted or short circuited
- Incorrect run capacitor
- Replace with a capacitor of the correct type.
Starter relay faulty or burnt out
- Incorrect relay.
- Relay fitted in incorrect position.
- Incorrect run capacitor
- Replace with a relay of the correct type.
- Fit the relay in the correct position.
- Replace with a capacitor of the correct type.
Coldroom temperature too high
- Thermostat set too high.
- Undersized expansion valve.
- Undersized evaporator.
- Insufficient air circulation.
- Adjust the setting.
- Replace the expansion valve with one of a suitable type
- Replace with an evaporator with a larger surface area
- Improve air circulation
Suction pipes frosted
- Excessive passage of gas through the expansion valve or valve oversized.
- Expansion valve locked in the open position.
- The evaporator fan motor does not work.
- High gas charge.
- Adjust the valve or replace it with one of the correct size.
- Clean foreign bodies from the valve and replace if necessary.
- Find the cause and remove it.
- Reduce the charge.
Discharge pipe frosted or wet
- Drier filter restriction.
- Valve on the discharge line partially closed.
- Replace the filter.
- Open the valve or replace it if necessary.
- For the drawings see page 90-95
- For the pre-charged pipe connections table see page 97
- For the refrigerating diagram see page 98





























