Honeywell H33MRB 3.3 Cubic Feet Compact Refrigerator 
DEAR CUSTOMER:
Thank you for buying this refrigerator. To ensure that you get the best results from your new refrigerator, please take time to read through the simple instructions in this booklet. Please ensure that the packing material is disposed of in accordance with the current environmental requirements. When disposing of any refrigerator equipment please contact your local waste disposal department for advice on safe disposal. This appliance must be only used for its intended purpose.
SAFETY WARNINGS
This appliance is intended to be used in household, non-retail applications. This appliance is not intended for use by persons (including children) with reduced physical, sensory or mental capabilities unless they have been given supervision or instruction concerning use of the appliance by a person responsible for their safety. Children should be supervised to ensure that they do not play with the appliance. If the supply cord is damaged, it must be replaced by the manufacturer, its service agent or similarly qualified persons in order to avoid a hazard. The appliance has to be unplugged after use and before carrying out user maintenance.
- DO NOT store explosive substances such as aerosol cans in this appliance.
- DO NOT use extension cords or ungrounded (two prong) adapters.
- WARNING: Keep ventilation openings, in the appliance enclosure or in the built-in structure, clear of obstruction.
- WARNING: Do not use mechanical devices or other means to accelerate the defrosting process, other than those recommended by the manufacturer.
- WARNING: Do not damage the refrigerant circuit.
- WARNING: Do not use electrical appliances inside the food storage compartments of the appliance, unless they are the type recommended by the manufacturer.
- WARNING: This refrigerator uses flammable blowing gas and refrigerant. Please dispose of according to local regulators.
- WARNING: When positioning the appliance, ensure the supply cord is not trapped or damaged.
- WARNING: Do not locate multiple portable socket-outlets or portable power supplies at the rear of the appliance.
- DANGER: Risk of child entrapment. Before disposing your old refrigerator or freezer:
- Take off the doors.
- Leave the shelves in place so that children may not easily climb inside.
- The refrigerator must be disconnected from the source of electrical supply before attempting the installation of accessory.Refrigerant and cyclopentane foaming material used for the appliance are flammable. To prevent damage to the environment or any other harm, when the appliance is scrapped, it should be kept away from any fire source and be recovered by a recovering company with corresponding qualification.
To avoid contamination of food, please read the following: - Opening the door for long periods can cause a significant increase of the temperature in the compartments of the appliance.
- Regularly clean surfaces that can come in contact with food and accessible drainage systems.
- Clean water tanks if they have not been used for 48 hours; flush the water system connected to a water supply if water has not been drawn for 5 days.
- Store raw meat and fish in suitable containers in the refrigerator to prevent it from contacting or dripping onto other food.
- If the refrigerator is left empty for long periods, switch off, defrost, clean, dry, and leave the door open to prevent mold from developing within the appliance.WARNING: To avoid a hazard due to instability of the appliance, it must be fixed in accordance with the instructions.
- Do not pull the power cord when unplugging the refrigerator. Please firmly grasp the plug and pull it out from the socket directly.
- Do not damage the power cord under any condition, do not use when the power cord is damaged or the plug is worn.
- Replace worn or damaged power cord in manufacturer-authorized maintenance stations.
- Please use a dedicated power socket that is not shared with other electrical appliances.
- To prevent a fire, the power plug should be firmly contacted with the socket. Please ensure that the grounding electrode of the power socket is equipped with a reliable grounding line.
- In case of a gas leak, please turn off the valve of the leaking gas and then open the doors and windows. Do not unplug the refrigerator and other electrical appliances since that spark may cause a fire.
- To ensure safety, it is not recommended to place regulators, rice cookers, microwave ovens and other appliances on the top of the refrigerator, unless recommended by the manufacturer.
- Do not arbitrarily disassemble or reconstruct the refrigerator, nor damage the refrigerant circuit. Maintenance of the appliance must be conducted by a specialist.
- Damaged power cord must be replaced by the manufacturer, its maintenance department, or related professionals in order to avoid danger.
- To prevent injury, do not to put your hand between the refrigerator doors and body. Please be gentle when opening the door to avoid falling items.
- To avoid frostbite, do not handle food or containers, especially metal, with wet hands in the freezer when the refrigerator is running.
- Do not allow children to enter or climb the refrigerator to prevent entrapment or injury.
- Do not spray, wash, or put the refrigerator in moist places or places
where it can be easily splashed with water to protect the electrical insulation properties. - Do not place heavy objects on the top of the refrigerator. Objects may fall when opening the door, and may cause accidental injury.
- Palease pull out the plug in case of power failure or cleaning. Do not connect the refrigerator to power supply within five minutes to prevent damages to the compressor due to successive starts.
Warnings Related to Placing Items
- Do not put flammable, explosive, volatile and highly corrosive items in the refrigerator to prevent damages to the product or fires.
- Do not place flammable items near the refrigerator to avoid fires.
- This product is household refrigerator and is suitable for the storage of foods. According to national standards, household refrigerators should not be used for other purposes, such as storage of blood, drugs or biological products.
- Do not place items such as bottled or sealed container of fluid such as bottled beers and beverages in the refrigerator.
Warnings for Energy
- Refrigerator might not operate consistently when sited for an extended period of time below the range of temperatures that the appliance is designed to withstand.
- Do not exceed the storage time recommended by the food manufacturers for any kind of food and commercially quick-frozen food in the refrigerator.
- A rise in temperature of the frozen food during maintenance or cleaning could shorten the storage life.
Warnings Related to Disposal
The refrigerator’s refrigerant and cyclopentane foam materials are combustible materials. Discarded refrigerators should be isolated from fire sources and can not be burned. Please transfer the refrigerator to qualified professional recycling companies for processing to avoid damages to the environment or other hazards. Please remove the door of the refrigerator and shelves to prevent children from entering and playing in the refrigerator.
Correct Disposal of this product:
This marking indicates that this product should not be disposed with other household wastes. To prevent possible harm to the environment or human health from uncontrolled waste disposal, recycle it responsibly to promote the sustainable reuse of material resources. To return your used device, please use the return and collection systems or contact the retailer where the product was purchased. Contact the retailer as many will take them back for recycling.
PROPER USE OF REFRIGERATOR
Placement
- Before using the refrigerator, remove all packaging materials including bottom cushions, foam pads and tape inside the refrigerator, tear off the protective film on the door and the refrigerator body.
- The refrigerator should be placed in a well-ventilated indoor place; the ground should be flat, and sturdy.
- Keep away from heat and avoid direct sunlight. Do not place the refrigerator in moist or watery places to prevent rust or reduction of insulation.
- The top space of the refrigerator should be greater than 30cm, and the distances from both sides and backside should be more than 10cm to facilitate heat dissiapation.
Precautions before installation:
Before installation or adjusting of accessories, it should be ensured that the refrigerator is disconnected from power. Precautions should be taken to prevent any personal injury.
Leveling Feet
Schematic diagram of the leveling feet
Adjusting procedures:
- Turn the feet clockwise to raise the refrigerator
- Turn the feet counterclockwise to lower the refrigerator
- Adjust the right and left feet based on the procedures above to a horizontal level.
Reversing the Door Swing
- List of tools to be provided by the user Philips head screwdriver
- 5/16” socket and ratchet

- Putty knife Flat Head Screwdriver
- Masking tape

- Power off. Remove all food from door shelves. Fix the door with tape.

- Remove the upper hinge cover, screws and upper hinge, and remove the plastic screw hole caps from the other side.

- Remove the door and the bottom hinge assembly and adjustable foot, then assemble the bottom hinge assembly and adjustable foot on the other side.

- Put the door on the bottom hinge and assemble the upper hinge, upper hinge cover and plastic screw hole caps successively.

Changing the Light
- To replace the LED bulbs, disconnect the power supply before replacing the bulb; hold and remove the light bulb cover. Remove the old bulb by unscrewing it counterclockwise. Replace it with a new bulb (15W) by screwing it clockwise, and make sure it is fixed in the bulb holder tightly. Reassemble the light cover and reconnect your freezer to the power supply.
Starting to use
- The refrigerator must stand upright for two hours before connecting power when it is first started.
- Run the refrigerator for 2 to 3 hours, or 4+ hours in the summer, before loading fresh or frozen food.
Energy Saving Tips
- The appliance should be located in the coolest area of the room, away from heat producing appliances or heating ducts, and out of the direct sunlight.
- Let hot foods cool to room temperature before placing in the appliance. Overloading the appliance forces the compressor to run longer. Food that freeze too slowly may lose quality, or spoil.
- Be sure to wrap food properly, and wipe containers dry before placing them in the appliance to cut down frost build-up inside the appliance.
- Do not line storage bin with aluminum foil, wax paper, or paper towels. Liners interfere with cold air circulation, making the appliance less efficient.
- Organize and label food to reduce door openings and extended searches. Remove as many items as needed at one time, and close the door as soon as possible.
STRUCTURE AND FUNCTIONS
Refrigerator
- The refrigerator is suitable for storing a variety of fresh foods to be consumed within the short term. Suggested storage time is 3 to 5 days.
- Cooked food should be cooled to room temperature before placed into the refrigerator.
- Glass shelves may be adjusted up or down for easy use or additional storage space.
Freezer
- The low temperature of the freezer may keep food fresh for a long time and it is mainly used to store frozen foods and to make ice.
- The freezer is suitable for storage of meat, fish, shrimp, pastries and other foods not to be consumed in short term.
- Chunks of meat are preferably to be divided into small pieces for easy access. Please be noted food should be consumed within the shelf time.
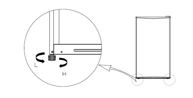
Temperature Control
The markings on control knob indicate the “MIN, MAX and OFF” for the different temperature levels.“MAX.” lowers the internal temperature of the refrigerator; “MIN.” increases the internal temperature of the refrigerator; Recommended gear: “Mid-range”
MAINTENANCE OF REFRIGERATOR
- Clean dust behind the refrigerator and on the ground to improve the cooling effect and energy saving.
- Check the door gasket regularly to make sure there is no debris. Clean the door gasket with a soft cloth dampened with soapy water or diluted detergent.
- Clean the interior of the refrigerator regularly to avoid odor.
- Please turn off the power before cleaning interior, remove all food, shelves, drawers, etc.
- Use a soft cloth or sponge to clean the inside of the refrigerator, with two tablespoons
of baking soda and a quart of warm water. Then rinse with water and wipe clean. After cleaning, open the door and let it dry naturally before turning on the power. - For areas that are difficult to clean (such as narrow gaps or corners), it is recommended to wipe them regularly with a soft rag, soft brush, etc. to ensure no contaminants r bacteria accumulate in these areas.
- Do not use soap, detergent, scrub powder, spray cleaner, etc., as these may cause odors in the interior of the refrigerator or contaminate food.
- Clean the bottle frame, shelves and drawers with a soft cloth dampened with soapy water or diluted detergent. Dry with a soft cloth or dry naturally.
- Wipe the outer surface of the refrigerator with a soft cloth dampened with soapy water, detergent, etc., and then wipe dry.
- Do not use hard brushes, clean steel balls, wire brushes, abrasives (such as toothpastes), organic solvents (such as alcohol, acetone, banana oil, etc.), boiling water, acid or alkaline items, which may damage the cooler surface and interior. Boiling water and organic solvents such as benzene may deform or damage plastic parts.
- Do not rinse directly with water or other liquids during cleaning to avoid short circuits or damage to the electrical insulation.
Defrost
- Power off the refrigerator and disconnect the plug from the wall socket. Open the door and remove all the food to a cool place. Clean the drain pipe, paying special attention to cleaning the compressor compartment water draining tray to avoid water overflowing onto the ground. It is recommended to remove the frost by a plastic scraper, or let the temperature rise naturally until the frost melts. Then wipe away the remaining ice and water, and plug in the freezer. After defrosting, put all food back into the refrigerator, and power on.
Stop Using
- Power failure: Food can usually be preserved for a couple of hours in case of power failure. It is recommended to reduce the frequency of opening the door and to not put fresh food into the refrigerator.
- Long-time nonuse: Please unplug unused refrigerator for cleaning. Keep the door open to avoid odor.
- Moving: Do not turn upside or shake the refrigerator, the carrying angle can not be greater than 45°.
- Do not hold the door and hinge when moving this unit.
- Continuous operation is recommended when the refrigerator is started. To prevent affecting the refrigerator’s service life, please do not stop the refrigerator under normal circumstances.
TROUBLESHOOTING
| Inoperation | Ensure the refrigerator is plugged in and connected to power Check that the voltage is not low The temperature control knob is not set to “OFF“ |
| Odor | Thoroughly clean the interior of the refrigerator. |
|
Long-term operation of compressor | Do not overload the refrigerator
Do not put hot contents in the refrigerator
Note that it is normal that the refrigerator operates for a longer time in summer when the ambient temperature is higher |
| Light is out | Check whether the refrigerator is connected to power supply. If the light is damaged, have it replaced by a specialist. |
| Doors cannot be properly closed | Check for any items blocking the refrigerator door or unbalanced items.
Check if the refrigerator is tilted |
| Loud noise | Ensure that the refrigerator is sitting on a flat and stable surface Ensure that the refigerator accessories are properly placed |
| Door seal fails to be tight | Remove foreign matter from the door seal. Heat the door seal and then cool it for restoration (or use an electrical drier or a hot towel for heating). |
| Water pan overflows | Heavy defrosting may occur when there is too much food in the refrigerator or if the food contains too much water.
Frosting may occur if the doors are not properly closed, as entry of air could cause frosting which could increase water overflow during defrost. |
| Hot housing | Heat dissipation of the built-in condenser via the housing is normal.
When housing becomes hot due to high ambient temperature or storage of too much food, provide ventilation to facilitate heat dissipation. |
| Surface condensation | Condensation on the exterior of the door seals is normal when the ambient humidity is too high. Wipe condensation with a clean towel. |
| Abnormal noise | The compressor may cause a buzzing sound when starting up or shutting down. The solenoid valve or electric switch valve may create a clattering sound which is normal and does not affect the operation. |
If you want to return or replace the product, please contact the store where it was purchased (remember to bring the purchase invoice). If your product needs repair, please contact us via email or phone.

























