VOLLRATH Medium-Duty and Heavy-Duty Gas Charbroilers

SAFETY PRECAUTIONS
To ensure safe operation, read the following statements and understand their meaning. This manual contains safety precautions which are explained below. Please read carefully.
WARNING is used to indicate the presence of a hazard that will or can cause severe personal injury or death.
CAUTION is used to indicate the presence of a hazard that will or can cause minor or major personal injury if the caution is ignored.
NOTICE: is used to note information that is important but not hazard-related.
To reduce risk of injury or damage to the equipment:
- Clean the equipment per the instructions in this manual.
- Do not store or use gasoline or other flammable vapors or liquids in the vicinity of this or any other equipment.
- Keep the equipment area free and clear of combustibles.
- Do not obstruct the flow of combustion and ventilation air. The back of the equipment must have a minimum of 6″ of space.
- Use a soft cloth dampened with warm, soapy water to clean the controls and the sides of the equipment.
NOTICE: Do not clean the griddle plate surface with soapy water. Soapy water will corrode the griddle surface.
- Allow hot equipment cool before cleaning or moving.
- Use equipment on a flat, level position only.
- Do not operate unattended.
WARNING
Fire, Injury, Death Hazard Correct precautions, procedures, and regulations for usage must be followed. Operation and safety training is necessary for all users of this equipment.
FUNCTION AND PURPOSE
This equipment is intended to be used for charbroiling foods in commercial foodservice operations only. It is not intended for household, industrial, or laboratory use.
| Item/Model Number | Description |
| CBGMD-12 | Medium-Duty, Radiant, 12″ |
| CBGMD-24 | Medium-Duty, Radiant, 24″ |
| CBGMD-36 | Medium-Duty, Radiant, 36″ |
| CBGMD-48 | Medium-Duty, Radiant, 48″ |
| CBGMD-60 | Medium-Duty, Radiant, 60″ |
| CBGHD-18 | Heavy-Duty, Radiant, 18″ |
| CBGHD-24 | Heavy-Duty, Radiant, 24″ |
| CBGHD-36 | Heavy-Duty, Radiant, 36″ |
| CBGHD-48 | Heavy-Duty, Radiant, 48″ |
| CBGHD-60 | Heavy-Duty, Radiant, 60″ |
| CBGHD-72 | Heavy-Duty, Radiant, 72″ |
CLEARANCE AND ENVIRONMENT REQUIREMENTS
- Must be installed adjacent to non-combustible surfaces only, with a minimum spacing of 6″ on the back of the equipment.
- Adequate clearance must be maintained to allow for proper ventilation and servicing. 4″ legs must be installed to allow airflow.
INSTALLATION
WARNING
- Improper installation, adjustment, alteration, service or maintenance can cause property damage, injury or death. Read the installation, operating and maintenance instruc-tions thoroughly before installing or servicing this equip-ment.
- Fire, Injury, Death Hazard This equipment must be installed by a qualified installer in accordance with all federal, state, and local codes. Failure to install this equipment properly can result in injury or death.
- Fire Hazard Do not install or use without 4″ legs. Use of this equipment without legs can cause the appliance to overheat and cause a fire.
CAUTION Any loose dirt or metal particles that are allowed to enter the gas lines on this appliance will damage the valve and affect its operation. When installing this appliance, all pipe and fittings must be free from any internal contaminates. It is recommended that a sediment trap be installed in-line before the regulator.
Applicable Codes and Standards United States Vollrath recommends that all commercial cooking equipment be provided with a ventilation system in compliance with NFPA96:
- Cooking equipment that uses or produces grease (e.g. fryer, griddle), must be provided with hoods that are designed to capture grease and provide fire protection.
- Equipment must be installed in accordance with the requirements and approval of the AHJ “Authority Having Jurisdiction.”
NOTICE: Post instructions to be followed in the event the user smells gas. Consult your local gas supplier for these instructions and post them in a prominent location.
NOTICE: The installation of this equipment must conform with local codes, or in the absence of local codes, with the National Fuel Gas Code, International Fuel Gas Code, ANSI Z223.1/NFPA 54, or the Natural Gas and Propane Installation Code, CSA B149.1, as applicable.
Install and Level the Legs Ensure the equipment is level in all directions. Begin by tightening each leg securely. Then, as needed at each corner, rotate the adjustable foot.
Gas Piping
- Gas piping must be sized to ensure sufficient pressure and flow to meet the full-rated gas input of the equipment.
- Connection to an existing system requires that the existing system have capacity equal to or greater than the full-rated gas input of the equipment.
- Joint compound (pipe dope) should be used sparingly and only on the male threads of the pipe joints. Such compounds must be resistant to the action of liquid propane (LP) gases.
Pressure Regulator
NOTICE
- All commercial cooking equipment must have a pressure regulator on the incoming service line for safe and efficient operation.
- Prior to connecting the regulator, check the incoming line pressure. The regulator can only withstand a maximum pressure of ¹⁄₂ PSI (14″ WC). If the line pressure is beyond this limit, a step-down regulator before the regulator provided will be required.
- The appliance and its individual shutoff valve must be disconnected from the gas supply piping system during any pressure testing of that system at test pressures in excess of 1/ 2 psi (3.5 kPa)
- The appliance must be isolated from the gas supply piping system by closing its individual manual shutoff valve during any pressure testing of the gas supply piping system at test pressures equal to less than 1/2 psi (3.5 kPa)
- The arrow forged into the bottom of the regulator body shows the gas flow direction, and should point downstream to the equipment.
- The regulator provided with this equipment is configured for use with natural gas. Following the instructions in the LP Conversion Kit, it can be reconfigured for use with LP gas.
- The equipment comes fitted with a¾” N.P.T. male adapter for connection to the pressure regulator.
- Check the pressure of the incoming gas line. The regulator can withstand a maximum pressure of 14″ WC (¹⁄₂ PSI). If the line pressure is beyond this limit, a step-down regulator will be required.
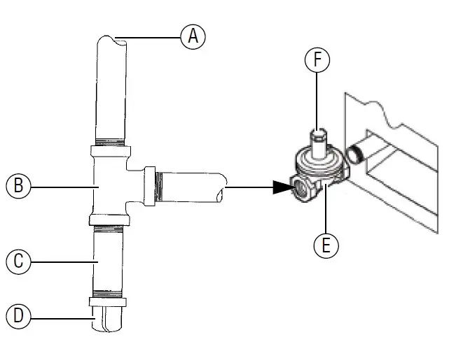
Regulator Connection

- To gas supply with the installation of B, C, and D in a vertical orientation as shown to provide for debris capture.
- Tee
- Nipple (any length)
- Cap
- Supplied Regulator
- Vent
Orifice Sizing
NOTICE: Refer to the International Fuel Gas Code for proper orifice sizing.
- Installer is responsible for correct orifice sizing.
- The orifice size is marked on the orifice/spud.
- Equipment is manufactured for 1035 BTU per cubic foot heat value of natural gas.
Gas Conversion
- Conversion from natural gas to liquid propane (LP) or vice versa must be performed by a qualified technician or service agent per the International Fuel Gas Code.
- Refer to the conversion kit instructions included with this equipment.
Manual Shut-Off Valve A manual shut off valve should be installed in an accessible location within 6 ft. (1.8 m) of the equipment.
Test the Equipment Check for Gas Leaks
NOTICE: Matches, candle flame, or any other potential source of ignition shall not be used for this purpose.
- Rotate the gas control knobs for the main burner(s) to the OFF position.
- Remove the gas control knob(s).
- Use a 5/16″ nut driver to remove the 4 screws securing the front panel. Remove the front panel to access the pilot burner control valve(s).
- Locate the pilot burner control valves for each pilot light and turn them OFF by turning the small forward-facing screw clockwise until tight.
- Connect the equipment to the gas supply.
- Apply soapy water to each connection.
- Turn ON the main supply valve.
- Look for bubbles at the connections.
- Tighten the connections as needed.
Light the Pilot Burners
- Wait 5 minutes to allow any gas to dissipate.
- To light the pilot burners, hold a flame source over the desired pilot burner while slowly turning its control valve screw counterclockwise, adjusting the flame to the desired intensity. Repeat for all pilot burners.
Test the Main Burners
After lighting all of the pilot burners, ensure that each main burner functions correctly.
After the lighting the pilots, the main burners can be ignited by pushing and turning the control knob from the “off” position to the desired setting. Visually check that the pilot light ignites the main burner.
The main burners can be extinguished by turning the control knob back to the “off” position. The pilot lights can be extinguished by shutting off the gas supply at the shut-off valve installed on the gas line.
FEATURES AND CONTROLS

- A Grill Grates. Angle can be adjusted.
- Gas Control Knob. Used to adjust the temperature of the grilling surface.
- Drip Tray. Collects grease and oil. This tray can be removed for cleaning. It is recommended to have a thin layer of water in the drip tray to reduce flare-ups and smoking, while still allowing plenty of volume for drippings.
- Pilot Light Access Hole. Allows access to the pilot light.
- Adjustable Foot. Used to adjust the level of the equipment.
- Leg. Supports the equipment.
BEFORE FIRST USE Setup For Lava Rock or Radiant Heat

- Lava Rock. Helps to deliver even heating across the entire surface, and also serve to collect drippings and to provide some smoke flavoring to the food. Should be replaced when they are no longer porous.
- Waffle Grate(s). Used with the lava rock setup.
- Lava Rock Cover(s). Used with the lava rock setup.
NOTICE: Used for heavy duty models only to replace heavy duty radiants.
NOTICE: Lava rock kits can be purchased separately as an accessory. - Radiant Cover(s). Used alone in the radiant setup to protect the burner(s) and to help distribute the heat from the burner(s).
NOTICE: Can be left in place for medium duty models.
Convert to Radiant Heat
- Remove the lava rock and save for future reuse.
- Remove the waffle grate(s) and save for future reuse if still sufficiently porous; otherwise, discard.
- Remove the lava rock cover(s) and save for future reuse.
- Place the radiant cover(s) over the burner tube(s).
Convert to Lava Rock
- Remove the radiant cover(s) and save for future reuse.
- Place the lava rock cover(s) over the burner tube(s).
- Set the waffle grate(s) into place.
- Set the lava rock onto the waffle grate(s) and spread out evenly.
Burn-In the Equipment
- Rotate the gas control knob(s) to the maximum setting.
- Allow charbroiler to heat and burn-in for approximately 30 minutes.
NOTICE: You may notice smoking during this initial burn-in; this is normal. - Rotate the gas control knobs to OFF.
Seasoning Grill Grates
- Allow the charbroiler to cool or heat to a warming temperature of approximately 200° F.
- Rub cooking oil, shortening, beef suet, or the like on the charbroiler grates with a clean cloth.
- Heat the charbroiler to medium high and allow it to operate for approximately 30 minutes.
- Adjust the burner dial(s) to the lowest setting and allow the charbroiler to cool and stabilize at a low heat.
- Remove any excess oil and wipe clean.
- Repeat the process; oil, heat for 30 minutes, cool, and wipe clean.
OPERATION
WARNING Fire, Death Hazard If you smell gas follow the instructions provided by the gas supplier. Do not touch any electrical switches; do not try to light the burner; do not use a telephone in close proximity.
CAUTION Burn Hazard Hot surfaces and food can burn skin. Allow the hot surfaces to cool before handling. Do not drop or spill water onto the cooking surface as it can spray or splatter.
TIP: Set the grill grates at an angle. This will enable liquids to run down the grates and into the drip tray, which will reduce flare-ups.
- Verify the drip tray is in place. Add water to the drip tray. Water vapor rising from the drip tray and through the combustion chamber will help to reduce flare-ups.
- Lightly oil and wipe the grates clean to remove any contaminants that may have accumulated or have seeped from the grill and/or perimeter since last use and to ensure a clean non-stick cooking surface.
- Rotate the gas control knobs to ignite the main burner(s). Adjust the knob(s) to the desired heat level.
- Preheat the grill grates for 15 minutes.
- Cook the food.
- Empty the drip tray periodically to ensure it does not overflow. Check the drip tray frequently and add water as necessary.
- Do not allow oil or grease to build up on the grill grates. Wipe down the grill grates to prevent carbon build-up, which could affect the performance of the grill.
Adjusting the Pilot Light From time to time the pilot light intensity may need to be adjusted to properly ignite the main burners.
- With the pilot light ignited, use a flathead screwdriver to turn the exposed slotted brass screw. Turn the screw clockwise to decrease intensity and counter-clockwise to increase intensity.
- Determine the proper intensity to ignite the burner flames. Burners should ignite from pilot in under 4 seconds.
CLEANING
CAUTION Burn Hazard Hot surfaces and food can burn skin. Allow the hot surfaces to cool before handling. Do not drop or spill water onto the cooking surface as it can spray or splatter.
To prevent flare-ups and to maintain the appearance and increase the service life, clean your equipment daily.
NOTICE: Do not clean the equipment with steel wool.
NOTICE: Do not use cleaning chemicals or soaps as these can be absorbed by the cooking surface and affect the flavor of the food. If necessary, use only clean water, oil, and/or a food grade degreaser for the cleaning process.
NOTICE: To prevent corrosion, do not allow the grate(s) to remain unseasoned or without a thin coating of cooking oil.
Daily
- While the grates are hot (approximately 300° F), use a grill brush or grill brick to scrub them clean.
- Inspect the grates and determine if they need to be re-seasoned. If they grates do not need seasoning, apply a thin coat of cooking oil to the grates to prevent corrosion.
- Allow the charbroiler to cool.
- Remove, empty, and clean the drip tray.
- Clean the exterior of the unit.
Weekly Or More Often if Needed Radiant Bars
- Remove the radiant bars.
- Inspect for wear. If bars are worn, order replacements.
NOTICE: Do not operate the charbroiler with worn radiant bars. This will reduce performance of the charbroiler and may cause flare-ups. - Wash the radiant bars in a solution of warm, soapy water.
- Thoroughly dry the radiant bars.
- Place the radiant bars in the charbroiler.
Lava Rock
- Flip over the lava rocks. This will enable any grease that has accumulated on the top of the rocks to burn off.
- Inspect the waffle grate for wear. If the grate is worn, order a replacement.
NOTICE: Do not operate the charbroiler with a worn grate. This will reduce the performance of the charbroiler and may cause flare-ups. - Inspect the rocks for wear. Vollrath recommends replacing the rocks when the surface is no longer porous. Eventually, ash and contaminants will plug the holes and the lava rock will no longer capture the drippings and convert them to smoke. Instead, the drippings will run off and risk a flare-up.
PREVENTATIVE MAINTENANCE
WARNING Fire, Injury, Death Hazard Contact a qualified technician or service agent for any adjustments, maintenance, or repairs. This appliance is not user serviceable. A qualified service company should check the unit for safe and efficient operation on an annual basis. Contact the factory representative or local service company to perform maintenance and repairs.
TROUBLESHOOTING
| Problem | Might be Caused By | Course of Action |
| Gas smell. | Unknown cause. | Turn off the main supply valve, vent the area, call a qualified service agent. |
| Burner does not light. | Pilot burner not lit. | Wait 5 minutes to allow gas to dissipate, then light the pilot burner. |
| Cooking surface smokes excessively. | Cooking surface not cleaned. | Allow the cooking surface to cool down and clean while still warm, then season the top. |
| Cooking surface is too hot. | Insufficient ventilation. | Ensure a minimum of 6″ of space is allowed on the back of the equipment. |
| Uneven cooking surface top heating. | Insufficient ventilation. | Ensure a minimum of 6″ of space is allowed on the back of the equipment. |
| Air shutter not properly adjusted. | Contact Vollrath technical service. | |
| Burner not operating properly. | Orifice contaminated. | Contact an authorized service agent to service the burner. |
| Air shutter not properly adjusted. | Contact Vollrath technical service. |
SERVICE AND REPAIR
Serviceable parts are available on www.vollrath.com. To avoid serious injury or damage, never attempt to repair the unit yourself. Either contact a qualified service agent for the repair or contact Vollrath Technical Services for instructions. The appropriate phone number is listed at the bottom of the page. When contacting Vollrath Technical Services, please be ready with the item number, model number (if applicable), serial number, and proof of purchase showing the date the unit was purchased.
WARRANTY STATEMENT FOR THE VOLLRATH CO. L.L.C. This warranty does not apply to products purchased for personal, family or household use, and The Vollrath Company L.L.C. does not offer a written warranty to purchasers for such uses. The Vollrath Company L.L.C. warrants the products it manufactures or distributes against defects in materials and workmanship as specifically described in our full warranty statement. In all cases, the warranty runs from the date of the end user’s original purchase date found on the receipt. Any damages from improper use, abuse, modification or damage resulting from improper packaging during return shipment for warranty repair will not be covered under warranty. For complete warranty information, product registration and new product announcement, visit www.vollrath.com.
The Vollrath Company, L.L.C. 1236 North 18th Street Sheboygan, WI 53081-3201 U.S.A. Main Tel: 800.624.2051 or 920.457.4851 Main Fax: 800.752.5620 or 920.459.6573 Customer Service: 800.628.0830 Canada Customer Service: 800.695.8560
Technical Services
[email protected] Induction Products: 800.825.6036 Countertop Warming Products: 800.354.1970 All Other Products: 800.628.0832



















