Char-Broil 8998521 Natural Gas Conversion Kit

Product Information
Natural Gas Conversion Kit for Outdoor Modular Kitchen
The Natural Gas Conversion Kit is designed for use with Char-Broil Modular Outdoor Kitchen Medallion Series grills produced from 2018 or newer, with the Dual Fuel logo. This kit allows you to convert your outdoor kitchen’s griddle and stove top from propane to natural gas, providing a more convenient and cost-effective fuel source.
Please note that this kit is for outdoor use only and must be installed by a certified plumber to ensure safe and proper connection to your natural gas supply.
Parts List
- Conversion hose
- Regulator
- Natural gas orifices for stove top burners and griddle burner
- Control knob inserts
- Installation hardware
Warnings and Cautions
It is important to read and follow all safety instructions provided in the user manual to prevent fire or explosion, property damage or personal injury. Do not attempt to repair or modify the conversion kit as it may result in gas leaks or fire hazards. Use only authorized replacement parts provided by the manufacturer.
Product Usage Instructions
Before using the Natural Gas Conversion Kit, ensure that it is installed by a certified plumber and that all connections are properly secured.
Section 1: Outdoor Stove Top Conversion
- Remove the propane regulator and hose from the back of the stove top.
- Install the natural gas regulator and hose from the conversion kit onto the same connection point on the stove top.
- Replace the propane orifices on the stove top burners with the natural gas orifices provided in the kit.
- Replace the propane control knob inserts with the natural gas control knob inserts provided in the kit.
Section 2: Outdoor Griddle Conversion
- Remove the propane regulator and hose from the back of the griddle.
- Install the natural gas regulator and hose from the conversion kit onto the same connection point on the griddle.
- Replace the propane orifice on the griddle burner with the natural gas orifice provided in the kit.
Section 3: Control Knob Conversion
- Remove the propane control knob inserts from the stove top burners and griddle.
- Install the natural gas control knob inserts provided in the kit onto the same connection points on the stove top burners and griddle.
Section 4: Hose and Regulator Conversion
- Remove the propane hose and regulator from the propane tank.
- Install the natural gas regulator and hose from the conversion kit onto the same connection point on the propane tank.
Once all conversions are complete, test for gas leaks by spraying a soapy water solution onto all connections. If bubbles appear, turn off gas supply and tighten connections before retesting for leaks. Refer to the user manual for additional information on connecting your outdoor kitchen to your natural gas supply and troubleshooting issues that may arise during setup or use.
OUTDOOR MODULAR KITCHEN – GRIDDLE AND STOVE TOP COCINA MODULAR EXTERIOR – REJILLA Y ESTUFA
NOTE: This kit is for use only with Char-Broil Modular Outdoor Kitchen Medallion Series grills produced from 2018 or newer, with Dual FuelTM logo, shown at right:
WARNING
This conversion kit shall be installed by a qualified service agency in accordance with the manufacturer’s instructions and all applicable codes and requirements of the authority having jurisdiction. If the information in these instructions is not followed exactly, a fire, explosion or production of carbon monoxide may result causing property damage, personal injury or loss of life. The qualified service agency is responsible for the proper installation of this kit. The installation is not proper and complete until the operation of the converted appliance is checked as specified in the manufacturer’s instructions supplied with the kit.
DANGER: Indicated an imminently hazardous situation which, if not avoided, will result in death or serious injury.
WARNING: Be alert to the possibility of serious bodily injury if the instructions are not followed. Be sure to read and carefully follow all of the messages.
CAUTION: Indicated a potentially hazardous situation which, if not avoided, may result in minor or moderate injury.
DANGER
If you smell gas:
- Shut off gas to the appliance.
- Extinguish any open flame.
- Open lid.
- If odor continues, keep away from the appliance and immediately call your gas supplier or your fire department.
If you have questions or need assistance during assembly, please call 1-800-448-2177
WARNING
Connection to outdoor gas piping must be done by a certified plumber.
- Read and follow all Safety, Assembly, and Use and Care Instructions in this Guide before assembling and cooking with this grill.
- Failure to follow all instructions in this Use and Care Guide may lead to fire or explosion, which could result in property damage, personal injury or death.
- Do not attempt to repair or alter this conversion kit for any assumed defect. Any modification to this assembly will void your warranty and create the risk of a gas leak and fire. Use only authorized replacement parts supplied by manufacturer.
- Do not store or use gasoline or other flammable liquids or vapors in the vicinity of this or any other appliance.
- An LP Tank not connected for use shall not be stored in the vicinity of this or any other appliance.
CALIFORNIA PROPOSITION 65
- Combustion by-products produced when using this product contains chemicals known to the State of California to cause cancer, birth defects, and other reproductive harm.
- This product contains chemicals, including lead and lead compounds, known to the State of California to cause cancer, birth defects or other reproductive harm.
Wash your hands after handling this product.
CAUTION
Some parts may contain sharp edges, especially as noted in these instructions. Wear protective gloves if necessary. For residential use only. Do not use for commercial cooking.
- Installation must be made in accordance with any local codes or regulations, or in the absence of local codes or regulations, in accordance with the National Fuel Gas Code (NFPA 54/ANSI Z223.1).
- The hose and fittings are designed for movement after installation, but must not be kinked, twisted, or torqued.
- The hose and fittings should be visually inspected periodically to determine that they have not been damaged, and are suitable for continued use.
- Only use the quick connect socket with the plug end of provided hose.
USE & CARE
Natural Gas Connections and Service Regulators Above 1/2 psi. Prior to 1998, all residential gas service regulators were set with an outlet pressure of 1/4 psi. In the 1998 edition of NFPA 54, the National Fuel Gas Code, a change was made allowing service regulators of 2 and 5 psi. With this change it was also required that an in line regulator be connected between the service regulator and the appliance regulator if the 2 or 5 psi system is used. This additional regulator is not supplied with this product. It is possible for a consumer, making the connection themselves, or a plumber, not checking, to tap into a 2 or 5 psi line. If a pressure of 2 psi or greater is supplied to the appliance regulator on certain grills it will shut down and not deliver any gas to the grill. The included quick disconnect socket and hose should not be used at pressures above 1/2 psi. If the quick disconnect socket, hose, and grill are properly connected and still not getting gas, delivery pressure needs to be verified. If pressure is greater than 1/2 psi, make sure that an in line regulator is present. Once the grill has been over-pressured, the regulator may or may not have been damaged. The best practice is to replace the regulator.
NOTE: If your home does not have an outside Natural Gas Supply, you will need a Certified plumber to install the Outside Gas Supply in accordance with any local codes or regulations, or in the absence of local codes or regulations, in accordance with the National Fuel Gas Code (NFPA 54/ANSI Z223.1).
WARNING
Do not use hard metal piping of any kind to connect this type of grill to outdoor gas connection. Use only hose specified by manufacturer. Using hard metal piping or convoluted metal tubing is an unsafe practice. Movement of the grill can cause breakage of metal pipe.
CONVERSION OVERVIEW
- Remove cooking grate, if equipped, from the unit.
- Remove orifice from orifice holder.
- Replace with NG orifice from this kit.
- Reattach orifice holder to burner tube.
- Remove control knob(s).
- Install control knob NG stop pin(s).
- Replace control knob(s).
- Remove LP hose regulator.
- Assemble NG regulator bracket to NG Regulator
- Install NG Regulator and bracket to back panel of appliance.
- Reinstall cooking grate from the unit.
- Connect Gas Hose to Unit.
- Connect Gas Hose to Gas Source.
- Leak Check your appliance per your Appliance Product Guide.
TOOLS REQUIRED FOR ASSEMBLY
- Orifice Removal Tool – Provided
- 2 Adjustable Wrenches – Not Provided
- Flat Blade Screwdriver – Not Provided

Note: Illustrations are not to scale.
NOTE: The Regulator Assembly is shown without hoses attached. Hose(s) may come preassembled. These parts should not be disassembled.
HERRAMIENTAS NECESARIAS PARA EL ARMADO
- Herramienta para agujeros de paso; que viene incluida.
- 2 Llave ajustable; que no viene incluida.
- Destornillador plano – no suministrado
PARTS LIST


WARNING
Place the grill on a flat, level surface before starting the conversion. This conversion kit shall be installed by a qualified service agency.. Incorrect installation may result in explosion and serious injury.
Before starting the conversion, make sure all control knobs are in the OFF position, LP tank valve is closed and tank is disconnected from regulator and removed from unit.


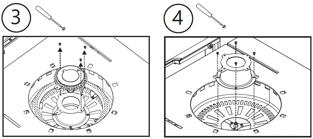
OUTDOOR STOVE TOP CONVERSION




This completes section 1 – Before moving on to Section 2 – please reinstall your burner components in this order – Step 8, 4, 3, 2, and 1
OUTDOOR GRIDDLE CONVERSION
WARNING
Place the grill on a flat, level surface before starting the conversion. This conversion kit shall be installed by a qualified service agency.. Incorrect installation may result in explosion and serious injury.
Before starting the conversion, make sure all control knobs are in the OFF position, LP tank valve is closed and tank is disconnected from regulator and removed from unit.


Reinstall the orifice holder into the burner by reversing step 2.Once complete – continue to Section 4
NOTE: The control knob conversion procedure is the same for both the Outdoor Stove Top and the Outdoor Griddle. The Outdoor Stove Top is shown below.
- Pull the burner control knob off of valve stem.

- Using a Flat Blade Screwdriver, install the Control Knob Stop Pins into the location shown at below. Do not overtighten.


- Reinstall your control knob(s) onto the valve stem. Be sure the knob is properly aligned before installation.


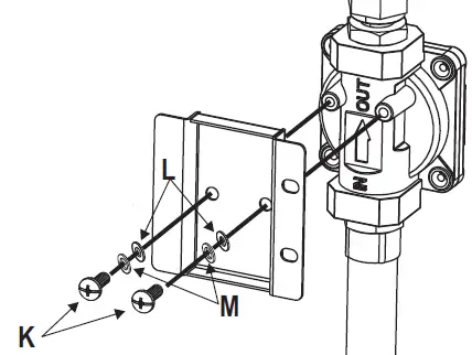
HOSE AND REGULATOR CONVERSION
Overview of procedure
- Remove LP Regulator and Hose assembl.y
- Install mounting bracket to Natural Gas Regulator.
- Install Natural Gas Regulator to inside back panel of appliance.
- Install Hose to Appliance.
- Install Hose to Gas Supply.

- Bracket must be installed with mounting holes to right side, as shown.

NOTE: For clarity, the Regulator Assembly is shown without hoses
attached. DO NOT remove any pre-assembled hoses.
HOSE AND REGULATOR CONVERSION
- View is from outside of the appliance cabinet.

Section 4 is now complete. Please move on to Connection to Natural Gas Source
IMPORTANT
Prior to installation, confirm with your local authorities having jurisdiction if any permits are required to comply with the state and local codes for natural gas installation. A certified or licensed gas technician shall be used to make all natural gas connections To allow proper heating performance of the grill, confirm that your home natural gas supply pressure is sufficient to maintain 4.0” W.C. Manifold pressure at the appliance (measured while it is in operation). A home natural gas supply pressure of 7”±1.5” W.C. entering the appliance regulator is desirable to achieve 4.0” W.C. outlet pressure at the appliance regulator. If the grill is operating at a gas pressure lower than 4.0” W.C., the resulting BTU rate for each will decrease resulting in poor heating performance. Decreased gas pressure can also make the appliance more susceptible to blow-out by wind. A certified gas technician can confirm if your home’s natural gas supply pressure is acceptable. A certified gas technician will be able to determine the appropriate gas pipe size and length to connect your outdoor kitchen to your home gas supply.
- The conversion plate MUST be applied to the grill after the conversion process is complete and the grill has been tested successfully. Completely fill in the blanks indicated on the label:
- Date the grill was converted.
- Type of gas the grill was converted to use.
- Model number of the conversion kit used to make the conversion.
- Name of certified gas technician that performed the conversion, including company name and address.
- Record the grill model number.
- Record the BTU rating of the main and side burners.
- NOTE: Take care to write legibly and with a permanent pen / marker.
- Select a location on the grill large enough for the label to be applied.
- We recommend that you apply the label as close to the grill’s certification label as possible.
- Do not apply the label around corners or edges of the grill sheet metal.
- You may be accessing areas of the grill that are not normally intended to be handled. Take care to avoid potential sharp edges, we recommend that you wear protective gloves.
- Clean the area of the grill in which the label will be applied with a degreasing detergent such as dish washing liquid.
- Allow the area to dry.
- Carefully peel the backing off the label and apply the label to the grill.
- Press out any air bubbles, although the presence of air bubbles will not be an issue.
CONNECTING YOUR GRILL TO THE NATURAL GAS SOURCE
- A professionally-installed shut-off valve between the supply piping and the socket is recommended, but not required, by the National Fuel Gas Code. Socket connection must be made outdoors.
- Coat the gas supply pipe nipple with gas resistant pipe dope or approved teflon tape. Screw socket onto gas supply pipe (house gas source) as shown in Figure A below, and wrench-tighten.
CAUTION
The quick disconnect socket should never be connected to the grill. Direction of gas flow is indicated on the socket.

- Pull back the sleeve on the quick disconnect socket and insert the unattached end of the gas hose into the socket. Release the sleeve and continue pushing the hose into the socket until the sleeve snaps into the locked position. See Figure B.

- When the quick disconnect socket and the gas hose are connected, a valve in the socket opens automatically to permit full gas flow. When the gas hose is disconnected, the valve in the socket instantly and positively shuts off the flow of gas. Because the valve in the socket positively shuts off the flow of gas, the grill can be disconnected from the outdoor gas connection by disconnecting the gas hose from the quick disconnect socket. The socket should be left attached to the outdoor gas connection (house piping). Figure C shows properly connected hose and socket

TROUBLESHOOTING
EMERGENCIES: If a gas leak cannot be stopped, or a fire occurs due to gas leakage, call the fire department.




























