BROAN VAUTOW Automatic Control

READ AND SAVE THESE INSTRUCTIONS
The illustrations in this document are generic; your control appearance may be slightly different from the ones shown.
![]()
Electrical wiring must be done by qualified personnel in accordance with all applicable codes and standards. Before connecting wires, unplug the unit or switch power off at service panel and lock service disconnecting means to prevent power from being switched on accidentally. Always wear safety glasses and gloves while performing these instructions.
CAUTION
If ducts have to go through an unconditioned space (e.g.: attic), always use insulated ducts to prevent condensation formation inside and outside ducts, which could cause material damage and/or mold growth. Moreover, if fresh air to building duct and/or stale air from building duct goes/go through an unconditioned space, the unit must be set to operate continuously in cold conditions (below 10°C/50°F). Continuous air movement inside ducts will prevent condensation formation. The unit can be stopped temporarily for maintenance and/or repair purposes in such conditions. (Refer to section 2.2 from unit User and Installer Manual for more details.)
INSTALLATION
- Unplug the ventilation unit.
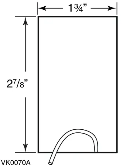
NOTE: If the control is to be installed in an electric box, go to step . - Cut a 27/8″ x 1¾” hole in a wall, at a convenient location for the control. Route a cable (type 22/4) for the control from the unit to this hole. See figure at right.

- Temporarily place the control over the hole and mark both mounting screw hole positions.

- Remove the control, drill both screw holes (3/16″ Ø) in wall and insert the wall anchors (included).
- Strip the end of the cable to access the 4 wires (about 3″). Strip the end of each wire (about 1/4″). Connect the wires to the terminals, regardless of the wire color. Note which wire color has been chosen for each terminal. See illustration below.

- Mount the control to the wall.

- Perform the electrical connection to the terminal connector of the unit, as shown below. For more details, refer to the installation manual of the ventilation unit.
NOTE: To avoid miswiring, refer to the notes taken at step to match the wire color with the right terminal.
- Plug the ventilation unit and test the wall control.
HOW TO USE THE CONTROL

The main button works following this sequence:
- Click 1 = RECIRC (if available)
- Click 2 = INT
- Click 3 = MIN
- Click 4 = MED
- Click 5 = MAX
- Click 6 = OFF
- and so on
The indicator lights up as per the selected mode.
RECIRC: Recirculate air inside the house at MAX speed. Not available on all units.
INT: Within a one hour period, the system will operate in MIN speed for 20 minutes.
MIN/MED/MAX: Continuous exchange ventilation at selected speed.
- Press the TURBO button to get 4 hours of ventilation in MAX speed. The TURBO indicator will light up. Once the 4-hour period is done, the system will operate according to the previous setting.
- Press the AUTO button to let the system operate according to outdoor temperature. The AUTO indicator will light up and the system will operate as follows:
• Less than -25°C = 10 min/hr
• -25°C to -7°C = 20 min/hr
• 10°C to 25°C = MIN speed
• 25°C to 28°C = 30 min/hr
• 28°C to 33°C = 20 min/hr
• Above 33°C = 10 min/hr - If the maintenance indicator is lit, it means that the filter needs to be cleaned or replaced. Once the filter is cleaned or replaced, press the AUTO button for five seconds to reset the maintenance indicator. If the maintenance indicator flashes, the LCD screen on the unit will give the error code. Refer to the Troubleshooting section in the ventilation unit user guide for more information.
- At unit first boot, AUTO and TURBO indicators blink alternately for about 1 minute. If indicators continue blinking after this period, it means that the communication cannot be established with the ventilation unit. Make sure wires are correctly connected to the wall control and unit terminals (refer to step 7). 23841 rev. 02






















