Aube TH401 Non-programmable Thermostat Owner’s Guide



Need Help?
We are here to help. Call 1-800-831-2823.
About your new thermostat
This thermostat can be used to control an electric heating system such as a baseboard heater, a radiant floor, a convector, or a fan-forced heater.
The thermostat CANNOT be used with:
- a resistive load under 0.83 A
- a resistive load over 10.4 A
- a system driven by a contactor or a relay (inductive load)
- a central heating system
SUPPLIED PARTS
- One (1) thermostat
- Two (2) 6-32 mounting screws
- Two (2) solderless connectors
Temperature display and setting

The thermostat normally displays the actual (ambient) temperature.
- To view the setpoint temperature, briefly press the Up or Down button. The setpoint will be displayed for 5 seconds and the screen illuminated for 12 seconds.
- To change the setpoint temperature, press the Up or Down button until the desired value is displayed.
Removing the faceplate
TURN OFF POWER OF THE HEATING SYSTEM AT THE MAIN POWER PANEL TO AVOID ELECTRIC SHOCK.

Loosen the screw holding the faceplate to the base. The screw cannot be completely removed and remains captive on the base. Remove the faceplate from the base by pulling the bottom half.
NOTE: Must be installed by a trained, experienced technician.
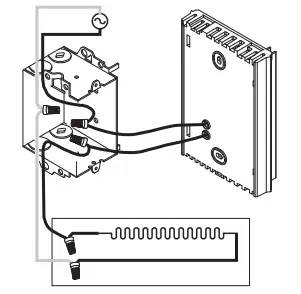
Wiring
Connect any one of thermostat wires to the heater (load) wire and the other one to the power supply wire using solderless connectors for copper wires. (The thermostat wires are non-polarized; either wire can be connected to the load or to the power supply.)
2-wire installation

4-wire installation

NOTE: All cables and connections must conform to the local electrical code. Special CO/ALR solderless connectors must be used when connecting with aluminium conductors.
Installing the faceplate

Install the base onto an electrical box.
Reinstall the faceplate on the base and secure it in place with the screw.
NOTE: Keep the air vents of thermostat clean and unobstructed at all times.
Setup procedure
The setup menu is shown on the following page.
- Press the Up and Down buttons simultaneously for three seconds to enter the setup menu.
- Press the Up or Down button to change the option.
- Press the Up and Down buttons simultaneously for one second to advance to the next parameter.
- When the last parameter is displayed, press the Up and Down buttons for three seconds to save any changes and exit the menu.
NOTE: If you do not press any button for one minute, the thermostat will automatically save any changes you have made and will then return to its normal display.

In case of difficulty

Specifications
- Supply: 120/240 VAC, 60 Hz
- Minimum load:
0.83 A (resistive only)
200 W @ 240 VAC
100 W @ 120 VAC - Maximum load:
10.4 A (resistive only)
2500 W @ 240 VAC
1250 W @ 120 VAC - Display range: 0°C to 50°C (32°F to 122°F)
- Setpoint range: 5°C to 30°C (41°F to 86°F)
- Storage: -20°C to 50°C (-4°F to 120°F)
- Heating cycle length: 17 seconds / 5 minutes, 20 seconds (user-selectable)
- Permanent memory: You do not need to adjust the temperature following a power outage.
- ICES-003 Class B Notice – Avis NMB-3, Classe B
This Class B digital apparatus complies with Canadian ICES-3.
![]()
Warranty
Resideo warrants this product to be free from defects in workmanship or materials, under normal use and service, for a period of three (3) years from the date of first purchase by the original purchaser. If at any time during the warranty period the product is determined to be defective due to workmanship or materials, Resideo shall repair or replace it (at Resideo’s option).
If the product is defective,
(i) return it, with a bill of sale or other dated proof of purchase, to the place from which you purchased it; or
(ii) call Resideo Customer Care at 1-800-831-2823. Customer Care will make the determination whether the product should be returned to the following address: Resideo Return Goods, Dock 4 MN10-3860, 1985 Douglas Dr. N., Golden Valley, MN 55422, or whether a replacement product can be sent to you.
This warranty does not cover removal or reinstallation costs. This warranty shall not apply if it is shown by Resideo that the defect was caused by damage which occurred while the product was in the possession of a consumer.
Resideo’s sole responsibility shall be to repair or replace the product within the terms stated above. RESIDEO SHALL NOT BE LIABLE FOR ANY LOSS OR DAMAGE OF ANY KIND, INCLUDING ANY INCIDENTAL OR CONSEQUENTIAL DAMAGES RESULTING, DIRECTLY OR INDIRECTLY, FROM ANY BREACH OF ANY WARRANTY, EXPRESS OR IMPLIED, OR ANY OTHER FAILURE OF THIS PRODUCT.
Some states do not allow the exclusion or limitation of incidental or consequential damages, so this limitation may not apply to you.
THIS WARRANTY IS THE ONLY EXPRESS WARRANTY RESIDEO MAKES ON THIS PRODUCT. THE DURATION OF ANY IMPLIED WARRANTIES, INCLUDING THE WARRANTIES OF MERCHANTABILITY AND FITNESS FOR A PARTICULAR PURPOSE, IS HEREBY LIMITED TO THE THREE YEAR DURATION OF THIS WARRANTY. Some states do not allow limitations on how long an implied warranty lasts, so the above limitation may not apply to you.
This warranty gives you specific legal rights, and you may have other rights which vary from state to state. If you have any questions concerning this warranty, please write Resideo Customer Care, 1985 Douglas Dr, Golden Valley, MN 55422 or call 1-800-831-2823.
Customer assistance
If you have any questions about the product installation or operation, contact us at: 1-800-831-2823
CAUTION: ELECTRONIC WASTE NOTICE
The product should not be disposed of with other household waste. Check for the nearest authorized collection centers or authorized recyclers. The correct disposal of end-of-life equipment will help prevent negative consequences for the environment and human health.
69-2550EFS-07
2021-08-03
Printed in U.S.A.




















