Mini-slide
MSN
Operating instructions
Product Overview

- Drive
Double-acting drive cylinder
- Base
- Threaded/through holes to mount the mini-slide
- Threaded holes to mount the mini-slide
- Slide with front plate
- Threaded holes to mount loads
- Compressed air connections the lateral and lower compressed air connections are closed on delivery
- Sensor grooves to mount the cylinder switches laterally on either side of the base
- Guide system with integrated precision ball-bearing
General
2.1 Symbols
Observe the warnings and information given
- on the product
- in these operating instructions
2.2 Operating conditions
Designated use
CAUTION! Operating the mini-slide within the limits of its designated use involves compliance with the operating conditions prescribed by AVENTICS (e.g. forces, moments, masses, speeds, pressure, temperature range, etc.). These permissible limits may not be exceeded.
CAUTION! Unauthorized conversions or modifications of the drives signify a safety risk and are therefore not permitted. AVENTICS cannot assume any liability for resulting
damage.
- Observe the regulations, guidelines, and standards of, for example, professional associations, technical supervisory associations, or corresponding regulations effective in the country of use.
Medium
AVENTICS drives are designed for oil-free operation when put to their designated use.
- Once you have selected a medium, abide by that selection throughout the service life of the product, e.g. always use oil-free compressed air.
Installation and initial startup
- Maybe attended to only by qualified personnel, in accordance with the operating instructions.
2.3 Transport and storage
NOTICE! Pneumatic components typically have elastomer seals. They are subject to aging, i.e. items stored for longer than 2 years no longer have the full life expectancy. Aging can be accelerated by heat and light (UV irradiation).
Installation and Mounting
3.1 Mechanical
Damage

- Handle the mini-slide in such a way as to prevent damage to the slide guide, which will reduce the service life.
Installation location

- Pay attention that there is sufficient installation space for the pneumatic connections.
Vertical installation

- Make sure that when the slide comes to a standstill it has reached a stable position, e.g. it is safeguarded by a movable pin or moved to the lowest point (1). You hereby prevent sudden downward mass impact.
3.2 Mounting the mini-slide on a base
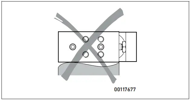
Even the surface of the base

- The mini-slide must be mounted free from distortion and stress-free on a plane base using at least two mounting screws.
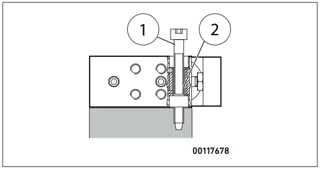
“Lateral” mounting by way of through holes

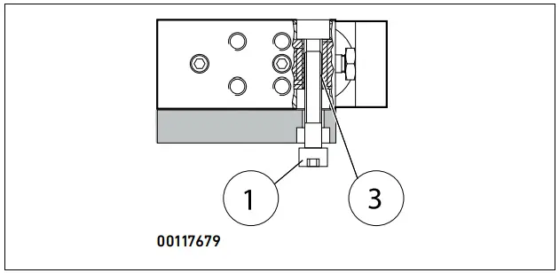
- “Mini-slide” mounting screw (1)
- Through holes (2)
“Lateral, rear, and bottom” mounting by way of threaded holes

- Threaded holes (3)
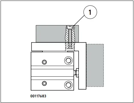
3.3 Mounting the load “m” on the slide


Mounting with screws

- The load must be mounted free from distortion and stress-free on the slide.
- Mounting screw “load” (1)
3.4 Tilting moments of loads

NOTICE! The load must be placed on the slide in such a way that the tilting moment of the lever arm x is kept down.
Compressed Air Connections
4.1 Compressed air connections “forward stroke”

- The compressed air for the forward and return stroke can be supplied to the minislide from the rear, side, or bottom.
- Use check-choke valves (1) to set the slide speed.
4.2 Compressed air connections “return stroke”

They are installed as follows:
- Screw the check-choke valves directly into the compressed air connections
- Remove the transport covers from the compressed air connections.
- Connect hoses to the compressed air connections.
4.3 Check-choke valves

The lateral and lower compressed air connections are closed with threaded pins on delivery.
Magnetic Proximity Switching
5.1 Proximity switching reliability and cylinder switch assembly

NOTICE! Strong external magnetic fields (e.g. welding units) or ferromagnetic attachments located in the direct vicinity of the proximity switching system may affect the proximity switching function.
- The “Pico” cylinder switches must be mounted in the sensor grooves as illustrated to detect the end position of the slide.
| Type | MSN-6 | MSN-10 | MSN-16 |
| Safe distance X1 | * | * | * |
| Safe distance X2 | * | * | * |
* Being prepared
Startup

6.1 Operating conditions for startup 1
- Ensure in the movement range of the minislides that
- nobody reaches into the path of the slide (e.g. guard as a protective measure)
- there are no foreign items.
- It should be possible to access the mini slides by hand when the moving mass has come to a complete standstill.
6.2 Mounting the load
See notes in chapter 3 Installation and Mounting.
6.3 Definition: moving mass
Moving mass = load + slide mass + additional masses (e.g. mounting elements for the load).
6.4 Ventilation
- Turn both connected check-choke valves
- First, completely close them 2
- Then open them by one rotation 3.
- Ensure that the operating conditions are within the permissible ranges.
- Ventilate the drive slowly on one side. The slide moves to an end position.
6.5 Trial run
- In a trial run check whether the following points have to be altered:
– the speed and acceleration of the moving mass
– the end position
– the mass of the load
– the position of the cylinder switches
In this case, the alterations may be made only when the slide is at a standstill. - Slowly open the check-choke valves until the desired slide speed has been set.
In doing so, do not exceed the max. permissible speed (see data in online/print catalog).
The slide should reach the end position, but not hit it hard.
An excessively hard impact causes the slide to rebound from the end position. - If the hard impact of the slide is audible, stop the trial run. A hard impact may be caused if:
– A mass moment of inertia of the moving mass is too high
– Slide speed is too high
– No compressed air cushion on the exhaust side. - Take corrective action for the above causes.
- When all the necessary corrections have been made, repeat the trial run.
- Conclude the trial run.
Finally, mount the cylinder switches.
Dismantling and Repair
- Exhaust the entire system and all devices.
CAUTION! Repair work on the slide guide is not allowed!
Technical Information
See data in the online/print catalog.
Subject to change without notice.
The data specified above only serve to describe the product. No statements concerning a certain condition or suitability for a certain application can be derived from our information. The given information does not release the user from the obligation of their own judgment and verification. It must be remembered that our products are subject to a natural process of wear and aging.
An example configuration is depicted on the title page. The delivered product may thus vary from that in the illustration.
Translation of the original operating instructions. The original operating instructions were created in the German language.
R499050100–BDL–001–AB/11.2014 Subject to modifications. © All rights reserved by AVENTICS GmbH, even and especially in cases of proprietary rights applications. It may not be reproduced or given to third parties without its consent.
AVENTICS GmbH
Ulmer Straße 4
30880 Laatzen
Phone +49 (0) 511-21 36-0
Fax: +49 (0) 511-21 36-2 69
www.aventics.com
[email protected]
Further addresses:
www.aventics.com/contact
R499050100/11.2014,
Replaces 03.2004



















