EBS Magni 502 Bass Combo Amplifier User Manual
The name ’Magni’ stems from a character in Norse mythology – Magni, son of Thor (the God of Thunder). The word Magni translates to ‘Strong’ and is indeed significant for these thunderous Magni 502 bass combos!
The Magni 502 combo is based on the Reidmar 502 amp design. It is available in a configuration with 2×10” and a tweeter. The rig can be extended with a 4-ohm passive speaker cabinet.
The Magni 502 is designed and developed in the heart of Sweden by EBS.
GETTING STARTED…
- Carefully unpack the bass combo.
- Check that all knobs are set fully counter clockwise besides the EQ controls marked BASS, MIDDLE and TREBLE which should be set to mid position. Make also sure all push switches are set to their outer positions. Now the EBS Magni 502 settings are “zeroed” and ready to be personalized.
- If you add another cabinet, make sure the impedance of that cabinet is not below 4 ohms.
- Turn on the POWER switch.
- Plug in your bass. While plucking the strings as hard as you would during your hardest playing, gradually increase the GAIN knob unit the peak LED starts to flash at peaks.
- Move over to the VOLUME knob and adjust for the desired output volume.
BUILDING THE SOUND… - The first tonal shaping circuitry is the Character Filter next to the GAIN control. This filters provides a preshape EQ prior of further fine tuning of your sound.
- Enable the filters by pressing the Filter Active pushbutton and explore the filter section. Play your bass. Note that there isn’t any difference in sound yet.
- The filters are basically of the boost/cut design. This means that the level controls marked with + and -signs, either boost or cuts the selected frequency band. Further, the MIDDLE section has got a frequency control for precise adjustment of the midrange.
- Gradually increase or decrease the level and vary the frequency of the middle filter when operating the middle filter. Notice how the sound is effected. An A/B comparison can be made by toggling the filter active switch.
- Proceed to the COMP/LIMIT knob. This control adjusts the compression and is useful when playing very dynamic or loud.
- Turn up the COMP/LIMIT knob to mid and max position. Notice how the peaks in volume will straighten out as you play harder and harder.
- Now, go on to the BRIGHT and turn it half way up. Play your bass. The BRIGHT filter is a high pass filter which works on the highest frequencies of the bass to give enhanced ambiance and presence.
This was a brief introduction and as you go on further in this manual, you will learn how to use and utilize all of the useful features that the EBS Magni 502 offers you.
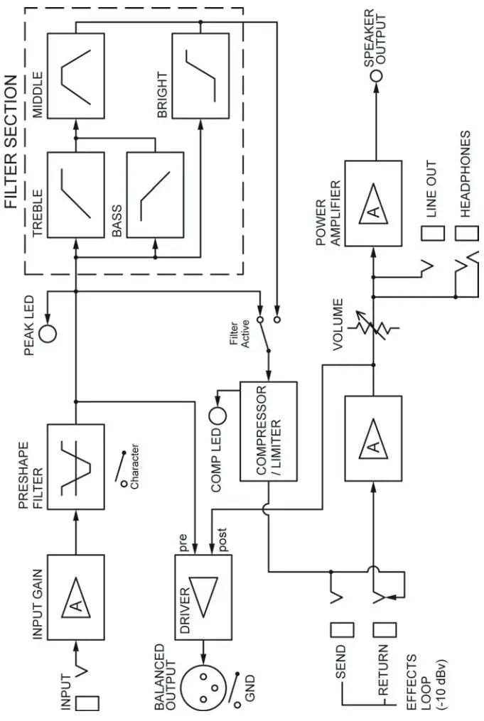
BLOCK DIAGRAM

FRONT PANEL CONTROLS

- INPUT –A low noise, high impedance instrument input that will interface with passive and active instruments perfectly.
- CHARACTER FILTER –The EBS Magni 502 provides a preshape filter, Character, which operate independently from the other preamp functions. This gives the user the opportunity to preshape the sound before the final processing with the other features of the preamp. When on, boost is achieved in bass and treble ranges respectively, while the midrange has a slight drop in gain.

- GAIN -Control to adjust the instruments’ signal strength to the right operating level in the EBS Magni 502. For optimum basic signal level, turn up the GAIN knob until thePEAK led starts flashing from the strongest signal from the instrument.
Note: A correctly set GAIN is vital for the signal processing to work properly in the EBS Magni 502. - COMP/LIMIT -A low noise compressor limiter that works fast and effectively, tightening up the sound and preventing the bass head from saturating at peaks when approaching the headroom limit. A string may be plucked very hard and fast, without any greater difference in level or side effects. The COMP/LIMIT knob sets the compression ratio, i.e. The signal strength relation between the input and output; the higher ratio the more compression. The LED intensity dynamically indicates the amount of compression during play.
- FILTER ACTIVE – This switch actives the filter section described under point 6.
- FILTERS -The filter section contains four enhanced performance filters:
BASS is a ’shelving’ type 12dB/oct slope phase compensated bass filter with a wide gain range.
MIDDLE has an extended frequency range of 100-6000 Hz. This filter facilitates total control over the mids, with a wide bandwidth giving a natural and nonpeaking result using frequency dependent gain. In addition, at minimum setting this filter facilitates a notch function, suitable for cutting an exact frequency or eliminating acoustic coupling.
TREBLE is a shelving type filter controlling the higher mids and treble registers, giving presence and ambience to the sound.
BRIGHT is an advanced high pass filter capable of producing bright high treble timbre, without adding practically any noise. - VOLUME -The VOLUME knob controls all volume in the unit, controlling the poweramp and LINE output. The balanced output (XLR) is not affected by the setting of this knob.
- PILOT LAMP -Indicates power on condition.
REAR PANEL FEATURES

- BALANCED OUTPUT -A balanced output functions as a high quality line box for connecting to PA mixing consoles or to studio or broadcast recording units, with high noise immunity. The volume level does not effect this output.
- GND LIFT SWITCH -Lifting ground is a great aid in many occasions eliminating ground noise and hum. When required, set this switch to Lift position to disconnect the ground from the balanced output.
- PRE/POST EQ SWITCH -The switch selects the signal source. In the inner position this switch selects the overall sound included settings on the EQ, otherwise, in the lower position an uncolored sound is taken immediately after the amplifiers input.
- EFFECTS LOOP – This is a serial effects loop for the use of external units such as box or rack effects. Nominal level is set for use with standard stomp boxes. The loop puts the external effects after the filter, compressor and drive sections.
- LINE OUT –This is a fullrange output that will drive multiple poweramps, extending the power of the system. The signal present at this output is taken after the volume control.
- PHONES – 1/4” stereo contact to connect a pair of standard headphones.
- SPEAKER OUTPUT – Option to connect an extra speaker here. The impedance must not be lower than 4 ohms.
Warning: Lower impedance than 4 ohms may cause permanent damage to the amp. - MAINS SELECTOR SWITCH -Selects the operating mains voltage. Unplug the amp before selecting the mains voltage!
- MAINS – Connect only to the indicated mains AC voltage and replace fuse if needed only with same type and value.
- POWER -Switches the amp on or off.
AVAILABLE MODELS
EBS MAGNI 502 – MA102
- 2×10” Speaker Configuration
- Freq. range: 45-20.000 Hz
- Weight only: 15.4 kg / 33.95 lbs
| INPUT: | Input Impedance | 1 Mohms // 100 pF | |
| GAIN: | Gain Range | min/max | -oo/ +30 dB |
| Gain Peak LED | +10 dBv | ||
| Frequency Response | +0 / -3 dB | 20 -20.000 Hz | |
| CHARACTER: | Filter: | Type | Shelving High/Low Pass |
| Gain: | Low | +7 dB @ 40 Hz | |
| Mid | -2dB@ 800Hz | ||
| High | +3 dB @ 10 kHz | ||
| COMP/LIMIT: | Compressor Gain | 0 dB | |
| Attenuation | max | 24 dB | |
| Compression Ratio | max | 3:1 | |
| Attack (80%) | typ. | <10 ms | |
| Release (80%) | typ. | 100 ms | |
| FILTER SECTION: | Bass Filter: | Type | 12 dB/oct. Shelving |
| Gain Range | +/-18dB @ 60Hz | ||
| Middle Filter: | Type | Bandpass Filter | |
| Frequency Range | 100 -6.000 Hz | ||
| Q -Boost | 0.7 -1.1 | ||
| Q -Cut | 0.8 ->10 | ||
| Gain Range | +/-12-15 dB | ||
| Treble Filter: | Type | Shelving | |
| Gain Range | +/-18dB@6kHz | ||
| Bright: | Type | Shelving | |
| Gain Range | +15/-0 dB @ 10 kHz | ||
| BALANCED OUTPUT: | Output Level | Nominal | -10dBv |
| Frequency Response | +0/-3 dB | 10-20.000 Hz | |
| XLR Connections | 1-GND, 2-Hot, 3-Cold | ||
| Options | GND Lift, Pre/Post EQ | ||
| EFFECT LOOP: | Loop Signal Level | nominal | -10 dBv |
| Gain | Unity (1:1) | ||
| Output Impedance | 100 ohms | ||
| Input Impedance | >50 kohms // 100 pF | ||
| LINE OUT: | Output Impedance | 100 ohms | |
| Signal Level | nominal | 0 dBv | |
| PHONES OUT: | Impedance | recommended | 32 -200 ohms |
| POWER AMP: | Continuous Output Power | @2 ohms/4 ohms | 500 W RMS / 250 W RMS |
| Dynamic Output Power | 500 W peak | ||
| Minimum Load Impedance | 4 ohms (External Cabinet) | ||
| Protection | Short circuit, High temperature | ||
| AUXILIARY INFO: | Power Requirements | max 500 W | |
| Mains Protection: | T2.5A Fuse (230V) T5A Fuse (100/120V) | ||
| CABINET: | Speaker type | Neodymium | |
| Internal Impedance (total) | 4 ohms | ||
| Crossover Freq. | 4.5 kHz | ||
| Frequency range | MA102 (2×10”) | 45-20.000 Hz | |
| Sensitivity | typ. | 99 dB 1W/1m | |
| Volume | 50 liters | ||
| Power rating | MA10 (2×10”) | 300 W (RMS) | |
| Power rating | MA15 (1×15”) | 300 W (RMS) | |
| Measurements | (H x W x D) | 560 x 440 x 365 mm / 22 x 17.3 x 14.4” | |
| Weight | MA102 | 15.4 kg / 33.95 lbs | |
Support
Specifications are subject to change without notice!
EBS MAGNI 502 – PROFESSIONAL BASS COMBO
DESIGNED AND DEVELOPED BY EBS SWEDEN AB
GRINDSTUVÄGEN 44-46, SE-16733 BROMMA,SWEDEN
PHONE +46 87350010,
FAX:+4687350005
E-MAIL: [email protected]
WEB: www.ebssweden.com






















