EBS Reidmar 502 Professional Bass Head

INTRODUCTION
Welcome to the EBS Reidmar Bass Head!
The EBS Reidmar provides a full bodied, warm and transparent tone throughout the entire range. It is equipped with EBS renowned built in compressor, professional balanced XLR-output, Character filter and an efficient 4-Band EQ that lets you master the sound. The Reidmar does not compromise on the tone, it uses and benefits from all the 250 Watts RMS, without getting muddy or clipping, giving a powerful and highly portable amp with an impressive tone that will handle any stage or studio session gig.
The EBS Reidmar handles a minimum of 2 Ohm load and is the perfect companion to a stack of Mini size ClassicLine or NeoLine cabinets, or used with a single full size EBS cabinet. The Reidmar amp is designed and developed in the heart of Sweden by EBS.
GETTING STARTED…
- Carefully unpack the bass head.
- Check that all knobs are set fully counter clockwise besides the EQ controls marked BASS, MIDDLE and TREBLE which should be set to mid position. Make also sure all push switches are set to their outer positions. Now the EBS Reidmars settings are “zeroed” and ready to be personalized.
- Connect one or more speaker cabinets to the speaker output. Make sure the total impedance is not below 2 ohms.
- Turn on the POWER switch.
- Plug in your bass. While plucking the strings as hard as you would during your hardest playing, gradually increase the GAIN knob unit the peak LED starts to flash at peaks.
- Move over to the VOLUME knob and adjust for the desired output volume.
- The first tonal shaping circuitry is the Character Filter next to the GAIN control. This filters provides a preshape EQ prior of further fine tuning of your sound.
- Enable the filters by pressing the Filter Active pushbutton and explore the filter section. Play your bass. Note that there isn’t any difference in sound yet.
- The filters are basically of the boost/cut design. This means that the level controls marked with + and – signs, either boost or cuts the selected frequency band. Further,
the MIDDLE section has got a frequency control for precise adjustment of the midrange. - Gradually increase or decrease the level and vary the frequency of the middle filter when operating the middle filter. Notice how the sound is effected. An A/B comparison can be made by toggling the filter active switch.
- Proceed to the COMP/LIMIT knob. This control adjusts the compression and is useful when playing very dynamic or loud.
- Turn up the COMP/LIMIT knob to mid and max position. Notice how the peaks in volume will straighten out as you play harder and harder.
- Now, go on to the BRIGHT and turn it half way up. Play your bass. The BRIGHT filter is a high pass filter which works on the highest fre-quencies of the bass to give enhanced ambiance and presence.
This was a brief introduction and as you go on further in this manual, you will learn how to use and utilize all of the useful features that the EBS
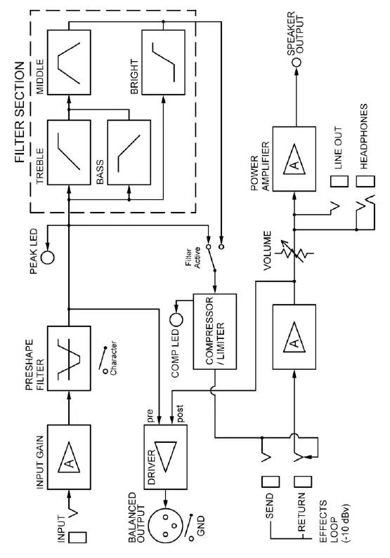
FUNCTIONAL DESCRIPTION REAR PANEL:

- BALANCED OUTPUT: – A balanced output functions as a high quality line box for connecting to PA mixing consoles or to studio or broadcast recording units, with high noise immunity. The volume level does not effect this output.
- GND LIFT SWITCH: Lifting ground is a great aid in many occasions eliminating ground noise and hum. When required, set this switch to Lift position to disconnect the ground from the balanced output.
- PRE/POST EQ SWITCH: – The Pre setting sends the signal after the setting outputs the signal after the entire preamp. Lift Pre Post
- EFFECTS LOOP: This is a serial effects loopfor the use of external units such as box or rack effects. Nominal level is set for use with standard stomp boxes. The loop puts the external effects after the filter and compressor sections.
- LINE OUT: This is a fullrange output that will drive multiple poweramps, extending the power of the system. The signal present at this output is taken after the volume control.
- PHONES: Connect standard headphones to this output. This output automatically mutes the internal poweramp and line output LINE OUT when connected.
- SPEAKER OUTPUT: – Connect your speakers here. Care should be taken when connecting speakers so that the minium total impedance is not lower than 2 ohms.
Note: Lower impedance than 2 ohms may cause permanent damage to the amp. EBS will not take responsibility for eventual hearing damages caused by the powerful EBS Reidmar. - SYSTEM FAN: The amps performance is maintained among other techniques with a fan controlling the temperature of the unit. Make sure not to cover the ventilation openings of the amp! IMPORTANT!
- MAINS: – Connect only to the indicated mains AC voltage and replace fuse if needed only with same type and value.
- MAINS SELECTOR SWITCH: – Selects the operating mains voltage. Unplug the amp before selecting the mains voltage!
- POWER: – Switches the amp on or off.

BLOCK DIAGRAM
FUNCTIONAL DESCRIPTION FRONT PANEL CONTROLS:

- INPUT- A low noise, high impedance instrument input that will interface with passive and active instruments perfectly.
- CHARACTER FILTER: The EBS Reidmar provides a preshape filter, Character, which operate independently from the other preamp functions. This gives the user the opportunity to preshape the sound before the final processing with the other features of the preamp. When pressed to inner position, boost is achieved in bass and treble ranges respectively, while the midrange has a slight drop in gain.
- GAIN: – Control to adjust the instruments’ signal strength to the right operating level in the EBS Reidmar. For optimum basic signal level, turn up the GAIN knob until the PEAK led starts flashing from the strongest signal from the instrument.
Note: A correctly set GAIN is vital for the signal processing to work properly in the Reidmar. - COMP/LIMIT: – A low noise compressor limiter that works fast and effectively, tightening up the sound and preventing the bass head from saturating at peaks when approaching the headroom limit. A string may be plucked very hard and fast, without any greater difference in level or side effects. The COMP/LIMIT knob sets the compression ratio, i.e. The signal strength relation between the input and output; the higher ratio the more compression.
- FILTERACTIVE: – This switch actives the filter section described under point 6.
- FILTERS: – The filter section contains fourenhanced performance filters:
- VOLUME The VOLUME knob controls all volume in the unit, controlling the poweramp and LINE output. The balanced output (XLR) is not affected by the setting of this knob.
- PILOT LAMP – Indicates power on condition.
BASS: is a ‘shelving’ type 12dB/oct slope phase compensated bass filter with a wide gain range.
MIDDLE: has an extended frequency range of 100-6000 Hz. This filter facilitates total control over the mids, with a wide bandwidth giving a natural and non-peaking result using frequency dependent gain. In addition, at minimum setting this filter facilitates a notch function, suitable for cutting an exact frequency or eliminating acoustic coupling.

TREBLE: is a shelving type filter controlling the higher mids and treble registers, giving presence and ambience to the sound.
BRIGHT: is an advanced high pass filter capable of producing bright high treble timbre, without adding practically any noise.

EBS Reidmar 502 Professional Bass Hea


















