
Flowerpot VP8 Verner Panton 1968
Instructions
Flowerpot VP8 Wall Lamp Gray Beige
Congratulations with your new Flowerpot lamp, designed in 1968 by Verner Panton. We hope you will enjoy using this product and follow these instructions to ensure correct installation. If you have any questions or comments, please do not hesitate to contact us by mail on: [email protected]
Please read these instructions carefully and retain them for future reference to ensure that the product is used correctly. For your own safety, please study each step of this instruction manual first. &Tradition is not responsible for any faults or damages caused by not following these instructions correctly.
Do not modify this product in any way.
Contents
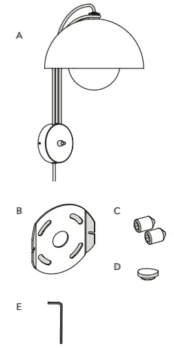
A Flowerpot lamp
B Wall bracket
C Screws
D Plug (only used for hard-wired version)
E Allen key

Tools needed
– E27 light bulb
– Screwdriver
– Cutter (only used for hard-wired version)
Safety precautions
– Dispose of plastic bag from packaging and do not allow children to play with it.
– Keep product well out of children’s reach.
– The lamp is only intended for interior use.
– Consult a professionally qualified electrician if in any doubt.
– Do not place the cable within reach of small children or anywhere with a risk of falling over it.
Cleaning instructions
– Wipe surface of lamp shade with a soft, damp sponge or cloth.
– Do not use any abrasive cleaning tools such as steel wool, scouring sponges or stiff brushes.
– Never use strong cleaning agents such as white spirit, turpentine, household glass cleaner or cellulose thinners.
– Only wipe the inside of the shade with a soft, damp cloth or feather duster.
For standard installation please follow step 1 – 4
For hard-wired installation please follow step 5 – 19
| Step 1 Install a lightbulb in the lamp and mount the bottom shade onto the three pronged-arm inside the shade. Be careful not to apply too much pressure to the arms inside the shade. | Step 2 Make sure the power cord can be connected to a power supply, so it is not over-stretched or an obstacle. Place the wall bracket on top of a spirit level in the desired location of the lamp. Ensure the bracket is levelled and mark the placement of the holes with a pencil. |
![]() | ![]() |
| Step 3 Drill holes for the bracket and use the correct type of screws and plugs for the type of wall, on which the lamp is to be installed. Tighten screws and ensure the bracket is safely fixed. | Step 4 Place the lamp on the wall bracket and align the holes of the lamp with the bracket and tighten the screws with a screwdriver. |
![]() | ![]() |
Hard-wired version
The Flowerpot VP8 can also be installed as a hard-wired version. Before turning the wall lamp into a hard-wired version, make sure the lamp is unplugged and not connected to electricity.
| Step 5 Cut off the cord a couple of cm below the wire output on the bottom of the lamp housing. If not previously installed on the wall, please skip to step 8. Otherwise please follow below. | Step 6 Unscrew the two screws from the housing by turning counterclockwise. |
![]() | ![]() |
| Step 7 Carefully remove the lamp from wall bracket. | Step 8 Pull the cord up through the hole in the lamp housing. |
![]() | ![]() |
| Step 9 Pull out the black plastic strain relief protector from the hole. | Step 10 Install the plug to cover the hole by tearing off the protection tape and insert plug. Keep pressure for approximately 20 sec to make sure the plug stays in place. |
![]() | ![]() |
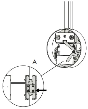
| Step 11 Unscrew the strain relief holding the cable and release the cable and the terminal connector. | Step 12 Open the white terminal connector and unscrew the blue and brown wire coming from the previously cut cord (A). Remove the cut cord from the lamp. |
![]() | ![]() |
| Step 13 Install the wall bracket by pulling the wires from the main outlet through the hole in the wall bracket. | Step 14 Place the wall bracket on top of a spirit level in the desired location of the lamp. Ensure the bracket is levelled and mark the placement of the holes with a pencil. |
![]() | ![]() |
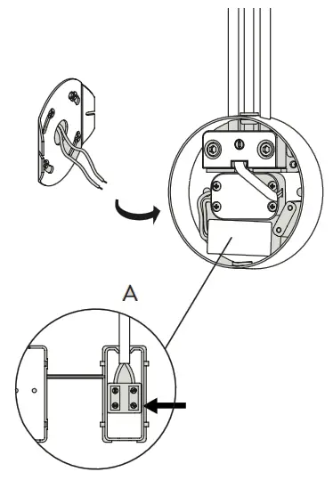
| Step 15 Drill holes for the bracket and use the correct type of screws and plugs for the type of wall, on which the lamp is to be installed. Tighten the screws and ensure the bracket is safely fixed. | Step 16 Install the wires from the outlet into the white terminal connector (A). Connect the blue supply wire to the blue fixture wire. Connect the brown supply wire to the brown fixture wire. Close the cap to the terminal connector and place it inside the lamp housing. |
![]() | ![]() |
| Step 17 Tighten the strain relief holding the wires from the outlet. | Step 18 Place the lamp carefully on the wall bracket. Insert and tighten screws to fix the lamp to the wall bracket. |
![]() | ![]() |
| Step 19 Install a light bulb in the lamp and mount the bottom shade onto the three-pronged arm inside the shade. Be careful not to apply too much pressure to the arms inside the shade. | ![]() |
For indoor use only
E27 maximum 40W
Bulb not included![]()





































