TRIO 2838142XX Bathroom Wall Lamp

WARNING!
Before assembling, please read carefully the safety instructions!
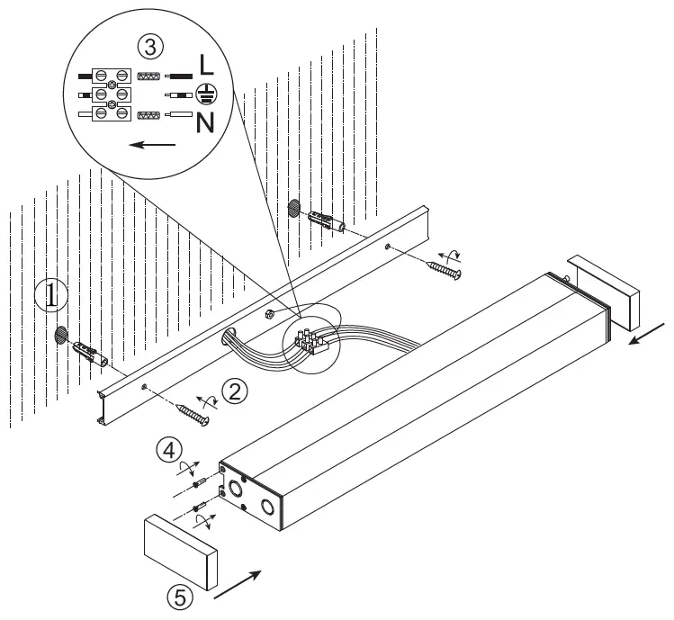
Installation

Specification
- 230V~50Hz
- 1 x LED / 6.5W
Contact information

This product contains a light source(s) of energy efficiency class(es) F
TRIO Leuchten GmbH | Gut Nierhof 17 | D-59757 Arnsberg | www.trio-lighting.com.
TRIO Leuchten GmbH
TRIO International GmbH
Gut Nierhof 17 D-59757 Arnsberg
www.trio-lighting.com.
- WEEE-Reg. Nr.: DE78273666
- TRIO Lighting Ibérica s.I.: RAEE 4544
- TRIO Lighting Italia s.r.I.: RAEE IT13020000007829
- TRIO Lighting Scandinavia Oy: WEEE PIR2005Y354114/2114
Developed in Germany by Made in PRC.




















