LAZLE T-20M Infrared Thermometer

PREFACE
Thank you for buying the T-20M Non-Contact Ear & Forehead Infrared Thermometer with Voice-Over Function. Please read this instruction manual carefully for the proper use and maintenance of this product. We encourage you to store this manual in a safe, secure place for future reference.
INTRODUCTION
The T-20M Infrared Thermometer is designed to take the body temperature measurements of adults and children through the ear and forehead.
Please note: The ear mode is suitable for only persons above 3 months old.
IN-BOX CONTENT
| S/N | ITEM | QUANTITY |
| 1 | Pouch | 1 |
| 2 | Instruction Manual | 1 |
| 3 | Quick-Start Guide | 1 |
| 4 | AAA Battery | 2 |
WARNINGS AND PRECAUTIONS
- Keep the thermometer safely out of reach of children under 12 years.
- The Infrared Thermometer is not waterproof. Do not immerse it in water or any liquid. To clean or disinfect the device, please follow the instructions in the section “CARE AND CLEANING.”
- Do NOT use this thermometer for purposes other than those described in this manual. Please take general safety precautions when using this device with children.
- Please keep this thermometer from direct exposure to sunlight and other heat sources.
- This device should be stored in a dust-free, dry,
well-ventilated area within ambient temperatures 10°C-40°C (50°F-104°F). Do not use the device in high humidity environments (>95% RH). - Do NOT use this thermometer if there are damage signs on its components. Do not attempt to repair the device yourself or with unlicensed technicians. Kindly contact Lazle Customer Support Team.
- This thermometer contains high-precision parts and should be carefully handled. Please protect the device from severe impact and shock. Do not attempt to twist or bend the device or its sensor.
- Kindly contact your doctor or a certified medical practitioner if any discomfort, e.g. unexplained irritability, vomiting, diarrhea, dehydration, change in appetite, seizure, muscle pain, shivering, stiff neck, pain during urination, is experienced with the device, even in the absence of fever.
- Please note: Temperature results are non-diagnostic. They cannot be used to ascertain wellness. A person with normal temperature value may need medical attention. Therefore, the severity of illnesses, especially those requiring antibiotics, analgesics, and antipyretics, should not be determined through the measurements alone.
- Elevated results may indicate severe illness(es), especially in aged adults with weak immune systems, newborns, and infants. Please seek immediate medical assistance if high temperatures are observed, especially with individuals:
- Over 60 years (fever may be insignificant or absent in elderly patients).
- Diagnosed with diabetes mellitus or immunocompromised systems (e.g. persons with HIV, cancer, that have undergone chemotherapy, chronic steroid treatments, splenectomy).
- That are bedridden (e.g. nursing home residents, persons with stroke, or other chronic illnesses).
- That have undergone transplants (e.g. liver, heart, lung, kidney transplants)
- This thermometer is not designed for use on preterm or small-for-gestational-age babies. It is not intended for the measurement of hypothermic temperatures.
- Children should not be allowed to measure their temperature without proper supervision.
- This thermometer is NOT a substitute for physician or pediatrician consultations.
- Please clean the thermometer probe with a clean cloth after every use.
- The thermometer should not be used on newborn babies or for continuous temperature monitoring.
- The person to be measured (subject) should NOT take temperature measurements while or immediately after nursing a baby.
- The subject should NOT drink, eat, or engage in extreme physical activities right before or while taking their temperature measurement.
- Unauthorized alteration of this thermometer or its parts is not permitted.
PRODUCT DESCRIPTION
Introduction
The Lazle Infrared(IR) Thermometer measures human body temperature by calculating the infrared energy emitted from the eardrum or forehead. Measurements take seconds if the thermometer probe is correctly inserted in the ear canal or towards the forehead. The human normal body temperature is a range that varies with sample measurement sites, as seen in the table. Since temperature results are site-specific, values from different locations should not be compared directly. During medical appointments, the type of thermometer used, results, and sample measurement site should be disclosed to the attending physician.
| SITE | Normal Temperature Range |
| Forehead | 36.1°C – 37.5°C (97°F -99.5°F) |
| Ear | 35.8°C – 38°C (96.4°F -100.4°F) |
| Mouth | 35.5°C – 37.5°C (95.9°F -99.5°F) |
| Rectum | 36.6°C – 38°C (97.9°F -100.4°F) |
| Underarm | 34.7°C – 37.3°C (94.5°F -99.1°F) |
COMPONENT OUTLINE
The Lazle IR Thermometer consists of a casing, a power/measure button, a temperature sensor, an infrared-measuring element, a microcomputer-controlled circuit, an LCD screen, a backlight, and a buzzer.
OPERATING PRINCIPLE
All organic bodies with temperatures greater than absolute zero (-273k) emit energy in the form of heat. The difference in temperature between the body and its surroundings is determined by the infrared thermometer and displayed as the real body temperature. Thus, the Lazle Infrared Thermometer delivers results by collecting the energy emitted by the body in the form of infrared rays and channeling it into a detector, known as the thermopile. The infrared photons are then converted into heat and, finally, electricity, which is measured and displayed on the LCD screen as the body’s actual temperature.
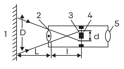
1 – Subject 2 – Object Lens 3 – Heat Plate 4 – Thermopile 5 – Eye Lens Labelings (1)

INDICATIONS FOR USE
The infrared thermometers take human body temperature via the eardrum or forehead. The forehead mode is indic-ated for people of all ages and the eardrum mode is indi-cated for people above three months old. It applies to both professional use and home use.
CONTRAINDICATIONS
The ear mode should not be used in ears infected with otitis or suppuration.
PRODUCT FEATURES
- Age group settings for precision: 0-6 years, 6-12 years, above 12 years
- A magnetic probe cover that automatically switches between ear and forehead modes.
- Supports multiple modes: ear, adult forehead, child forehead modes
- Quick temperature measurements – results in one second.
- Compact size with super large fonts for easy interpretation.
- Dual-measurement sites: through the ear and the forehead.
- Highly accurate: Integrates clinically accurate algorithm with three-step calibration.
- Large memory: Up to 99-sets of easy-to-recall data.
- Easy to mute and unmute.
- Audio and visual fever warnings.
- Easy to switch between °C and °F.
- Automatic power-saving function.
- Backlight color-coded temperature display.
- Patent technology precisely identifies temperature states in children and adults.
PRODUCT OVERVIEW
- Power/Measure Button
- LCD Screen
- Age Group Button
- Mode Button
- 0-6 years
- 6-12 years
- Above 12 years
- Probe Cover (taken off in ear mode)
- Probe
- Battery Cover
- LED light

DISPLAY OUTLINE
- Adult Forehead Mode (above 12 years)
- Child Forehead Mode (0-6 years, 6-12 years)
- Ear Mode
- Direct Mode
- Fahrenheit/Celsius symbol
- Last Temperature Measurement
- Low Battery Indicator
- Mute/Unmute Icon
- Current Temperature Measurement

HOW TO USE THE THERMOMETER
To Avoid Inaccurate Measurements:
- Temperature measurements should only be taken in closed-air spaces (with no strong winds).
- Ensure the person to be measured (subject) is completely stable during temperature measurement.
- If the thermometer is moved to a different space with an ambient temperature different from the last space, it should be allowed to adjust for at least 30 minutes before it is used.
- If the person to be measured comes from a space different from that of the thermometer, they should be given at least 10 minutes to adapt before taking their temperature.
- Avoid holding the thermometer for too long as it is highly heat and temperature-sensitive.
- This thermometer has undergone the necessary clinical tests and is guaranteed safe and accurate when used according to the detailed guidelines.
To Take Forehead Temperature Measurements:
Please install the batteries correctly in the battery slots when using the thermometer for the first time. Single-press the Power/Measure button to turn on the thermometer. Repeatedly tap the Mode button to shuffle between and select “0-6 years, 6-12 years, above 12 years” mode. Direct the probe at the forehead, leaving a gap of 0 -3cm (0 – 1.18 inches). Slightly press the Power/Measure button till the beep(s) is heard. Release the button and check the temperature on the screen.
Note:
Results from the forehead mode are indicative and may fluctuate by up to 1°F (0.5°C) from the actual body temperature. Kindly pay attention to the accuracy-influencing factors detailed in the sections “Temperature Measurement Tips” and “Warnings and Precautions.”
CAUTION
Please ensure the forehead and eyebrow areas are free from dirt, sweat, hair, and grime. Clean these areas properly before every measurement for high accuracy. Always ensure the screen is clean for high visibility. The person to be measured and the thermometer must have been in the same space for at least 30 minutes before the measurement for accuracy.
To Take Ear Temperature
- Single-press the Power/Measure button to turn on the thermometer.
- Take off the probe cover to switch to the “ear mode” and carefully fit the probe into the ear canal.
- Slightly press the Power/Measure button till the beep(s) is heard. Release the button and check the temperature on the screen.

CAUTION
- Please ensure the ear canal is clean and free from ear wax and obstructions, such as earphones and dirt.
- Successive ear temperature measurements should be taken from the same ear, as results from different ears may vary.
Please Note
When inserting the thermometer’s probe, please strictly adhere to the following safety instructions:
- For persons below 1 year: Pull the ear straight backward.
- For persons 1 year and above (including adults): Pull the ear up and backward.
- Do not attempt to force the thermometer or the probe into the ear canal to avoid injury.
- When using the ear mode on adults, the ear canal should be well-aligned with the probe for proper scanning.
- Extra precautions should be observed when taking ear temperature measurements on children due to their small ear canals.
After Measurement
Once the measurement is complete, withdraw the thermometer from the forehead or ear canal and interpret (read) the values displayed on the screen.
Previous temperature values can be checked on the memory log by pressing the mode button for 5 seconds.
NOTE:
- After each measurement, the temperature probe should be properly cleaned with a soft, clean cloth before storing the thermometer in a dry, well-ventilated area.
- Keep all temperature measurements at least 10 seconds apart.
- This thermometer is NOT a substitute for physician or pediatrician consultations. Do not self-diagnose or
self-medicate based on the thermometer results. All medical concerns should be addressed by a certified medical practitioner. - This device automatically powers after 13 seconds of inactivity.
To Interpret Temperature Measurements
T represents the measured temperature.
In the Forehead or Ear Mode:
- If 32°C ≤ T ≤ 37.5°C (89.6°F ≤ T ≤ 99.5°F), the LCD screen will reflect a GREEN backlight, and a single long beep will be heard, signifying NORMAL temperature.
- If 37.6°C ≤ T ≤ 38°C (99.7°F ≤ T ≤ 100.4°F), the ORANGE backlight will come on, and three short beeps will be heard, a warning you may have a LOW FEVER.
- If 38.1°C ≤ T ≤ 42.9°C (100.6°F ≤ T ≤ 109.2°F), the RED backlight will come on, and three short beeps will be heard, a warning you may have a HIGH FEVER.
In the Direct Mode:
If 0°C ≤ T ≤ 100°C (32°F ≤ T ≤ 199.0°F), the WHITE backlight will come on, and a single long beep will be heard.
SPECIAL FUNCTIONS Voice-Over Function
The Lazle Infrared Thermometer features a voice-over function that broadcasts the temperature result after each session. The table below is the programmed content of the function:
| The Voice-Over function is active by default. To turn it off, press the power/measure button for 5 seconds. | |||
| Voice Broadcast | Remark | ||
| Temperature Range | 32°C – 37.5°C | Your temperature is xxx°C (°F) | |
| 37.6°C – 38°C | |||
| 38.1°C – 42.9°C | |||
| Temperature Range | T < 32.0°C | Temperature is too low | Ear & Forehead Mode |
| T > 42.9°C | Temperature is too high | ||
| T < 0°C | Temperature is too low | Direct Mode | |
| T > 100°C | Temperature is too high | ||
| AT < 0°C | Low ambient temperature | ER1 | |
| AT > 40°C | High ambient temperature | ||
99 sets of Memory Read-Back
With the thermometer powered on, press the MODE button for 5 seconds to view the memory log. Continually tap the MODE button to scroll through the logged data. If there are no recorded measurements, the LCD screen will display “—”
Celsius-Fahrenheit Conversion
With the thermometer powered on, press the AGE GROUP button for 3 seconds to switch between Celsius and Fahrenheit, as desired.
Automatic Power-Off
The device will automatically power down after 13 seconds of inactivity.
WARNING!
All recorded measurements will be cleared if the battery is uninstalled or reinstalled.
Replacing the Thermometer Battery
Correctly install the 2 AAA batteries in their right polarities into the battery compartment.
NOTE: Uninstall the batteries if the thermometer will be inactive for more than 2 months.
TEMPERATURE MEASUREMENT TIPS
- Knowing the normal (healthy) temperature of the measured body is the only way to accurately detect a fever. Measurements should be taken and recorded twice daily (early morning and late afternoon), and the daily average calculated to obtain the normal equivalent temperature. All temperature evaluations within a set should be taken in the same room/space, as temperature values may vary per location, even when taken from the same body area.
- A child’s normal body temperature can be as high as 99.9°F (37.7°C ) and as low as 97°F (36.1°C). This thermometer reads 0.5°C (0.9°F ) lower than a digital rectal thermometer.
- Several external factors may influence ear temperature measurements, including but not limited to when the subject has:
- Been lying on that ear.
- Had their ears covered for a while.
- Been exposed to very hot or very cold temperatures.
- Recently been swimming or bathing.
In these instances, the subject should be taken from that situation (if applicable) and allowed to re-adjust for at least 20 minutes before taking their temperature measurement.
For persons using ear medications, the measurement should be taken from the ear without the medications.
- Holding the thermometer with the hands for too long before a measurement might warm it up and limit accuracy.
- The subject and the thermometer should have been in the same steady room condition for at least 30 minutes before the measurement for accuracy.
- Before using the forehead mode, the forehead and brow areas should be clean and free of dirt, sweat, hair, and FIlth. A 10-minute interval should be kept between cleaning and the measurement since warm or cool clothes can alter the actual temperature value.
- The probe should be disinfected only with an alcohol swab, and the measurement should be taken no earlier than 5 minutes after cleaning.
- In the following instances, at least 3-5 measurements should be taken from the same site, and the highest value recorded as the actual resultresult. Measurements taken:
- On babies below 100 days old.
- On children under the age of three with immunocompromised systems in whom the presence or absence of fever may be critical.
- By an inexperienced individual who has consistently gotten inconsistent values.
CARE AND CLEANING
- The thermometer casing and probe should be cleaned with an alcohol swab or a cotton swab moistened with 70% alcohol. Do not use the device until the alcohol is completely dried.
- The Lazle Infrared Thermometer is not waterproof and should be protected against all contact with liquids.
- Never use benzene, thinner, or abrasive agents to clean the thermometer.
- Handle this thermometer with care. Protect the LCD screen from abrasion.
ERROR AND TROUBLESHOOTING


TECHNICAL SPECIFICATIONS
| Product Name | Forehead & Ear Infrared Thermometer | |
| Applicable Laws and Regulations | ASTM E1965-98 (Re-approved 2016) Standard Specification for Infrared Thermometers for Intermittent Determination of Patient Temperature | |
| IISO 80601-2-56: 2017, AMD1: 2018 for use in conjunction with 60601-1:2005, COR1:2006, COR2:200, AMD1:2012 | ||
| Display | Segment LCD, 4-color LED backlight (white, green, orange, red) | |
| Temperature Units | °C/°F, interchangeable | |
| Battery | x2 AAA, DC 3V | |
| Measurement Range | Ear & Forehead Mode: 32°C – 42.9°C (89.60°F – 109.2°F) | |
| Direct Mode: 0°C – 100°C (32°F – 199°F) | ||
| Tested Accuracy | Ear & Forehead Mode | ±0.2°C/±0.4°F |
| Direct Mode | ±1.0°C/±2.0°F | |
| Display Resolution | 0.1°C/0.2°F |
| Automatic Power-Off | 13 ±1 seconds |
| Memory Recall | Up to 99 temperature measurements |
| Operating Conditions | Ambient Temperature: +10 to +40°C (+50 to +104°F) |
| Relative Humidity (non-condensing): 15 – 95% RH | |
| Atmospheric Pressure: 70kPa to 106kPa | |
| Storage Conditions | Ambient Temperature: – 20 to +55°C (-4 to +131°F) |
| Relative Humidity (non-condensing): 0 – 95% RH | |
| Atmospheric Pressure: 50kPa to 106kPa | |
| Battery Run-Time | Can be used over 3000 times |
| Weight & Dimensions | 98 g (with battery), 162 x 43 x 35mm |
| Service Life | 5 years |
SYMBOLS

APPENDIX: EMC INFORMATION-GUIDANCE AND MANUFACTURER’S DECLARATION
The EMC of the Infrared Thermometer requires special considerations. The device should be placed and used according to the EMC rules specified in the accompanying instructions. Please note: Portable and mobile RF-communication equipment may alter the operations of the infrared thermometer. This device should not be placed close to or stacked with such equipment.
| GUIDANCE AND MANUFACTURER’S DECLARATION ON ELECTROMAGNETIC EMISSION | ||
| The Infrared Thermometer can be used in the listed electromagnetic environments. The owner or person to be measured is assured of its safety when used in the stipulated environments. | ||
| Emissions | Compli- ance | Electromagnetic environment – guidance |
| Test RF Emissions CISPR 11 | Group 1 | The Infrared Thermometer uses RF energy only for its internal function. Therefore, its RF emissions are very low and are not likely to cause any interference in nearby electronic equipment. |
| RF Emissions CISPR 11 | Class B | The Infrared Thermometer is suitable for use in all establishments, including domestic types and those directly connected to public low-voltage power supply networks for buildings involved in domestic functions. |
Guidance and Manufacturer’s Declaration On Electromagnetic Immunity For All EQUIPMENT and SYSTEMS
| The Infrared Thermometer can be used in the following electromagnetic environments. The owner or person to be measured is assured of its safety when used in the stipulated environments. | |||
| Immunity Test | IEC 60601 test level | Compliance level | Electromagnetic Environment guidance |
| Electrostatic discharge (ESD)IEC 61000-4-2 | ±8 kV contact ±15 kV air | ±8 kV contact ±15 kV air | Floors should be wooden, concrete, or made of ceramic tile. If floors are covered with synthetic material, the relative humidity should be at least 30 %. |
| Power frequency (50/60Hz) magnetic field IEC 61000-4-8 | 30 A/m | 30 A/m | The power frequency of magnetic fields should be at similar levels as in a typical commercial or hospital environment. |

NOTE:
- At ranges between 80 MHz and 800 MHz, the higher frequency applies.
- These guidelines may not apply in all situations. Electromagnetic strength is influenced by the absorption and reflection of signals from structures, objects, and people.
Field strengths from fixed transmitters, such as base stations for radio (cellular/cordless) telephones and land mobile radios, amateur radio, AM and FM radio broadcast stations, and TV broadcast stations cannot be accurately obtained through theoretical calculations alone.An electromagnetic site survey should be considered to assess the electromagnetic environment of fixed RF transmitters. If the measured field strength in the Infrared Thermometer location exceeds the recommended RF compliance level above, the Infrared Thermometer should be re-evaluated to confirm it is properly functioning. If abnormal operations are observed, corrective measures may be necessary, such as re-orienting or relocating the Infrared Thermometer.
Recommended Separation Distances Between Portable and Mobile RF Communications Equipment, and EQUIPMENT or SYSTEMS for EQUIPMENT and SYSTEMS that are not LIFE-SUPPORTING
WARRANTY AND AFTER-SALE SERVICE
The Lazle Infrared Thermometer is covered by a 12-month warranty from the initial date of purchase. Batteries, packaging, and user-caused faults are not covered by the warranty including but not limited to
- Damages from unauthorized disassembly and modification of the device.
- Damages from careless handling of the device during operation or transportation.
- Damages from not following the instructions detailed in the instruction manual.
For inquiries or concerns about our products or your order, please contact our 24/7 support at [email protected], or call us at +1 (800)-460-2215 Monday to Friday (8 am-6 pm PTC).
Accuracy Obtrains Joy and Health






















