ThermoPro Digital Laser Infrared Thermometer Instruction Manual
Introduction
Thank you for purchasing the ThermoPro TP30 Infrared Thermometer. This easy- to-use device lets you conveniently and accurately measure surface temperatures from a distance without the need of any direct contact.
Features & Specifications
- Laser guided targeting for better aiming precision
- Narrow distance-spot ratio for accurate results at long distances
- Safely measure hazardous or inaccessible objects
- Battery: 2*AAA batteries, 0V
- Measurement Range: -58°F-1 022°F (-50°C 550°C)
- Accuracy: *1.5&
- Resolution: 1°F or 0.1°C
- Wavelength: 5um-14um
- Distance-Spot Ratio: 12: 1
- Response Time: 500ms
- Emissivity: 10-1.00 (Default 0.95)
- Backlight: Auto-off after 15 seconds
- Auto-off: Auto-off after 90 seconds of inactivity
- Low battery Indicator
Function Diagram
- SCAN: When pressing the measurement trigger, SCAN will appear on the
- HOLD: When the measurement trigger. is released, HOLD will appear on the display
- 1 Laser Pointer indication: When pressing the measurement trigger, a laser beam will appear to help guide you unless the laser is turned off.
- Cui Low battery indication: Will appear on the display when battery power is low
- UPPER DISPLAY: Displays the latest Temperature measurement.
- EMISS: Press and hold the MODE button for 3 seconds, EMISS will appear, and you can adjust the emissivity setting
- LOWER DISPLAY: Displays MAX/MIN/ AVG temperature; When adjusting the Emissivity setting, the current emissivity setting will be displayed
- MAX/MIN: Maximum and minimum temperature for the latest measurement
- AVG: Average temperature for the latest measurement
- Press once to turn on/off Laser Pointer; Press and hold for 3 seconds, to switch between °C and °F; When adjusting the emissivity, press to lower the emissivity
Press to cycle through and display MAX/MIN/AVG temperature; Press and hold for 3 seconds, to adjust the emissivity setting- Press to turn on/off the backlight; When adjusting the emissivity, press to increase the emissivity

- Laser Hole
- IR Sensor
- Measurement Trigger: Hold and release to take temperature
- Battery Compartment

Operation
Surface Temperature Measurement NOTE: The ThermoPro TP30 cannot measure the temperature of objects Behind glass. Inaccuracy may also Occur when exposed to steam, dust or any other contaminants in the air.
- Place the included AAA batteries into the Battery Compartment, then press the Measurement Trigger lo activate the thermometer


- Point the TP30 thermometer towards the surface you wish to
- Press and hold the Measurement Trigger and the laser will activate for aiming (Laser will only appear if enabled. Laser is turned on by default.)
- Keep holding the Measurement Trigger as you move the TP30 if you wish to continually take a measurement of the surface
- Once the laser is pointed to the desired point of measurement, release the Measurement Trigger and the Upper Display will show the last measured temperature
- Press the Measurement Trigger once again to make another measurement
- HOLD for continuous temperature

- RELEASE to lock the temperature result

Emissivity
The emissivity of a material is its efficiency in emitting thermal energy. Non-reflective surfaces have a higher emissivity (closer to 1) than reflective surfaces (closer to 0). Inaccurate results may occur when measuring reflective surfaces such as glass, polished wood, and granite. To take accurate temperature measurement of reflective surfaces with low emissivity, place a strip of masking tape over the surface and allow for it to adjust to the temperature of the surface for approximately 30 minutes. Measure the surface, scanning the taped section, eliminating the issue of inaccuracy.
The default emissivity of this device is 0.95, which is suitable for surface temperature measurement of most organic materials and painted objects. If you would like to improve the measurement accuracy of different objects, you can refer to the emissivity table below :
| Objects | Emissivity | Objects | Emissivity |
| Aluminum | 0.30 | Iron | 0.70 |
| Asbestos | o.9s | Lead | o.5o |
| Asphalt | 0.95 | Limestone | 0.98 |
| Basalt | 0.70 | Oil | 0.94 |
| Bt888 | 0.50 | Paint | 0.93 |
| Brick | 0.90 | Paper | 0.95 |
| carbon | o.8s | Plastic | o.95 |
| Ceramics | o 9s | Rubber | 0.95 |
| Concrete | o.9 s | Sand | 0.90 |
| Copper | 0.95 | Skin | 0.98 |
| Sludge | 0.94 | Snow | 0.90 |
| Frozen food | 0 9 0 | Steel | 0.80 |
| Hot food | 0 93 | Fabric | 0.94 |
| Glass | 0.85 | Water | 0.93 |
| Ice | 0 98 | wood | 0.94 |
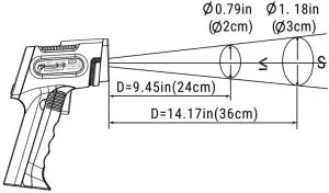
Distance-Spot Ratio
The ThermoPro TP30 measures surface temperature base dontheis{anceto spot diameter ratio (D: S). As the distance between the thermometer and the surface increases, the total surface area measured will also increase. With a distance to spot ratio of 12:J, the surface area measured has a diameter of roughly 1/J 2 the distance.
For the most accurate results, make sure the target has a surface area of twice the corresponding spot diameter. Insufficient surface area will result in inaccurate results. The recommended distance to hold the thermometer from the surface of measurement is 7.87inch (20cm) away from the surface. This creates a spot measurement area of 0.6óinch(J.67cm) in diameter.
Distance (D) to Spot (S) size D:S=12:1
Replacing Batteries
Low Battery Indication will appear on the Upper Display when the thermometer’s batteries are running low. Immediately replace the batteries when the icon appears.
- Open the Battery Compartment and remove the used batteries. Dispose of the used batteries
- Insert two new AAA batteries with the correct
- Close the Battery Compartment

The device certification information is labeled directly on the device. The sticker is located on the left side of the thermometer The device warning and aperture safety information are also labeled directly on the device; this sticker is located on the right side of the thermometer.
Package Contents
- 1x ThermoPro TP30 Infrared Thermometer
- 2x AAA batteries
- 1x User Manual
Safe Use & Care
- D0 NOT point the laser beam at another person or
- D0 NOT attempt to point laser beam at an
- Avoid direct/indirect eye contact with the laser-beam. Laser radiation may cause eye
- D0 N0T view the beam with optical
- If using near bystanders, make them aware of the dangers of looking directly into the laser beam
- DO NOT allow children to operate the device
- Use two 1.SV AAA batteries when replacing the batteries within the device
- Make sure to inset the batteries in Accordance with the correct polarities
- ALWAYS remove the battery when cleaning the device
- DO NOT use leaking battery of dispose of old batteries in fire
- Remove the batteries if storing the device for a prolonged period of time.
- DO NOT disassemble the device or tamper with internal components. Doing so will void any warranty
- D0 NOT touch the lens or wipe it using anything other than a soft cloth or cotton swab
- Keep the thermometer away from electromagnetic fields produced by objects such as arc welders and induction heaters
- DO NOT expose the thermometer to direct sources of heat for extended period of time
- The thermometer measures surface temperature, not internal temperature Do not use it as a reliable source to measure body temperatures
Disposal
Meaning of the “Dustbin“ symbol
- Protect our environment: do not dispose of electrical equipment in the domestic waste
- Please return any electrical equipment that you will no longer use to the collection points provided for their disposal
- This helps avoid the potential effect of incorrect disposal on the environment and human health.
- This will contribute to the recycling and other forms of reutilization of electrical and electronic equipment
- Information concerning where the equipment can be disposed of can be obtained from your local authority
CAUTION : Batteries/rechargeable batteries must not be disposed of with household waste! - The batteries must be removed from the appliance.
- Take spent batteries to the appropriate
- Your town or local authority can provide information about public collection points
This symbol can be found on batteries/ rechargeable batteries which contain hazardous :

- Pb = contains lead
- Cd = contains cadmium
- Hg = contains mercury
- Li = contains lithium
Limited one-year warranty
ThermoPro warrants this product to be free of defects in parts, materials and workmanship for a period of one year, from date of purchase. Should any repairs or servicing under this warranty be required contact Customer Service by phone or email for instructions on how to pack and ship the product to ThermoPro.
This warranty gives you specific legal rights and you may also have other rights which Vary from state to state
Customer service
Telephone: 1-877-515-7797(USA & Canada only) 44-203-769-1321 (UK)
Email: [email protected]
Hours: Weekdays 8:00 AM- 8:00 PM EST (USA & Canada only) Weekdays 1:00 PM – J2:00 PM CET(UK)


























