TM503XX TV Wall Mount Bracket Full-Motion 37 to 75 Inch

Original Instructions
A

B

C

D

E

F

G

H

I

J

K

1. SAFETY INSTRUCTIONS
Read the enclosed safety warnings, the additional safety warnings and the instructions. Failure to follow the safety warnings and the instructions may result in electric shock, fire and/or serious injury. Save the safety warnings and the instructions for future reference.
Read the user manual.
Denotes risk of personal injury, loss of life or damage to the tool in case of non-observance of the instructions in this manual.
Not intended for use by children.
SAFETY WARNINGS
Please read these instructions carefully and thoroughly before using this product and keep them for future reference. It is important that you understand how to use this product correctly, so please take the time to familiarize yourself with the requirements as outlined in these instructions.
- If you are in any doubt about using this product, it is strongly recommended to employ the services of a suitably qualified expert.
- Please consult the manual for your TV and ensure that the weight and size of the TV is within the limits specified for this product
- Note that not all of the supplied mounting accessories provided may be required for the installation of your specific TV.
- The mounting accessories provided are exclusively intended for installation onto strong supporting structures such as solid brick, solid concrete or solid wood columns.
2. PRODUCT INFORMATION
| Model no. | TM503XX |
| Dimensions | 480 x 430mm |
| Wall clearance | 60 – 473mm |
| Weight | 3,5kg |
| Max. supported screen weight | 50kg |
| Supported screen diagonal | 32” – 75” |
| Supported VESA patterns | 400 x 400 400 x 200 300 x 300 200 x 200 100 x 200 |
DESCRIPTION
- Wall mount
- TV support arm
- Allen key
- Wall plate cover piece (top/bottom)
- Wall plate cover piece (center)
- Spirit level
- Hardware kit
3. INSTALLATION
Before installation
Ensure that your TV is compatible with this wall mount before proceeding the installation.
Ensure that the supporting wall is capable of sustaining the combined weight of this wall mount and the TV.
Attach Wall Plate to Wall
Choose option A or B depending on your wall construction.
Option A: Installing in drywall with timber supports (Figure D) 1. Locate the center a timber stud using a stud
finder.
You must use the center of the stud to avoid cracking or splitting the timber during installation.
WWW.VONROC.COM
2. Mark a minimum of three mounting holes using the wall mount (1) as a guide. Use the provided spirit level (6) to ensure the wall mount (1) is level.
Do not place the TV face down onto a table smaller than the TV itself, as doing so may crack or damage the TV screen.
3. Pre-drill the holes to a minimum depth of 55mm using a 4.5mm drill bit. If installing in hardwood, a slightly larger diameter and deeper hole may be required.
4. Place the washers (W-C) onto the lag bolts (WA). Attach the wall mount (1) to the wall using the lag bolts (W-A).
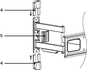
5. To install the wall plate cover pieces (4/5), first slide the top and bottom pieces (4) into place (see figure F), then attach the center piece (5).
2. Sort through the provided bolts (M-A through M-E) until you find the correct size that fits into the mounting holes on the back of your TV. Test if the bolts can be tightened by hand for at least three full turns. Do not yet fully tighten the bolts.
If you feel resistance while turning the bolt you must stop immediately and select a shorter bolt. Forcing in an oversized bolt may cause damage to your TV (see figure H)
Option B: Installing in masonry (Figure E, F) Ensure there is a minimum of 35mm of actual concrete/brick thickness in the location of each hole.
Drill into solid concrete/bricks only. Do not drill into mortar joints.
1. Mark a minimum of three mounting holes using the wall mount (1) as a guide. Use the provided spirit level (6) to ensure the wall mount (1) is level.
2. Drill the holes to a minimum depth of 60mm using a 10mm masonry drill bit. Clean out the holes after drilling.
3. Fully insert a concrete anchor (W-B) into each hole. Tap the anchor in using a hammer if required.
4. Place the washers (W-C) onto the lag bolts (WA). Attach the wall plate (1) to the wall using the lag bolts (W-A).
5. To install the wall plate cover pieces (4/5), first slide the top and bottom pieces (4) into place (see figure F), then attach the center piece (5).
Attach Mounting Arms to TV (Figure G)
1. Using a second person for assistance, lay your
TV face down on something soft so as not to scratch the TV screen. Check the back of your TV to find the appropriate mounting pattern.
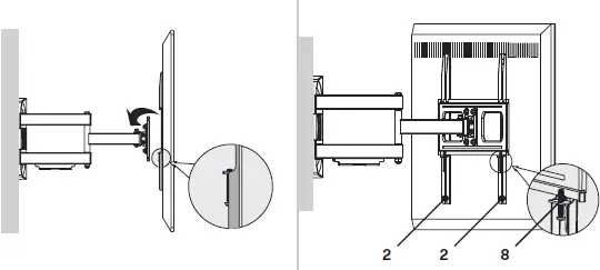
2. Slowly lower the bottom of the TV until the bottom of the mounting arm (2) locks into the bottom of the wall plate (1).
3. Once the TV is in place, secure it by tightening the bolts (8) at the bottom of the mounting arms (2)
3. Remove the bolts from the TV once you have selected the correct bolt size.
Refer to your local hardware supplier for the correct bolts and washers if none of the supplied bolts will fit your TV.
4. Gently place the mounting arms (2) on the back of the TV. If the back of your TV is curved or recessed you may also need to use one or more of the supplied spacers (M-G or M-H). When using a spacer you may also need to use a longer bolt. Keep in mind that the bolt must always be able to turn at least three full turns (see figure H).
5. Place the multi-washers (M-F) onto the previously selected bolts. Attach the mounting arms (2) to the TV using the bolts. Do not over tighten the bolts, as doing so may cause damage to your TV.
Attach TV to wall (Figure I) 1. Using a second person for assistance, carefully
lift the TV and hook the arms (2) over the top of the wall mount (1).
Tilt adjustment (Figure J)
1. Extend the wall mount fully outwards to provide
easier access to the tilting mechanism.
2. Slightly loosen the bolts (9) of the tilting mechanism by using the provided allen key (3), so you may adjust the tilt angle of the TV to the desired angle.
3. Once the TV is in the correct position, secure it in place by re-tightening the bolts.
Level adjustment (Figure K)
In some instances a slight adjustment might be required to level the TV.
1. Extend the wall mount fully outwards to provide easier access to the mechanism.
2. Ask a second person to support the TV and carefully loosen the tension on the four bolts (10) behind the mounting plate.
Once the tension on each bolt is slightly loosened the TV may be leveled. Completely removing the bolts (10) from the mounting plate is not suggested as this is not required to perform the level adjustment.
3. Adjust the TV to the correct position and secure it in place be re-tightening the bolts (10).
WARRANTY
VONROC products are developed to the highest quality standards and are guaranteed free of defects in both materials and workmanship for the period lawfully stipulated starting from the date of original purchase. Should the product develop any failure during this period due to defective material and/or workmanship then contact VONROC directly.
The following circumstances are excluded from this guarantee:
- Repairs and or alterations have been made or attempted to the machine by unauthorized service centers;
- Normal wear and tear;
- The tool has been abused, misused or improperly maintained;
- Non-original spare parts have been used.
This constitutes the sole warranty made by company either expressed or implied. There are no other warranties expressed or implied which extend beyond the face hereof, herein, including the implied warranties of merchantability and fitness for a particular purpose. In no event shall VONROC be liable for any incidental or consequential damages. The dealers remedies shall be limited to repair or replacement of nonconforming units or parts.
The product and the user manual are subject to change. Specifications can be changed without further notice.
WWW.VONROC.COM


















