
WI-FI ENABLED PIVOTING UNDER CABINET LIGHT
PPCCT-L24W-WIFI INSTRUCTIONS
![]()
Thank you for your purchase of this adjustable white WiFi-enabled pivoting under cabinet light. Whether you want a bright white task light or the ambiance of a subtle warm white glow, this light has you covered with infinitely-adjustable brightness and 3000K, 4000K & 5000K modes accessible directly from the light. Or, pair to WiFi and enjoy any color temperature from 3000K to 5000K. With the Westek app, you can even set your lights so you wake up to a soft glow and slowly ramp up to a full-bright daylight lamp. Or better yet, let Alexa or the Google Assistant adjust them for you – the choice is yours!
Getting Started
- Read these instructions in their entirety before installing or using this product.
- Do not mount this light over a sink or a stove, in small enclosed spaces, or in wet locations.
- For use with 120V, 60Hz electrical power only.
- Do not use on a dimmer-controlled outlet or when connected to a dimmer.
This light features on-unit dimming and is not compatible with external dimmers. - This light is linkable with other Westek PPCCT models. Never link more than 240 Watts of PPCCT lights total. NOTE: WiFi will only work with PPCCT-WIFI models.
This light fixture can be installed via direct wire or with the included 5′ Power Cord. When using the power cord, this light must be plugged into a grounded outlet – do not use an adapter, extension cord, or alter the plug in any way.
WARNING
This light may present a possible shock or fire hazard if not properly installed. Products should be installed in accordance with these instructions, current local electrical codes, and/or the National Electric Code. Always follow all grounding directions.
Choose Your Installation Method
Determine your installation location and method for connecting 120V power to the fixture. Lights connected to the house wiring with the use of a plug and power cord and are generally simpler to install. Direct wire units are designed to be permanently mounted and are directly connected to the house wiring through junction boxes, and offer some benefits such as the ability to connect to switches, but are often more complex to install. Because local codes vary, we cannot offer exact guidance on how to direct wire this light to meet your local building codes. If you are not sure how to install this light properly, consult a local licensed electrician or electrical contractor before proceeding.
Mounting the Light
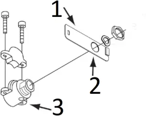
Place the light against desired mounting surface and use a pencil to mark the spot where the screws will be located, as shown in Figure 1. For best lighting aesthetics, we recommend mounting your light towards the front edge of your cabinet with the pivoting head positioned towards the rear of your cabinet; this position usually gives the best adjustability of the light, however you may mount it in any desired position based on your preferred aesthetics. If installing to wood cabinets, use the included screws and drill 1/16″ pilot holes. Caution: Check your cabinet thickness first and use a drill depth stop to avoid drilling through your cabinet. Secure the light to your cabinet using a #2 Philips screwdriver and the included screws. If mounting to drywall, use wall anchors rated for the application and weight (not included).
- Locate Holes
Installing the Light
Plug In Installation
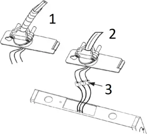
Connect the 5′ power cord to the power input of the light. The power input on the light is on the side of the light closest to the power buttons. If installing more than one compatible light, these lights may be linked together using the included linking cable. The linking cable connects to the power output port of the first light, located on the end further from the power buttons, and connects to the power input of the second light. WARNING: Do not conceal power supply cords inside a wall, ceiling, soffit, cabinet, or other enclosed structure. Do not run power cords through holes in walls, ceilings or floors. Use only UL-Listed cable staples to secure the wire to the bottom of the cabinet or wall for a clean-looking installation.
Direct Wire Installation
WARNING: Before installing this light, make sure to de-energize the electrical circuit, and do not reenergize it until you have completed the installation.
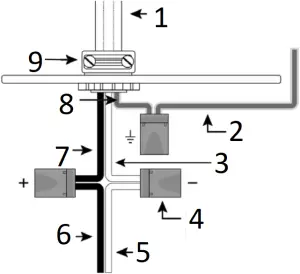
Install the light in accordance with all applicable building codes and regulations. If you have any questions on proper installation or regulations, consult a licensed electrician. To install, remove the desired knockout on the back or rear access panel of the light and install the included strain relief connector as shown in Figure 2 and wire the light as shown in Figures 3 & 4. Do not leave any open holes on the housing – if you remove more than one knockout, plug the un-used knockouts. This light should be wired with 14 AWG or 12AWG armored or non-metallic cable as required by your local electrical codes and/or the National Electric Code. This light should not be connected to an external dimmer switch – dimming is controlled on-unit or via WiFi.

- Rear Access Panel
- Knockout
- Cable Connector

- AC Supply Wires
- Ground/Yellow Fixture Wire
- Neutral (White) Supply Wire
- Wire Nuts
- Neutral (White) Fixture Wire
- Hot (Black) Fixture Wire
- Hot (Black) Supply Wire
- Ground (Green or Copper) Supply Wire
- Armoured or Non-Metallic Cable Connector

- Armoured Cable (BX)
- Non-Metalliuc Cable (NM)
- Wire Nuts
Operating the Light
Power on the light by pressing the power button. The light will start in its last-used state. When brand-new, the light may flash to indicate WiFi pairing mode is active. If you wish to pair to WiFi, follow the instructions in the WIFI OPERATION section. Otherwise, pressing any button on the light will enter into normal operating mode.
- To dim the light, press and hold the POWER button. The light will pause at its maximum and minimum brightness settings.
- To adjust the color temperature of the light, press the WHITE ADJUST button. The light will scroll through 3000K > 4000K > 5000K.
- When finished operating your light, tap the power button to power it off.
WiFi Pairing
At first power-on, your light may flash to indicate it has entered pairing mode. If your light is not flashing and you want to enable pairing mode, press and hold the WHITE ADJUST button until your light begins to flash rapidly (about 4 seconds). After 3 minutes, the device may time out if WiFi pairing is not completed within this time. To restart the process, press and hold WHITE ADJUST another three seconds until the light enters pairing mode again.
Download the WESTEK app from Google Play or the App Store. After registering and creating your account, Click “Add Device”.
Ensure you have WiFi and Bluetooth enabled. Bluetooth is used to pair to the device to transfer your WiFi information, greatly simplifying the new device setup process. Ensure you are connected to the same WiFi network as your device. When ready, click “Auto Scan” to start scanning for your new device. Select the Under Cabinet Light from the list (it may appear as PPCCT-WIFI).




WiFi Operation
In the Westek app, you’ll see direct access to a power button in the product list page. You may click the power button to enable/disable the product directly, or click the product name to open its full menu.
Main Page

- Power
- Main Page
- Scenes
- Schedule
- Sleep Timer
On the main page, there is a slider to adjust brightness from 1% to 100%, as well as an adjustable white color wheel to set color temperature to any value between 3000K and 5000K. Simply use your finger to slide the brightness and color temperature to your desired values.
Scenes

On the Scenes page, you can select from pre-determined scenes, or create your own scenes for quick access to your desired brightness and color temperature.
Scenes can be used in your schedules as well, making them great for automations.
Sleep Timer

On the sleep timer page, you can set your lights to remain on for a fixed amount of time, then power off. The power will remain off when set by sleep timer until the next schedule event turns it back on, or until you turn it on manually.
Schedule (Setup) Schedule (List)


On the schedule page, you can program specific on/off times for your lights. You can set a tag (your personal identifier for that operation), decide if you want to receive a push notification from the app when the schedule is enabled, and you can choose your preset action (turn on, turn off, turn on and dim, or set scene).Note, the schedule page runs off of the 24Hour time format (00:00 to 23:59).
FCC Warning
This device complies with Part 15 of the FCC Rules. Operation is subject to the following two conditions:
(1) This device may not cause harmful interference, and (2) this device must accept any interference received, including interference that may cause undesired operation.
NOTE 1: This equipment has been tested and found to comply with the limits for a Class B digital device, pursuant to part 15 of the FCC Rules. These limits are designed to provide reasonable protection against harmful interference in a residential installation. This equipment generates uses and can radiate radio frequency energy and, if not installed and used in accordance with the instructions, may cause harmful interference to radio communications. However, there is no guarantee that interference will not occur in a particular installation. If this equipment does cause harmful interference to radio or television reception, which can be determined by turning the equipment off and on, the user is encouraged to try to correct the interference by one or more of the following measures:
– Reorient or relocate the receiving antenna.
– Increase the separation between the equipment and receiver.
– Connect the equipment into an outlet on a circuit different from that to which the receiver is connected.
– Consult the dealer or an experienced radio/TV technician for help.
NOTE 2: Any changes or modifications to this unit not expressly approved by the party responsible for compliance could void the user’s authority to operate the equipment.
RF exposure statement
This equipment complies with the FCC RF radiation exposure limits set forth for an uncontrolled environment. This equipment should be installed and operated with a minimum distance of 20cm between the radiator and any part of your body.
Specifications
| Product SKU | Size | Weight | Color Temperature* | Lumens | CRI | Wattage | Linking | Mounting Screw Spacing |
| PPCCT-L24W-WIFI | 24″L x 3.00″W x 0.96″H | 1.2 lb | 3000K, 4000K, 5000K
*3000K-5000K with app | 1350lm | 80 | 18W | Up to 240W | 23 1/16″ |
Warning: Do not disassemble or modify this light. Modification voids the manufacturer’s warranty and any applicable regulatory certifications this light may possess.
Limited Warranty
Under normal use and conditions, AmerTac provides to the original purchaser of this product a one year limited express warranty that is set forth in the Limited Warranty stated in full at www.amertac.com/warranties. The Limited Warranty is in lieu of all other express or implied warranties or liabilities subject to the exceptions explained fully in the Limited Warranty on the website.
©2021 AmerTac™
250 Boulder Drive
Breinigsville, PA 18031
amertac.com
Made in China
UC_TL_014_1121


















