ROBUS RYA2P530-13 Brushed Chrome Triangular Surface Mounted Mains Voltage LED Cabinet Light Instructions
PLEASE READ INSTRUCTION BEFORE COMMENCING INSTALLATION AND RETAIN FOR FUTURE REFERENCES.
Electrical products can cause death or injury, or damage to property. If in any doubt about the installation or use of this product, consult a competent electrician
Note: Product technical information and specification may change over time without prior notification. For the latest technical information please visit our web site www.robus.com or robusdirect.com
- -20°C < Ta < +40°C, 220-240V ~ 50/60Hz, Class I, IP20
- Luminaire is non-dimmable
- Suitable for mounting on normally flammable surface
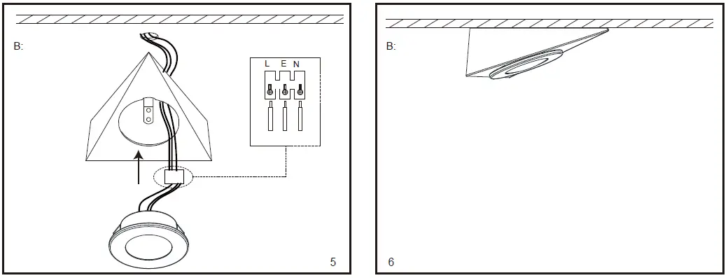
Installation
- Ensure mains supply is switched off before commencing work.
- Remove circular fitting body from triangular surround.
- Choose suitable location for mounting the fitting, mark appropriate fixing points on wall or ceiling; check that fixings will not impinge on concealed cables of pipes before fixing the fitting.
- Fix surround to surface with screws provided.
- Connect cable to supply, Brown to (Live), Blue to (Neutral) and Green/ Yellow to (Earth) in suitable junction box.
- Push fitting body into place in triangular surround.
Note: for recessed installation, make 55 mm cut-out in mounting surface and push in circular fitting body into place, discard triangular surround.



Information for the Product user
- Please note the requirement to dispose of Waste Electrical & Electronic Equipment separately from household waste (WEEE marked with crossed out wheelie bin symbol).
- Please consider your role in contributing to re-use and recycling by returning this product at end of life to a collection centre for waste electrical equipment or a Civic Amenity site, or to a retail outlet from which you are purchasing a replacement.
- This equipment may contain substances that are hazardous to health and the environment if disposed of carelessly. It is important that it is separated from normal household waste and recycled in the WEEE chain
- The “crossed out wheelie bin symbol” on a product indicates this equipment must not be disposed of in normal household waste, but should be disposed of according to local WEEE regulations
The Installation must be carried out by a qualified electrician
Tel: +353 1 7099000
Fax: +353 1 7099060
Email: [email protected]
Website: www.robus.com




















