LCD Monitor NITRO ED0 Series/ED240Q
Acer LCD Quick Start Guide (QSG)
USER GUIDE
Important safety instructions
Please read the following instructions carefully
- Cleaning the LCD monitor screen: First, make sure the power cord you are using meets the standards for your region.
• Turn off the LCD monitor and unplug the power cord.
• Spray a non-soluble cleaning solution onto a cloth and gently wipe the screen.
• Never spill any liquid directly onto or into the screen or its case.
• Do not use any ammonia- or alcohol-based cleaners on the LCD monitor screen or case.
• Acer is not responsible for damage caused by the use of any ammonia or alcohol based cleaners. - Do not place the LCD display near a window. Exposure to rain, moisture, or direct sunlight can cause serious damage to when the device.
- Do not press on the LCD screen. Excessively forceful pressing can cause permanent damage to the display.
- Do not remove the case or attempt to repair the machine by yourself. All maintenance tasks should be performed by an authorized technician.
- Store the LCD display in a room with a temperature between -20°C – 60°C (-4°F – 140°F). Permanent damage may result if the LCD display is stored outside of this range.
- If any of the following situations occur, unplug the monitor immediately and contact an authorized technician:
• The signal cable between the monitor and the computer is worn or damaged.
• Liquid spills onto the LCD display or the display is exposed to rain.
• The LCD monitor or case is damaged.
Attaching the monitor base
- Unpack the monitor base and place the base on a smooth work surface.
- Unpack the monitor.
- Attach the monitor stand arm to the base.
• Make sure the base snaps into the monitor stand arm. (Selected models only)
• Turn the white screw with the included tool or a suitable coin to secure the base to the stand arm (select models only)
Connect the monitor to your computer
- Turn off your computer and unplug the power cord.
- 2-1 Connect Video Cable
a. Make sure both the monitor and computer are powered-OFF
b. Connect the VGA cable to the computer. (Optional)
2-2 Connect HDMI Cable (Only HDMI-input model) (Optional)
a. Make sure both the monitor and computer are powered-OFF
b. Connect the HDMI cable to the computer.
2-3 Connect DP Cable (Only DP-input model) (Optional)
a. Make sure both the monitor and computer are powered-OFF
b. Connect the DP cable to the computer. - Connect the Audio cable (only Audio input model) (optional)
- Connect the USB Type C Cable (only USB Type C input model) (Optional)
- Insert the monitor power cable into the power port at the back of the monitor.
- Plug the power cords of your computer and your monitor into a nearby electrical outlet.
- Select Power-off USB charge ON/OFF to enable/disable Power-off USB charge function. (Optional)

| ~ | Note: The location and names of the sockets on the monitor may vary according to monitor model, and some sockets may not available for some models. | |
| HDMI (optional) | ||
| VGA IN (optional) | USB (optional) | |
| AUDIO IN (optional) | DP (optional) | |
| AUDIO OUT (optional) | USB Type C (optional) | |
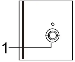
External control

| No. | Item | Description |
| 1 | Menu/Navi/OK button | Power on/Long press to Power off. Enter the main menu, Select/Adjust menu options. |
Regulatory and safety statements
FCC statement
This equipment has been tested and found to comply with the limits for a Class B digital device, pursuant to Part 15 of the FCC Rules.
These limits are designed to provide reasonable protection against harmful interference when the equipment is installed in a residential area. This equipment generates, uses, and can radiate radio frequency energy, and if not installed and used in accordance with instructions, may cause interference to radio communications.
However, there is no guarantee that interference will not occur in a specific installation. If the device does cause interference to radio or television reception (which can be determined by the switchgear), it is recommended that the user take one or more of the following measures to eliminate the interference:
- Readjust the direction or position of the receiver antenna.
- Increase the distance between the device and the receiver.
- Connect the device power to a power outlet that is different from the circuit to which the receiver is connected.
- Contact your retailer or an experienced radio/TV technician for help.
Note
To prevent damage to the monitor, do not lift the monitor using the stand.
Note: Shielded cable
All connections to other computing devices must be through shielded cables to comply with EMC regulations.
Note: Peripherals
Only certified peripherals (input/output devices, terminals, printers, etc.) that meet Class B limits should be connected to the device.
Using uncertified peripherals may cause interference to radio and television reception.
Note
Any changes or modifications not expressly approved by the manufacturer could void the user’s authority to operate this product.
Operating conditions
This device complies with Part 15 of the FCC Rules. Operation is subject to the following two conditions: (1) this device may not cause harmful interference, and (2) this device must be able to accept any interference received, including interference that may cause undesired operation.
Note: Canadian users
This Class B digital device complies with Canadian ICES-003 specifications.
Explanatory note on “Regulations on the Management of Waste Electrical and Electronic
Products Recycling and Disposal”
To better care for and protect our planet, when the user no longer needs this product or the product end of life, please comply with national laws and regulations on the recycling of electrical and electronic product waste, and recycle it through local manufacturers with nationally recognized recycling qualifications.
Abandonment of waste equipment for EU household users
This symbol on the product or on its packaging indicates that the product must not be disposed of with other household waste. When disposing of used devices, it is your responsibility to bring it to a collection point that recycles used electrical and electronic equipment. The separate collection and recycling of used devices at the time of disposal helps to conserve natural resources and ensures that they are recycled in a manner that protects human health and the environment. For more information about recycling points for used devices, please contact your local city office, household waste disposal service, or the shop where you purchased the product.
CE declaration of conformity
Hereby, Acer Inc., declares that this LCD monitor is in compliance with the essential requirements and other relevant provisions of EMC Directive 2014/30/EU, Low Voltage Directive 2014/35/EU, and RoHS Directive 2011/65/EU and Directive 2009/125/EC with regard to establishing a framework for the setting of ecodesign requirements for energy-related product.
Acer monitor is purposed for video and visual display of information obtained from electronic devices.
SPECIFICATION
| LCD Panel | Driving System | TFT Color LCD | |||||||||||||||||||||||||||||||||
| Size | 23.6″W (60 cm) | ||||||||||||||||||||||||||||||||||
| Pixel Pitch | 0.272 mm (H) x 0.272 mm (V) | ||||||||||||||||||||||||||||||||||
| Brightness | 250 cd/m2 (Typical) | ||||||||||||||||||||||||||||||||||
| Contrast | 100000000:1 Max (ACM) | ||||||||||||||||||||||||||||||||||
| Viewable Angle | 178° (H) 178° (V) (CR=10) | ||||||||||||||||||||||||||||||||||
| Response Time | 1ms (VRB) | ||||||||||||||||||||||||||||||||||
| Panel Type | VA | ||||||||||||||||||||||||||||||||||
| H-Frequency | HDMI: 31.469-192.692KHz DP: 31.469-192.692KHz | ||||||||||||||||||||||||||||||||||
| V-Frequency | HDMI: 48-165Hz DP: 48-165Hz | ||||||||||||||||||||||||||||||||||
| Display Colors | 16.7M Colors | ||||||||||||||||||||||||||||||||||
| Dot Clock | HDMI: 393.092MHz DP: 393.092MHz | ||||||||||||||||||||||||||||||||||
| Maximum Resolution | DP: 1920×1080 @165Hz HDMI: 1920×1080 @165Hz | ||||||||||||||||||||||||||||||||||
| Plug & Play | VESA DDCCl/DDC2B | ||||||||||||||||||||||||||||||||||
| Power Consumption | On Mode | 21 W (Typical) | |||||||||||||||||||||||||||||||||
| Sleep mode | 0.5 W (Typical) | ||||||||||||||||||||||||||||||||||
| Off Mode | 0.3 W (Typical) | ||||||||||||||||||||||||||||||||||
| Input Connector | HDMI (Only HDMI-Input Model) (Optional) DP (Only DP-Input Model) (Optional) | ||||||||||||||||||||||||||||||||||
| Input Video Signal | HDMI (Only HDMI-Input Model) (Optional) DP (Only DP-Input Model) (Optional) | ||||||||||||||||||||||||||||||||||
| Speakers | 2 W x 2 (Only Audio-Input Model) (Optional) | ||||||||||||||||||||||||||||||||||
| Maximum Screen Size | Horizontal: 521 mm 293 mm | ||||||||||||||||||||||||||||||||||
| Power Source | INPUT: 100-240 V – 50/60 Hz | ||||||||||||||||||||||||||||||||||
| Environmental Considerations | Operating Temp: 0° to 40°C Storage Temp: -20° to 60°C Operating Humidity: 20% to 80% | ||||||||||||||||||||||||||||||||||
| Dimensions | 539.8 (W) x 414.1 (H) x 203.0 (D) mm | ||||||||||||||||||||||||||||||||||
| Weight (N. W.) | 3.00 kg (net) | ||||||||||||||||||||||||||||||||||
| Mechanism Specifications | Tilt: -5° to +20° Swivel: No Height adjustment: No Pivot: No Detachable foot stand: Yes | ||||||||||||||||||||||||||||||||||
| External Controls | Switch/Buttons | Menu/Navi/OK | |||||||||||||||||||||||||||||||||
| Functions |
| ||||||||||||||||||||||||||||||||||
| Specifications vary depending on model and/or region. | |||||||||||||||||||||||||||||||||||
Find manuals and other documents for your Acer product on the official Acer support website.
Product Information for EU Energy
https://eprel.ec.europa.eu/qr/1157115
Regularory Compliance
![]()
![]()
Declaration of Conformity
We,
Acer Incorporated
8F, 88, Sec. 1, Xintai 5th Rd., Xizhi, New Taipei City 221, Taiwan
And,
Acer Italy s.r.l.
Viale delle Industrie 1/A, 20020 Arese (MI), Italy
Tel: +39-02-939-921, Fax: +39-02 9399-2913 www.acer.it
Product: LCD Monitor
Trade Name: ACER
Model Number: ED240Q
SKU Number: ED240Q xxxxxxxxx
(“x” = 0-9, a – z, A – Z, or blank)
We, Acer Incorporated, hereby declare under our sole responsibility that the product described above is in conformity with the relevant Union harmonization legislations as below Directive and following harmonized standards and/or other relevant standards have been applied:
⊠ EMC Directive: 2014/30/EU
⊠ EN55032:2015+A1 1: 2020 Class B ⊠ EN61000-3-2:2019 Class D
⊠ EN 55035:2017+A11: 2020 ⊠ EN61000-3-3:2013+A1:2019
⊠ LVD Directive: 2014/35/EU
⊠ EN 62368-1:2014+A11:2017
⊠ RoHS Directive: 2011/65/EU
⊠ EN 50581:2012
⊠ ErP Directive: 2009/125/EC
⊠ (EU) 2019/ 2021; EN 50564:2011
Year to begin affixing CE marking: 2022.

RU Jan / Sr. Manager Acer Incorporated (Taipei, Taiwan)
Jan. 19, 2022 Date
Federal Communications Commission Declaration of Conformity
This device complies with Part 15 of the FCC Rules. Operation is subject to the following two conditions: (1) this device may not cause harmful interference, and (2) this device must accept any interference received, including interference that may cause undesired operation.
The following local Manufacturer /Importer is responsible for this declaration:
| Product: | LCD Monitor |
| Model Number: | ED240Q |
| SKU Number: | ED240Q xxxxxx (“x” = 0-9, a— z, A — Z, or blank) |
| Name of Responsible Party: | Acer America Corporation 333 West San Carlos St. Suite 1500 |
| Address of Responsible Party: | San Jose, CA 95110 U. S. A. |
| Contact Person: | Acer Representative |
| Phone No.: | 254-298-4000 |
| Fax No.: | 254-298-4147 |
Acer America Corporation
333 West San Carlos St.,
Suite 1500
San Jose, CA 95110
U. S. A.
Tel : 254-298-4000
Fax : 254-298-4147
www.acer.com



















