SnapCab 524 Island Ceiling

Island Ceiling Installation Instructions
Installation – Tools Needed
- All Necessary Safety Items
- Utility Knife
- (2) Tape Measures
- Step Ladder(s)
- MC Cutter & Wire Strippers
- Lineman Pliers
- Lock-tight
- Reciprocating Saw w/ Metal Blade
- Two (2) Cordless Drills/Drivers
- Phillips Head Bit
- 3/16″ Drill Bit
- 1 1/4″ Hole Saw Bit
- 7/16″ (11mm) Socket & Ratchet or Wrench
- 9/16″ (14mm) Deep Well Socket & Ratchet or Wrench
- Dust Pan and Brush
IMPORTANT: Unpack and check shipment for any damage. Verify color, size and all parts before demolition.

Prepare existing cab shel

- Protect cab floor.
- If installing new wall panels, remove old wall panels and ceiling. Installation of new ceiling is recommended before installing new wall panels.
- If necessary, paint top 4” of all nonaccess walls and a 6”-8” border on canopy with matte black paint (not included).
Temporarily mount 1/4” plywood ceiling template.

- Read instructions located on plywood template to determine upside, downside, front, and back, then position in cab.
- Retrieve supplied wood spring sticks. Depending on cab height, spring sticks come full length or two sections that must be attached together. Spring sticks should be 1/4” – 1/2” longer than dimension from floor to canopy.
- Lift template into place. Wedge spring sticks under template to hold it up.
- Center template, measuring to ensure equal gap on all four sides.
Determine where to drill attachment mounting holes in canopy.

- One installer take power supply with mounting hardware, plastic bushing, tape measure, drill, Phillips head bit, and 1 1/4” hole saw on top of canopy.
- Installer inside cab to communicate location of template holes to installer on top of canopy.
- Determine where holes can/cannot be drilled by viewing/measuring obstructions (door equipment, car top exit, etc.) on top of canopy.
- Multiple hole locations are shown on template to avoid drilling into components on top of canopy.
Drill mounting holes into canopy

- Using selected template holes that avoid equipment on canopy, installer inside cab drill 3/16” pilot holesthrough canopy at each selected location. A minimum of four holes (one per corner) are necessary, but we recommend using all supplied legs.
- On the ceiling template, circle used holes with a sharpie.
- Remove spring sticks and template from cab.
- Installer on canopy drill using 1 1/4″ hole saw on center of each pilot hole.
- Installer on canopy return to inside cab (leave tools on canopy at this time).
Install down-light power supply box

- Place supply box on canopy in accessible location. (DO NOT install power supply between drop ceiling & canopy. This will reduce unit life and void warranty.
- Drill 1 1/4” diameter hole through canopy where box will be mounted.
- Install plastic bushing in hole. Insert wiring harness through plastic bushing.
- Mount supply box to canopy with (4) supplied self-tapping screws.
- DO NOT supply power to box at this time. For more details, see installation instructions in light kit box.
- Installer on canopy return to inside cab
Attach mounting legs to ceiling frame

- Match ceiling template up to ceiling frame to assist with locating holes to mount ceiling legs onto frame.
- Position L-shaped legs to point in toward center of frame. Align hole in mounting leg with hole in ceiling frame.
- Use “Leg to Frame Hardware” to bolt Lshaped legs to perimeter of ceiling frame by inserting bolt from inside frame. Lock washer and 7/16” nut will be on outside of frame perimeter.
- Repeat for remaining legs.
Attach toggles and install ceiling

- Attach toggles to top of bolts on four corner ceiling legs. Toggles are used to temporarily hold ceiling in place.
- Position ceiling so car top exit will align with canopy. Carry ceiling in cab.
- Lift ceiling into place, , allowing all toggles to push through and spring open on 1 1/4” holes.
- Once ceiling is hanging by toggles, one installer gather “Leg to Canopy Hardware”, 9/16” Socket & Ratchet or Wrench, reciprocating saw with blade, lock tight, wire strippers, lineman pliers, light power supply instructions and go on canopy to attach ceiling.
Permanently attach ceiling to canopy

- Installer inside cab push up one corner while installer on top of canopy removes toggle.
- Once toggle is removed, replace with supplied heavy-duty washer and 9/16” nut.
- To allow for final ceiling positioning, don’t tighten nuts completely.
- Repeat for all remaining toggles/bolts.
Position ceiling and tighten nuts

- Installer inside cab measure and position ceiling into cab so an equal reveal surrounds ceiling.
- Once positioned, installer on canopy tighten all nuts. We suggest using lock tight on bolt threads and then doublenut bolts.
- Cut off excess bolt flush with nut.
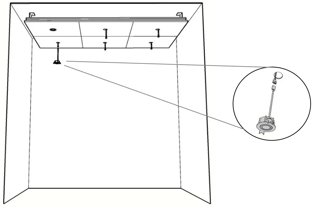
Install down-lights

- Pull one wire connection from power supply harness to each hole in ceiling (those with red connectors closest to COP).
- Connect plugs from harness and light fixture, pull back springs on light fixture, insert fixture into ceiling hole, gently release springs, push fixture into place.
- Repeat until each light fixture is installed.
- See more detailed installation instructions in light kit box.
Make final power connection

- After installer inside cab connects all down-lights, complete power supply installation.
- Make sure power is off before connecting building power to light power supply box.
- Bring 120 VAC line into box. Connect hot and neutral wires to terminal strip. Connect ground wire to threaded stud.
- Only if using a key switch or timeout circuit, remove orange metal jumper. Otherwise, leave jumper in place.
- Continue to follow wiring diagram found in light kit for further instructions.
Turn on power and clean

- After completing electrical connections and closing up supply box, turn buildingpower on. Replace car top exit if it was previously removed.
- If wall panels are included with this project, move on to wall panel installation instructions.
- If a ceiling only, remove any remaining packing material or protective film and dispose of debris.
Call 888-766-7834
Press 0 and ask for
installation assistance














