Singer Quantum Stylist 9960 Sewing Machine User Manual

Singer Quantum Stylist 9960 Sewing Machine User Manual
INSTRUCTION MANUAL
This sewing machine is intended for household use.
This sewing machine is not intended for use by young children or infirm persons without supervision.
IMPORTANT SAFETY INSTRUCTIONS
When using a sewing machine, basic safety precautions should always be followed, including the following.
Read all instructions before using.
DANGER – To reduce the risk of electric shock:
Never leave unattended when plugged in. Always unplug this machine from the electric outlet immediately after using and before cleaning.
WARNING – To reduce the risk of burns, fire, electric shock, or injury to persons:
- Do not allow to be used as a toy. Close attention is necessary when this sewing machine is used by or near children.
- Use this sewing machine only for its intended use as described in this manual. Use only attachments recommended by the manufacturer as contained in this manual.
- Never operate this sewing machine if it has a damaged cord or plug, if it is not working properly, if it has been dropped or damaged, or dropped into water. Return the sewing machine to the nearest authorized dealer or service center for examination, repair, electrical or mechanical adjustment.
- Never operate the sewing machine with any air openings blocked. Keep ventilation openings of the sewing machine and foot controller free from the accumulation of lint, dust, and loose cloth.
- Never drop or insert any object into any opening.
- Do not use outdoors.
- Do not operate where aerosol (spray) products are being used or where oxygen is being administered.
- To disconnect, turn the power switch to the off position (symbol “O”), then remove plug from outlet.
- Do not unplug by pulling on cord. To unplug, grasp the plug, not the cord.
- Keep fingers away from all moving parts. Special care is required around the sewing machine needle.
- Always use the proper needle plate. The wrong plate can cause the needle to break.
- Do not use bent needles.
- Do not pull or push fabric while stitching. It may deflect the needle causing it to break.
- Switch the sewing machine off (symbol “O”) when making any adjustments in the needle area, such as threading needle, changing needle, threading bobbin, or changing presser foot.
- Always unplug sewing machine from the electrical outlet when removing covers, lubricating, or when making any other user servicing adjustments mentioned in the instruction manual.
- Handle the foot controller with care and avoid dropping it on the floor. Be sure not to place anything on top of it.
- Use only the handle to lift and move the machine.
- Do not expose the machine or machine case to sunlight directly. Also, do not keep it in a very warm or damp place.
SAVE THESE INSTRUCTIONS
Servicing should be performed by an authorized service representative.
SINGER is a registered Trademark of The Singer Company Ltd.
MODEL 9960
PREFACE
Thank you for your purchase of this sewing machine.
This machine intended for household use will provide you with excellent performance in sewing from light to heavy material.
Please refer to this booklet for proper use and optimum service. To get the most out of your sewing machine, read the entire instruction manual before attempting to operate the machine. Then familiarize yourself with the machine by following the instruction manual page by page.
To ensure that you are always provided with the most modern sewing capabilities, the manufacturer reserves the right to change the appearance, design or accessories of this sewing machine when considered necessary without notification or obligation.
FOR EUROPEAN AND SIMILAR TERRITORIES:
This product is suppressed for radio and television interference with the International Electrotechnical Commission requirements of the CISPR.
The wires in this mains lead are colored in accordance with the following code. Blue: neutral (N) Brown: live (L) As the colors of the wires in the mains lead of this appliance may not correspond with the colored markings identifying the terminals in your plug, proceed as follows:
The wire which is colored blue must be connected to the terminal which is marked with the letter N or colored black. The wire which is colored brown must be connected to the terminal which is marked with letter L or colored red. If a 13 Amp.(BS 1363) plug is used, a 3 Amp. Fuse must be fitted, or if any other type of plug is used, a 5 Amp. fuse must be fitted either in the plug or adaptor or at the distribution board.
Neither cord is to be connected to the earth terminal of a three-pin plug.
- This appliance is not intended for use by persons (including children) with reduced physical, sensory or mental capabilities, or lack of experience and knowledge, unless they have been given supervision or instruction concerning use or the appliance by a person responsible for their safety.
- Children should be supervised to ensure that they do not play with the appliance.

MAIN PARTS
- Handle
- Top Cover
- Thread Take-Up Lever (Inside)
- Face Plate
- Thread Cutter Button
- Speed Control Button
- Needle Up-Down / Slow Button
- Reverse Stitch Button
- Start/Stop Button
- Extension Table (Accessories)
- Presser Foot Lifter
- Forward / Reverse Adjusting Screw (underneath machine)

- Foot Controller

- Power Line Cord

- Hand Wheel
- Power Switch
- Terminal Box
- Controller Jack
- Direct Stitch Selection Buttons

- EDIT Button
- Tack Button
- Twin Needle Button
- Utility Stitch Button
- Decorative Stitch & Letter Button
- Liquid Crystal Display (L.C.D.)

- Function Buttons (F1 – F5)
- Clear Button
- Scroll Buttons
- Cursor Buttons
- Thread Cutter
- Buttonhole Lever
- Needle Threader Lever
- Needle Threader
- Presser Foot Thumb Screw
- Presser Foot Holder
- Presser Foot
- Fabric Feed Dogs
- Needle Clamp Screw
- Needle Thread Guide
- Needle
- Bobbin Cover Latch
- Bobbin Cover
- Needle Plate
- Drop Feed Lever
- Pattern Chart

- Thread Guide
- Thread Guide
- Bobbin Winder Thread Guide
- Thread Tension Regulator
- Spool Stand
- Felt Washer
- L.C.D. Contrast Control
- Auxiliary Spool Holder
- Bobbin Winder Shaft
- Bobbin Winder Stop
ACCESSORIES
Accessories are provided in the accessory case. (See next page, [EXTENSION TABLE]).
- Needle Pack

- 4 Bobbins ( 1 is in the machine)

- Seam Ripper

- Brush

- Auxiliary Spool Pin with Felt Washer

- Screw Driver

- Driver for Needle Plate

- Thread Cap (On the machine when delivered)

- Small Thread Cap

- Seam Guide and Screw

- Overcasting Foot (C)

- Blind Hem Foot (D)

- Zipper Foot (E)

- Rolled Hem Foot

- Button Sewing Foot

- Satin Foot (B)

- Quilting Bar

- Open Toe Foot

- Cording Foot

- Straight Stitch / Patch Quilting Foot

- Darning Embroidery Foot

- Even-feed Foot

- Buttonhole Foot (F) and Under Plate

- General Purpose Foot (On machine when delivered) (A)

- An Extra Wide Table is provided with this machine.
DUST COVER
Cover the machine with dust cover when it is not to be used.
a. The manual may be stored in the compartment of the dust cover by opening the front cover towards you.
Do not remove the styrofoam located inside of this cover.
EXTENSION TABLE
- a. REMOVING THE EXTENSION TABLE
Hook your finger to the left bottom side of extension table and slide it to the left. To attach, insert to the right.
- b. OPENING THE ACCESSORY CASE
Hook your finger to the left side of accessory case and pull toward you.
CHANGING THE PRESSER FOOT
The presser foot must be changed according to the stitch you sew, or work you do.
CAUTION: To prevent accidents. Turn off the power switch before you change the presser foot.
A. Changing the presser foot
- Turn the hand wheel toward you until the needle is at its highest point.

- Raise the presser foot lifter.

- Remove the presser foot by pushing the presser foot release lever toward you.

- Place desired foot with its pin directly under the slot in presser foot holder.

- Lower the presser foot lifting lever and the presser foot will snap into place.

B. Removing the presser foot holder
When attaching the special presser foot or cleaning the machine, you should remove the presser foot holder.
- Remove the presser foot.

- Loosen the presser foot thumb screw and remove the presser foot holder.

- To replace the holder, pull up the holder as far as it will go from bottom of presser bar.

- Tighten the thumb screw.

INSERTING THE NEEDLE
Select a needle of the right type and size for the fabric to be sewn.
CAUTION: To prevent accidents. Turn off the power before removing the needle
- Turn the hand wheel toward you until the needle is at its highest point.

- Loosen the needle clamp screw.

- Remove the needle.

- Insert new needle into needle clamp with the flat side to the back and push it up as far as it will go.

- Tighten the needle clamp screw.

a. Do not use the bent or blunt needle. Place needle on a flat plate and check straightness.
FABRIC, THREAD AND NEEDLE TABLE
Select size of thread and needle in accordance with fabric to be sewn.
Type of Fabric | Thread Size | Needle Type | Needle Size |
Light Weight – thin georgette, organdy, voile, taffeta, silk, etc. | Ctn #80 -100 | 2000 gray shank | 9/70-11/80 |
Medium Weight – gingham, pique, linen, cotton, satin, thin corduroy, velvet | Ctn 50 – 80 | 2000 gray shank | 11/80-14/90 |
Heavy Weight – gabardine, tweed, denim, corduroy | Ctn 40 – 50 | 2000 gray shank | 14/90-16/100 |
Stretch – double knit, tricot, spandex, jersey | Syn 50 – 80 | 2001 green shank | 11/80-14/90 |
Sweatshirt, Swimwear, Double Knit, Sweater Knit | Polyester | 2001 green shank | |
Leather | 2032 Leather |
Use a Singer brand needle for better sewing results.
CONNECTING THE MACHINE
DANGER: To reduce the risk of electric shock.
Never leave unattended when plugged in. Always unplug this machine from the electric outlet immediately after using and before maintenance.
WARNING: To reduce the risk of burns, fire, electric shock, or injury to persons.
Do not unplug by pulling on cord. To unplug, grasp the plug, not the cord.
- Place machine on stable table.

- Connect the power line cord to the machine by inserting the 2-hole plug into the terminal box.

- Connect the power line plug to the electric outlet.

- Turn on the power switch.

- A lamp will light up when switch is turned on.

- To disconnect, turn the power switch to the off position (symbol O), then remove plug from outlet.

FOR UNITED STATES AND CANADA USERS: POLARIZED PLUG INFORMATION
This appliance has a polarized plug (one blade wider than the other). To reduce the risk of electric shock, this plug is intended to fit in a polarized outlet only one way. If the plug does not fit fully in the outlet, reverse the plug. If it still does not fit, contact a qualified electrician to install the proper outlet. Do not modify the plug in any way.
FOOT CONTROLLER
Use of foot controller will permit control of start, stop and speed with your foot.
When the foot controller is connected, start/stop button will be deactivated.
- Turn off the power switch. (symbol O)

- Push foot controller plug into the jack on machine.

- Place foot controller at your feet.

- Turn on the power switch.

- A lamp will light up when switch is turned on.

- The harder you press the foot controller, the faster the machine will sew. The machine will stop when foot controller is released.

WARNING: To reduce the risk of burns, fire, electric shock, or injury to persons.
- Turn off the power when connecting the foot controller to the machine.
- Handle the foot controller with care and avoid dropping it on the floor. Be sure not to place anything on top of it.
- Use only foot controller provided with this machine. (Type 4C-337B)
FUNCTION OF EACH PART

A.START/STOP BUTTON
The machine will start running when start/stop button is pressed and will stop when pressed the second time. The machine will rotate slowly at start of sewing.
MONITOR LAMP
Green Light “ON”
Ready to sew or bobbin winding.
Red Light “ON”
Presser foot is not in down position or buttonhole lever is not lowered.
If the red light is on, the machine will not start even when start/stop button is pressed.
If upper thread is not threaded, machine will stop after a few turns. (Upper thread sensor)
Note: When the foot controller is connected, start/stop button will be deactivated.
B.REVERSE STITCH BUTTON
The machine will continue to sew in reverse at low speed while this button is pressed and stop when this button is released.
Note: When the foot controller is connected, machine will sew in reverse while this button is pressed. When released, machine will sew forward.
C.NEEDLE UP-DOWN / SLOW BUTTON
Pressing this button when the machine is stopped, will change the needle position from down to up or from up to down.
While sewing, by pressing this button, machine will sew in slow speed. Pressing this button again, the speed will return.
D.SPEED CONTROL BUTTON
The machine will sew faster when the button is slid to the right, and sew slower when the button is slid to the left.
Note: When the foot controller is connected, this button limits the maximum speed.
E. PRESSER FOOT LIFTER
The presser foot is lifed up or down by this lever.
Note: Machine will not start when the presser foot is lifted. (Except for bobbin winding).
F. THREAD CUTTER BUTTON
Press this button after sewing to cut the upper and bobbin threads.
The machine will cut both threads automatically.
CAUTION
- Do not press this button when there is no fabric in the machine or no need to cut the threads. The thread may tangle, resulting in damage.
- Do not use this button when cutting thread thicker than #30, nylon thread or other speciality threads. In this case, use the thread cutter (H).
G.DROP FEED LEVER
The fabric feed dogs project up through the needle plate, directly below the presser foot. Their function is to move the fabric being sewn. The drop feed lever controls the fabric feed dogs. For ordinary sewing, move the lever to the right. This raises feed dogs to their highest position. For most sewing, the lever should be in this position. For darning or free motion embroidery or whenever fabric is to be moved by hand, move the lever to the left to lower the fabric feed dogs.
H.THREAD CUTTER
Use this cutter if the thread cutter button is not used.
- Raise the presser foot and bring fabric and threads backward after sewing.
- Hook the threads to the thread cutter from back to front.
- Pull fabric and cut threads.
I. TOP COVER
To open the top cover, lift up the right side of cover.
J. HAND WHEEL
By turning the hand wheel, the needle will raise or lower. You should turn hand wheel toward you.
EXTRA WIDE TABLE
If you need wide sewing space, attach the extra wide table as below.
Set the machine and extra wide table on the stable table.
- Remove the extension table.

- Stand up the two legs of extra wide table.

- Insert wide table to the machine sliding to the right.

- Adjust the height of table by turning the four rubber feet.

CONTROL PANEL
When you turn on the power, machine will select the straight stitch and indicate information of stitch on the L.C.D.
- A. L.C.D. DISPLAY
Stitch information is indicated on this display.
According to the pattern or mode, information will be changed.
- B. L.C.D. CONTRAST CONTROL
The contrast of L.C.D. is adjusted by turning this dial.
- C. PATTERN CHART
Pattern chart is located inside of the top cover.
All patterns and letters of this machine are indicated on this chart.
They are separated: Utility stitch and Decorative & Letter stitch.
- D. DIRECT STITCH SELECTION BUTTONS
By pressing these buttons, you can select basic utility stitch patterns directly.
- E. UTILITY STITCH BUTTON
By pressing this button, you may select a utility stitch pattern.
FOR SELECTING AND SETTING OF UTILITY STITCHES. - F. DECORATIVE & LETTER STITCH BUTTON
By pressing this button, you can select decorative & letter stitch patterns.
These patterns and letters are combined easily by selecting each pattern.
FOR SELECTING AND SETTING OF DECORATIVE & LETTER STITCH. - G. FUNCTION BUTTONS
Functions of these buttons are changed by selected stitch pattern and mode. - H. EDIT BUTTON
When selecting decorative & letter stitch, you can change the setting of each pattern by pressing this button. - I. CLEAR BUTTON UTILITY STITCH SEWING
If you changed the setting (mirror/reverse, elongation, stitch width, length and thread tension) of utility stitch pattern, you can return to preset setting by pressing this button.
DECORATIVE & LETTER STITCH SEWING
By pressing this button, you can delete one combined stitch pattern or all stitch patterns. - J. SCROLL BUTTONS
During stitch pattern selection, 5 patterns or letters will scroll up or down by pressing these buttons. - K. CURSOR BUTTONS
When decorative & letter stitch sewing, you can check and edit combined patterns or letters by pressing these buttons. - L. TACK BUTTON UTILITY STITCH SEWING
By pressing this button, you can sew a tack stitch at the beginning and at the end of a stitch.DECORATIVE & LETTER STITCH SEWING
If this button is pressed at the end of a decorative stitch pattern, machine will stop automatically at the end of the stitch pattern and tie off the stitch with a locking stitch. - M. TWIN NEEDLE BUTTON
If you attach the twin needle, press this button. Machine will reduce the stitch width.
TO TURN OFF THE AUDIBLE BEEP
You can operate the machine without the audible beep.
- Turn off the power switch.
Turn on the power switch while pressing the EDIT button and the function F1 button. - This function is kept off until the machine is turned off.

This function turns off the single beep only. Multiple beeps will not turn off.
BOBBIN SETTING
A.REMOVING THE BOBBIN
- Pull the bobbin cover latch to the right and remove the bobbin cover.

- Lift up the bobbin from the machine.

B.SETTING SPOOL OF THREAD ON SPOOL PIN
- Pull up the left end of spool pin and set the spool of thread on spool pin so that the thread unrolls from the front of the spool.

2. Set the spool cap on spool pin as far as it will go.
a: Reverse spool cap direction according to the size of spool.
b. Use the small spool cap when you use cross wound thread. Leave small opening between cap and spool as illustration.
C. WINDING THE BOBBIN
- Hold thread in both hands and hook thread to the guide from front opening.

- Bring thread towards the rear of the machine and pass through the thread guide from left to right.

- Bring thread to the right and pass thread through the thread guide from rear side. Pass thread under tension disc in counter clockwise direction.

- Insert thread through hole in bobbin and place the bobbin on bobbin winder spindle. Push bobbin to the right to engage bobbin winder. LCD will indicate the bobbin winding mode.

- Hold the end of the thread and start the machine by pressing the start/stop button or pressing the foot controller pedal.

- After the bobbin winds a few turns, stop the machine by pressing the start/stop button or releasing the foot controller pedal. Cut the thread near hole.

- Start the machine again.

- The bobbin winding will stop automatically when bobbin is full. (Release the pedal.)

- Push the bobbin and spindle to the left.

- Remove the bobbin from the spindle and cut the thread.


D. INSERTING THE BOBBIN
- Place bobbin into bobbin holder with the thread unwinding counter clockwise.

- Draw thread into notch (a) while holding the bobbin.

- Pull thread toward the left and along the inside of spring (b) until it slips into notch (c) making sure that thread does not slip out of notch (a).

- Pull thread out about 10 cm (4 inches).
Replace the bobbin cover. Set the left tab into the hole in needle plate and push the right side of bobbin cover down until it clicks into place.

NOTE: Use Singer bobbins only
THREADING THE MACHINE
A.PREPARING TO THREAD MACHINE
- Raise the presser foot lifter.

- Press the needle up/down button and set the needle in up position. (Keep this position until needle eye threading.)

B. SETTING SPOOL OF THREAD ON SPOOL PIN
- Pull up the left end of spool pin and set the spool of thread on spool pin so that the thread unrolls from the front of the spool.

- Set the spool cap on spool pin as far as it will go.

a: Reverse spool cap direction according to the size of spool.
b. Use the small spool cap when you use cross wound thread. Leave small opening between cap and spool as illustration.
C. THREADING THE UPPER THREAD
- Hold thread in both hands and pass thread to the guide from front opening.
- Bring thread backward and pass through the slit from right to left.
- Bring thread to the left and pull thread down toward you along the slit.

- Pull up thread.
- To thread the take-up lever, draw thread up and bring thread back down again from right to left along the slit.
- Pull thread downward along the slit.
- Draw thread through thread guide from right side opening.
- Pass through needle eye from front to back. Refer instructions on how to use needle threader.

D. THREADING THE NEEDLE EYE
CAUTION: To prevent accidents.
- Keep fingers away from all moving parts. Special care is required around the needle.
- Do not lower the threader lever while machine is operating.
Note: The needle threader is used for needle sizes 11/80, 14/90, and 16/100.
- Lower the presser foot.
- Check that the needle is raised. If it is not so, raise needle by pressing needle up/down button.

- Lower the threader slowly and draw thread through thread guide (a) and pull toward the right.

- Lower the lever as far as it will go. The threader will turn and the hook pin will go through the needle eye.

- Draw thread into the guide.

- Hold thread loosely and release the lever. Hook will turn and pass thread through needle eye while making a loop.

- Pull thread out about 10 cm (4 inches) from needle eye.

E. DRAWING UP THE BOBBIN THREAD
- Raise the presser foot.
- Hold thread loosely and press needle up/down button twice from up position. The hand wheel will turn one complete turn.

- Pull upper thread lightly. Bobbin thread will come up in a loop.

- Pull both upper and bobbin threads about 10 cm (4 inches) toward the back of presser foot.

STARTING TO SEW
The machine will be set to sew straight stitch when power switch is turned on.
CAUTION: To prevent accidents.
While sewing, special care is required around the needle.
Machine automatically feeds the fabric, do not pull or push the fabric.
A. START AND END OF SEAM
- Check the presser foot (General Purpose Presser Foot). Refer for changing the presser foot.

- Place the fabric under the presser foot and lower the presser foot.

- Hold back both threads and press the start/stop button or press the foot controller pedal. Keep holding threads after sewing a few stitches.
Lightly guide the fabric while sewing.
You can regulate the sewing speed by sliding the speed control button.
Also, you can reduce the sewing speed by pressing the slow button.
- When you reach end of seam, press the start/ stop button to stop sewing or release the foot controller pedal.

- Press the thread cutter button.

- Raise the presser foot lifter and remove the fabric.

Upper Thread Sensor
If upper thread is broken or missing, machine will stop automatically. Rethread the upper thread and resume sewing.
CAUTION
- Do not press the thread cutter button when there is no fabric in the machine or no need to cut the threads. The thread may tangle, resulting in damage.
- Do not use the thread cutter button when cutting thread thicker than #30, nylon thread or other speciality threads.
In this case, use the thread cutter located on the left side of the machine.
NOTE
After you cut the threads by using the thread cutter button, hold upper thread only at the next starting of seam. (No need to draw up the bobbin thread).
B. REVERSE STITCHING
Reverse stitching is used for reinforcing the ends of the seams.
- Place the fabric in position where back stitching is to be made and lower the presser foot.

- Press and hold the reverse button. Sew 4-5 reverse stitch.

- Release the reverse button and press the start/ stop button (or press the pedal). Machine will change to forward sewing.

- When you reach the end of seam, press and hold reverse button and sew 4-5 reverse stitches.

Note:
The pattern No. 3 and No. 4 have a built-in reverse stitch. Sew this stitch.
C. AUTO TACK STITCH
You may sew tack stitches at the beginning and end of the stitch.
This function can be used with all utility patterns.
- Press the Tack button. Tack mark “
” will appear on the L.C.D..
- Start to sew.
Machine will sew tacking stitches automatically and then start to sew the selected pattern.
- When you reach the end of seam, press the reverse button once.
Machine will sew tacking stitches and stop automatically.
- If you want to cancel this function, press the tack button again. Tack mark will disappear.

D. TURNING CORNERS

- Stop the machine when you reach a corner. The machine will stop the needle into the fabric.
- Raise the presser foot.
- Use the needle as a pivot and turn fabric.
- Lower the presser foot and resume sewing.
E. SEWING HEAVY FABRIC
When sewing heavy fabrics, the toe end of presser foot tends to lift up and sewing cannot be started smoothly. In such case, set as follows.
- Raise the presser foot.

- Push the lock button located on the right side of general purpose foot and lower the foot.

- Start sewing.
As presser foot hinge is locked, fabric will be feeded smoothly.
a. The presser bar lifter can be raised 1 step higher for placing heavy materials under the presser foot easily
F. SEWING OVER OVERLAPPED AREAS
Guide the fabric with your hand when sewing over overlapped areas.
G. WIDTH OF SEAM ALLOWANCE
Guide lines on the needle plate indicate the distance from the center needle position.
To keep the width of seam allowance, guide fabric edge aligning this guide line.
Seam Guide
Use the seam guide to guide the fabric. Attach the seam guide and screw to the needle plate.
THREAD TENSION
This machine adjusts the thread tension automatically when pattern is selected. However you can change the thread tension as follows.
- Press the function F5 button directly under the tension mark.
LCD changes to the thread tension mode.
- To increase the upper thread tension, press the
function F5 (+) button.
To decrease the upper thread tension, press the function F4 (–) button.
Pre-set tension number is highlighted.
The mark “
” is indicating the absolute thread
tension.
By pressing the function F3 (AUTO) or clear “C”
button, thread tension will return to pre-set.
By pressing the function F1 button, LCD return to the previous mode (Stitch information mode). When another stitch pattern is selected, thread tension will return to pre-set.
You can start sewing at this mode and change tension while sewing.
A. Preset thread tension
Upper and bobbin thread will lock approximately in the middle of fabric.
B. When thread tension is increased.
Bobbin thread will appear on the top side of fabric.
C. When thread tension is decreased.
Upper thread will appear on the bottom side of fabric.
D. Thread tension except for straight stitch
Thread tension except for straight stitch is set to a slightly weaker tension than when sewing straight stitch.
You will obtain a nicer stitch when upper thread appears on bottom side of fabric.
E. Helpful Hints
- If your sewing appears as shown on drawing, stitches on top side of fabric are good but bottom side tends to look like a towel, it could be that the upper thread is not threaded correctly.

- If after checking the top thread and the bobbin thread is still showing on the top side, check the bobbin to see if it is set correctly.

SELECTING UTILITY STITCH PATTERN
Utility stitches are indicated in the pattern chart located inside of the top cover.
When you turn on the machine, straight stitch will be selected automatically.
Select utility stitch pattern as follows.
A.DIRECT STITCH PATTERN
You can select basic utility stitch patterns directly by pressing the Direct Stitch Selection Buttons. Selected pattern will be indicated on the LCD.
B.SELECTING OTHER UTILITY STITCH PATTERNS
- Press the utility button.
First 5 patterns will be indicated on the LCD.
- Press the right scroll button, next 5 patterns will appear.
By pressing the left or right scroll button, you can scroll up or down in increments of 5 patterns. (You can also scroll down by pressing the utility button.)
- To select a pattern, press the function button directly under the desired pattern.

- When pattern is selected, LCD will indicate the information of selected pattern. (Stitch information mode)

- a. Stitch Number and pattern
- b. Suitable presser foot
- c. Function of function button
F2 Mirror/reverse
F3 Elongation
F4 Stitch Width, Length
F5 Thread Tension
If the function mark is not indicated, its function can not be used.
C. MIRROR/REVERSE STITCH
You can set the mirror stitch, or reverse stitch or mirror/reverse stitch.
Pressing the function button (F2) directly under the mirror/reverse icon, stitch will flip from left to right or from front to back.

The icon on the LCD indicates the selected stitch as follows:
- a. Regular stitch (normal stitch)
- b. Mirror stitch (reverse left and right)
- c. Reverse stitch (reverse front and back)
- d. Mirror and Reverse stitch
If the mark is not indicated, the pattern cannot change to mirror or reverse stitch. When you pressed clear “C” button, machine will return to regular stitch (also elongation will return to regular length.)
D. ELONGATION
Some patterns may be elongated from the original length. You may elongate the pattern by pressing the function button (F3) directly under the elongation icon.
- a. Regular length

- b. Elongated

A pattern cannot be elongated if the elongation icon is not indicated.
When you pressed clear “C” button, machine will return to regular length (also mirror/reverse will return to regular stitch.)
E. SETTING STITCH WIDTH AND LENGTH
Machine will set the stitch width and length suitable for the pattern.
- You can make changes by pressing the function button (F4) directly under the width and length mark.

- LCD will change to show the stitch width and length.

For narrower width, press function button F2 (–).
For wider width, press function button F3 (+).
For shorter length, press function button F4 (–).
For longer length, press function button F5 (+).
Pre-set stitch width and length will be indicated as a highlighted number.
When you pressed clear “C” button, machine will return to preset stitch width and length.
When you press the return button (F1), LCD will indicate previous mode (Stitch Information mode).
- a. For straight stitch patterns (No. 1, 2, 3, 4, 6, 8), Stitch width buttons will change the needle position.

To shift the needle to the left, press function button F2.
To shift the needle to the right, press function button F3.
Note: When further width or length adjustments are not possible, machine will emit multiple audible beeps.
If the width, length or number icons are not indicated, the pattern cannot be changed. Adjustments to the patterns may be made while sewing.
WHERE TO USE EACH STITCH
- 01. Straight stitch center needle positon • For top stitching, zipper sewing etc.

- 02. Straight stitch left needle position • For top stitching etc.
- 03. Straight stitch with auto-reverse stitch center needle position.
- 04. Straight stitch with auto-reverse stitch left needle position.
- 05. Basting
- 06. Straight stretch stitch • Reinforcement straight stitch
- 07. Stem stitch for stretch fabrics
- 08. Quilt stitch like hand made
- 09. Zigzag stitch • For overcasting, applique, patch work etc.
- 10. Elastic blind hem
- 11. Blind Hem
- 12. Multiple stitch zigzag • For overcasting knit fabrics, elastic sewing.
- 13. Button sewing
- 14. Decorative stitch
- 15. Overcasting
- 16. Overcasting of stretch fabric, decorative stitch
- 17. Ric Rac stitch
- 18. Double Ric Rac stitch
- 19. Fagoting
- 20. Patch work
- 21-100. Decorative and Functional stitches

- 101. Eyelet

- 102. Bar-tack
- 103. Darning
- 104. Bar-tack Buttonhole (Narrow)
- 105. Bar-tack Buttonhole (Wide)
- 106. Keyhole Buttonhole
- 107. Keyhole Buttonhole with cross bar
- 108. Tapered Keyhole Buttonhole
- 109. Round Ended Buttonhole (Narrow)
- 110. Round Ended Buttonhole (Wide)
- 111. Round Ended Buttonhole with cross bar
- 112. Both Round Ended Buttonhole
- 113. Decorative Buttonhole
- 114. Stretch Buttonhole
- 115. Heirloom Buttonhole
- 116. Bound Buttonhole
Description of Chart Symbols:
Mirror Stitch possible
Reverse Stitch possible
Mirror and Reverse stitches possible
X2 Elongation possible
STRAIGHT STITCH SEWING
Straight stitch patterns should be selected to suit the type of fabric being sewn.
Left needle position (No.2) is most suited for sewing light weight fabrics.
- No. 1. Center needle Position
- No. 2. Left needle Position
- No. 3. Center needle with built-in reverse stitch
- No. 4. Left needle with built-in reverse stitch
General Purpose Foot (A)
A.Straight Stitch
- Position the fabric under the presser foot and lower it.

- Hold the upper thread and bobbin thread loosely and start sewing.
Place hand lightly on the fabric while sewing.
- When you reach the end of seam, stop sewing.

- Press the thread cutter button.

B.Straight Stitch With Auto-lock Stitch (Pattern No. 3, 4)
- Position the fabric under the presser foot and
lower it.
- Hold the upper thread and bobbin thread loosely and start sewing.
Machine will sew 4-5 stitches forward and sew 4-5 stitches backward and continue sewing forward.
- When you reach the end of seam, press the reverse button.
Machine will sew a few stitches backward and sew a few stitches forward and stop automatically.
- Press the thread cutter button.

BASTING
You can baste a garment before trying it on.
No. 5 Basting Stitch
Darning/Embroidery Foot
A. ATTACHING THE DARNING/ EMBROIDERY FOOT
- Lower the feed dogs by moving the drop feed lever to the left.

- Remove the presser foot and holder.

- The arm of darning/embroidery foot should ride onto the shaft of the needle clamp screw.

- Slide the plastic attaching head from your left to right so that it is fitted into the presser bar.

- Tighten the presser foot thumb screw.

B. BASTING
When this pattern is selected, thread tension will be reduced automatically.
- Place the fabric under the presser foot and lower it.

- Hold the upper thread and bobbin thread loosely and start to sew.
Machine will make one stitch only.
- Pull the fabric required amount to the rear and sew one stitch.

- Repeat this as many times as you need to finish the seam.

- Raise the fabric feed dogs for next regular sewing.

Note: To prevent the fabric layers from shifting, insert dress pins crosswise to the basting position.
CAUTION: To prevent accidents. Be sure the needle does not hit the dress pin, while sewing.
ELASTIC STITCH SEWING
Elastic stitches are strong and flexible and will give with the fabric without breaking. Good for easy to ravel and knit fabrics as well as joining durable fabrics such as denims.
No. 6 Straight Stretch Stitch
No. 7 Stem Stitch for Stretch fabrics
No.17 Ric-rac Stitch
General Purpose Foot (A)
We recommend that you use a needle for knit and synthetic fabrics to prevent skipping stitches and thread breakages.
- a. Jacket

- b. Trousers

- c. Bag

- d. Pocket

QUILTING
A quilt always consists of three layers of material. The top, middle and bottom.
The top layer is formed by multiple geometrically shaped pieces of materials joined together.
- No. 1 Straight stitch (Center Needle Position)
- No. 8 Hand look Quilting Stitch
Straight Stitch / Patch Quilting Foot
Quilting Bar
CAUTION: To prevent accidents. Do not change the needle position. Otherwise, needle could hit the presser foot and break.
A.Joining the pieces of fabric
Join the pieces of fabric using Pattern No. 1 with a seam allowance of 1/4 inch (6.3 mm)
B.Quilting
Sew three layers of material.
Use quilting bar to sew successive rows.
Insert quilting bar into the hole of presser foot holder and set the space as you desire.
C.Hand Look Quilting Stitch (No. 8)
Use invisible nylon sewing thread or very lightweight thread that matches the fabric on top. Place thread that contrasts to the color of the fabric on the bobbin.
Set the upper tension to maximum.
When you sew, bobbin thread will pull to the top and give the appearance of a traditional hand quilting stitch.
ZIGZAG STITCH SEWING
Your machine can sew zigzag stitches of various widths and lengths by changing the settings of the stitch width and stitch length.
No. 9 Zigzag Stitch
General or Satin Foot (A, B)
Zigzag stitches are very good for joining two pieces of fabrics, applique and sewing various decorative patterns.
SATIN STITCHING
To sew a satin stitch, shorten the stitch length and attach the satin foot. (B)
Refer next for overcast.
MULTI-STITCH ZIGZAG
Used for sewing on elastic and overcast stitching on knit fabrics.
No. 12 Multi-Stitch Zigzag

General Purpose Foot (A)
A.Elastic Band Sewing
Pull elastic in front and back of needle while sewing.
B.Overcast Stitching
Used for easy to ravel and knit fabrics.
Needle should fall on extreme edge of fabric. Refer to next for overcasting.
FREE ARM SEWING
By simply removing the extension table, machine becomes a free arm machine making hard to reach areas readily accessible.
Note: for Removing The Extension Table.
OVERCASTING OVERLOCKING
A.USING THE OVERCASTING FOOT
No. 9 (Stitch Width 5.0)
No. 15, 16, 30 (Stitch Width 5.0-7.0)
Overcasting Foot (C)
Press fabric against the guide plate of the overcasting foot so that needle falls near the edge of seam.
- a. No. 9 (Width=5.0) is used for preventing
raveling of fabrics.
- b-d. No. 15, 16, 30 can sew overcasting and regular stitches at the same time. Therefore it is convenient for sewing easy to ravel and stretch fabrics.

CAUTION: To prevent accidents. Overcasting foot should be used for sewing patterns 9, 15, 16, 30 only. Do not change the stitch mode or elongation. It is possible that the needle could hit the presser foot and break when sewing other patterns and widths.
B.USING THE GENERAL PURPOSE FOOT
No. 9, 12
General Purpose Foot (A)
Place fabric so that needle will fall nearest to edge of fabric when using the General Purpose Foot.
- e. For narrower zigzag width (Width=2.0-4.5).

- f. Use No. 12 when sewing easy to ravel or stretch fabrics.

C. NOTE:
You can also cut off the excess material after sewing the inside of fabric.
Be careful not to cut thread when cutting excess fabric.
BLIND HEM STITCHING
This stitch will sew without stitches showing on
right side of fabric.
No. 10 Blind hemming for stretch fabric.
No. 11 Blind hem for regular fabric.
Blind Hem Foot (D)
- Fold the fabric as shown on drawing.

- a. Medium, Heavy weight fabric
- b. Light weight fabric
- c. Wrong side of fabric
- d. Overcasting
- The guide (e) on the blind foot ensures even feeding of the fabric when blind hem stitching. The guide (e) is adjusted by turning the adjusting screw (f).

- Place fabric so that the straight stitches (or small zigzag stitches) are on the protruding hem edge and the large zigzag stitches just catch one thread of the folded edge (g). Turn the screw so that the needle barely touches the folded edge of fabric.

- Lower the presser foot and sew hem, guiding fabric evenly along the guide.

- Turn the fabric over when you have completed sewing.

- c. Wrong side of fabric
- h. Right side of fabric
PATCH WORK
For additional decorative purposes, use different
kind of materials.
No. 19, 20
General Purpose or Satin Foot (A, B)
- Place two pieces of fabric right sides together and sew a long straight stitch.

- Press the seam open.

- Be sure that stitches fall on both sides of fabric.

APPLIQUE
No. 23, 24
Open Toe Foot
CAUTION: To prevent accidents. Do not change the stitch width to wider than 5.0. Otherwise, needle could hit the presser foot and break.
- Fix applique on fabric with fabric glue, fusible iron-on or basting stitches.

- Sew edge of applique, while dropping the needle as close to the edge as possible.
The straight stitch is almost entirely sink-stitched and a hand-made effect is obtained.
a. When sewing sharp angles
Bring needle to lowest position and raise the presser foot.
Use needle as pivot and turn fabric.
INSERTING ZIPPERS CENTERED INSERTION
No. 1 Straight Stitch (Center Needle Position)
Zipper Foot (E)
CAUTION: To prevent accidents. Zipper foot should be used for sewing center needle position straight stitch No. 1 only. It is possible that needle could hit the presser foot and break when sewing other patterns.
- Baste the zipper opening to the seam line.

- a: Straight stitch,
- b: End of opening,
- c: Basting
- d: Wrong Side of fabric
- Press open the seam allowance.
Baste the zipper tape.
Place the open zipper face down on the seam allowance with the teeth against the seam line.
- Attach the zipper foot.
Attach the left side of the presser foot pin to the presser foot holder when sewing the right side of the zipper, and right side of the presser foot pin to the holder when sewing the left side of the zipper.
- Stitch left side of the zipper from bottom to top.

- Stitch across the lower end and right side of zipper.
Remove the basting and press.
INSERTING ZIPPERS LAPPED INSERTION
No. 1 Straight Stitch (Center Needle Position)
Zipper Foot (E)
CAUTION: To prevent accidents. Zipper foot should be used for sewing center needle position straight stitch No. 1 only. It is possible that needle could hit the presser foot and break when sewing other patterns.
- Baste the zipper opening to the seam line.

- a: Straight stitch,
- b: End of opening,
- c: Basting
- d: Wrong Side of fabric
- Fold back to the left seam allowance.
Turn under the right seam allowance to form 3 mm fold.
- Attach the zipper foot.
Attach the left side of the presser foot pin to the presser foot holder when sewing the right side of the zipper, and right side of the presser foot pin to the holder when sewing the left side of the zipper.
- Stitch the left side of zipper from bottom to top.

- Turn the fabric right side out stitch across the lower end and right side of zipper.

- Stop stitching with the needle down in the fabric when the zipper foot reaches the zipper tab, about 5 cm from the top of the zipper.

To stitch around the zipper tab: (Diagram A)
- Stop stitching before you reach the zipper tab.
- Lower the needle into fabric.
- Raise the presser foot and slide the zipper tab backwards to clear the zipper foot.
- Lower the presser foot and continue stitching.
- Remove the basting stitches.
- a. Zipper tab

This machine can sew 13 types of buttonholes.
- 104. Bar-tack Buttonhole (Narrow) for light to medium weight fabrics
- 105. Bar-tack Buttonhole (Wide) for large buttons
- 106. Keyhole Buttonhole for heavy weight fabrics
- 107. Keyhole Buttonhole with reinforced bar tack
- 108. Tapered Keyhole Buttonhole
- 109. Round Ended Buttonhole (Narrow) for light to medium weight fabrics
- 110. Round Ended Buttonhole (Wide) for large buttons
- 111. Round Ended Buttonhole with cross bar
- 112. Both Round Ended Buttonhole
- 113. Decorative Buttonhole
- 114. Stretch Buttonhole
- 115. Heirloom Buttonhole
- 116. Bound Buttonhole
Buttonhole Foot (F)
Note: Density of buttonhole legs may be adjusted with stitch length control.
- Mark position and length of buttonhole on fabric.

- Set button on the base.
If button does not fit on the base, adjust slide on base to diameter of button plus thickness of button.
a = Length of button + thickness
- Pass upper thread through the hole of buttonhole foot and bring upper and bobbin threads to the left.

- Position fabric under presser foot so that the center line mark is in the center of the buttonhole foot.
Lower the foot while pulling the frame of the buttonhole foot towards you.
Note: When sewing stretch fabrics, it is suggested that you use interfacing on the backside of the fabric. - Lower the buttonhole lever completely.

Note: Machine will not start to sew if buttonhole lever is not lowered properly or frame of buttonhole foot is not positioned extremely forward. - Hold upper thread lightly and start the machine.

- Machine will sew the buttonhole in the order as shown and stop automatically after sewing.

- Press the thread cutter button and raise the presser foot to remove the fabric.
b. To sew over same buttonhole, raise presser foot to return to original position.
- Cut center of buttonhole being careful not to cut stitches on either side. Use a pin as a stopper.

CAUTION: To prevent accidents. When using seam ripper, do not put your finger in the path of ripper.
A. Note:
For sewing buttonholes on hard-to-sew fabrics or along the edge of multi-layered garments, install the underplate to create perfect buttonholes. Place the fabric between the underplate and buttonhole foot.
A bound buttonhole provides a professional tailored touch to women’s dresses, suits and coats.
116. Bound Buttonhole

Buttonhole Foot (F)
- Cut a patch of fabric 2.5 cm wide, 1 cm longer than the finished buttonhole.
Baste a patch so that the center line of patch will align with the center line mark of buttonhole.
- a. Right side of fabric
- b. Wrong side of patch
- Lower the buttonhole lever and sew buttonhole.
Machine will sew the buttonhole in the order as shown and stop automatically after sewing.
- Press the thread cutter button and raise the presser foot to remove the fabric.

- Carefully cut through the center of buttonhole to within 3 mm of each end. Cut diagonally to each corner as shown.
Remove the basting.
- Draw the patch through the opening to the underside.

- Turn the fabric and pull the patch through the buttonhole rectangle.

Press the patch.- c. Wrong side of fabric
- d. Right side of patch
- Turn the patch and press the side seam allowance.

- Fold each side of the patch to form pleats that meet at the center of the buttonhole and cover the opening. Press the patch.

- Turn the fabric to right side and baste along the center of each fold.
- a. Right side of fabric

- a. Right side of fabric
- Fold the fabric and stitch along the seams on each side, just a needle width from the original stitching line. Remove the basting.
- c. Wrong side of fabric

- c. Wrong side of fabric
- Fold the fabric along the buttonhole end and stitch triangular ends on the original stitching line.

- Press and trim the patch to within 5 mm of the stitching.
- a. Right side of fabric

- c. Wrong side of fabric

- a. Right side of fabric
NOTE: When sewing weaker fabric, reinforce buttonhole area. Cut a patch of fusible interfacing 3 cm wider and 2 cm longer than the buttonhole. Fuse to wrong side over each buttonhole marking.
EYELET
This stitch pattern is used for making belt holes and other similar applications.
101 Eyelet
Satin Foot (B)
You can choose 3 sizes of eyelets by changing the stitch length.
- Place the fabric under the presser foot and lower the presser foot. Start the machine. Machine will sew the eyelet and stop automatically.

- Press the thread cutter button and raise the presser foot.

- Make a hole in the center of the eyelet.

Note: Eyelet punch is not provided with this machine.
AUTOMATIC BAR-TACK AND DARNING
You can sew automatic bar-tack and darning using the buttonhole foot.
No. 102 Bar-tack, to reinforce areas that will be subject to strain, such as pocket corners.
No.103 Darning, mending and other applications.
Buttonhole Foot (F)
- Adjust slide on base according to the length of bar-tack or darning.
a= Length of bar-tack or darning
- Pass upper thread through the hole of buttonhole foot and bring upper and bobbin threads to the left.

- Position fabric under presser foot so that the starting point comes depth side. Lower the foot.

- b. Sewing bar-tack on edge of thick fabric such as pocket, place same thickness fabric or cardboard beside the fabric.

- b. Sewing bar-tack on edge of thick fabric such as pocket, place same thickness fabric or cardboard beside the fabric.
- Lower the buttonhole lever completely.

Note: Machine will not start to sew if buttonhole lever is not lowered properly or buttonhole foot is not positioned correctly. - Hold upper thread lightly and start the machine.

- Machine will sew bar-tack or darning stitch as shown. Machine will stop automatically when the pattern is finished.

- Press the thread cutter button and raise the presser foot lifter to remove the fabric.

No. 13
Button Sewing Foot
- Lower the feed dogs by moving the drop feed lever to the left.

- Attach the button sewing foot. Align two holes of the button with slot of presser foot and lower foot to hold the button securely.

- Adjust the stitch width so that the needle enters the left hole of button.

- Turn hand wheel by hand so needle enters the second hole. You may need to adjust the stitch width again.

CAUTION: To prevent accidents. Make sure that the needle does not hit the button during sewing. Otherwise needle may break. - Sew approximately 10 stitches at slow speed.

- Raise the foot and cut the threads remaining about 10 cm to the fabric.

- Pull the end of bobbin thread and pull upper thread to the wrong side of fabric. Tie them together.

- After sewing, move the drop feed lever to the right.

Note:
To sew a 4-hole button, follow the procedure above for the first two holes. Then lift presser foot slightly and move fabric to permit stitching the other two holes, either independently, or crisscross over the first two holes.
A. Thread Shank
Buttons on coats and jackets should have a thread shank to make them stand away from the fabric. Insert a straight pin or sewing machine needle under the center slit of the foot from the front. Sew over the pin or needle.
Pull thread to back of button and wind around stitches to form a firm shank. Tie thread ends securely.
NARROW HEMMING
No. 1 Straight Stitch (Center Needle Position)
Rolled Hem Foot
- Fold edge of fabric over about 3 mm (1/8 inch), then fold it over again 3 mm for about 5 cm (2 inches) along edge of fabric.

- Insert needle into the fold by rotating the hand wheel toward you, and lower the presser foot. Sew several stitches and raise the presser foot. Insert fabric fold into spiral of rolled hem foot. Move fabric back and forth until the fold forms a scrolled shape.

- Lower the presser foot and start sewing slowly, while guiding raw edge of fabric scroll evenly into front of rolled hem foot.

CORDING
No. 9 Zigzag Stitch for Single Cording
No. 12 Multi Zigzag for Triple Cording
Cording Foot
A.SINGLE CORDING
- Set stitch pattern to No. 9. Insert the cord in the center groove of cording foot from the right side opening. Pull cord about 5 cm (2 inches) behind the foot.

- Adjust the stitch width so that the stitches are just cover the cord. Lower the foot and sew slowly, guiding the cord.

B.TRIPLE CORDING
Set the stitch pattern to No. 12 and set the stitch
width to 6.0-7.0.
Insert three cords into the slots of cording foot.
CONTINUOUS DECORATIVE PATTERN
Use the satin foot for continuous decorative stitch patterns.
This foot has a full indentation on the underside to easily allow closely spaced zigzag stitches and fabric to feed freely under foot.
No. 19-100
Satin foot (B)
To tailor the continuous decorative stitch pattern, you may adjust the length and width of pattern. Also you may change reverse or mirror stitch of pattern and elongate the pattern.
Experiment with fabric scraps until you get the desired length and width.
A.SEWING THIN FABRICS
When sewing thin fabrics, it is suggested that you use stabilizer on the backside of the fabric.
USING THE EVEN-FEED FOOT
The Even-feed foot accessory equalizes the feeding of the upper and lower layers of fabric and improves the matching of plaids, stripes, and patterns. This foot helps to prevent uneven feeding of very difficult fabrics.
No. 1, 2, or 9
Even-feed foot
A. ATTACHING THE EVEN-FEED FOOT
- Remove the presser foot and holder.

- The arm of even-feed foot should ride onto the shaft of the needle clamp screw.

- Slide the attaching head from your left to right so that it is fitted into the presser bar.

- Tighten the presser foot thumb screw.

B. SEWING
Hold both thread lightly at start of sewing and sew in slow (1/2) speed.
DARNING/FREE-HAND EMBROIDERY
No. 1.Center needle Position
Darning/Embroidery Foot
A.ATTACHING THE DARNING/ EMBROIDERY FOOT
- Lower the feed dogs by moving the drop feed lever to the left.

- Remove the presser foot and holder.

- The arm of darning/embroidery foot should ride onto the shaft of the needle clamp screw.

- Slide the plastic attaching head from your left to right so that it is fitted into the presser bar.

- Tighten the presser foot thumb screw.

B.DARNING
- Place fabric under foot and lower.

- Grasp fabric firmly in front and back of area to be darned. Operate machine, moving fabric by hand forward and backward with an even motion, stitching in closely spaced rows over the hole or worn area.

- When the area is filled with new stitches, move fabric from side to side in a similar manner to weave or reinforce the stitching.

- a. Note:Reinforce open areas with an underlay; baste underlay in place before darning.

- a. Note:Reinforce open areas with an underlay; baste underlay in place before darning.
C. FREE-HAND EMBROIDERY
- Outline the design for embroidery on the surface of the fabric.

- Place design to be embroidered between the two sections of embroidery hoop.

Note: Embroidery hoop is not included with this machine. - Set embroidery hoop under needle and lower the foot.

- Start the machine at medium speed, guiding hoop carefully so needle moves along line of the pattern.

D.After darning or free-hand embroidery
Raise the feed degs by moving the drop feed lever to the right.
TWIN NEEDLE SEWING
Interesting decorative stitches can be produced by using twin needles and threading the machine with two different colors of thread. Always make test samples to help you determine the settings best suited to a specific purpose.
All patterns except No. 101-116 may be sewn with a twin needle.
General Purpose Foot or Satin Foot (A, B)
Note:
A twin needle is not provided with this machine. Call for your Singer Dealer to purchase.
CAUTION: To prevent accidents.
- a. Use only needle designed for this machine (Singer Style 2025). Other needles may break.
- b. The needle threader cannot be used. Thread each needle eye by hand.
- Remove the single needle and insert twin needle.

- Thread the first thread as usual, following threading route.

- Thread the left needle eye by hand from front to back .
- Push the Auxiliary Spool Pin with felt washer into the hole.

- Place second spool of thread and thread second thread the same as first.
- For better sewing results, do not place the thread into the needle bar thread guide. Thread right needle eye by hand from front to back.
- Press the twin needle button. LCD will indicate twin needle mark and the stitch width will be reduced automatically.

CAUTION: To prevent accidents. If you did not switch to twin needle mode, needle may hit the needle plate and break. - Always test sew selected stitch,

Note: Some stitches look better than others sewn with a twin needle. - Sew project.
Twin needle mode will remain until you press the twin needle button again or turn off the machine.
Note:
Twin needle sewing may be used with decorative & letter stitch patterns by pressing twin needle button. Twin needle icon will appear on the LCD.
DECORATIVE & LETTER STITCH SEWING
You can combine decorative & letter stitches into a string by selecting each pattern.
A.SELECTING DECORATIVE & LETTER STITCH (selecting mode)
- Press the decorative & letter stitch button.
First 5 patterns of decorative patterns will be indicated on the lower line of LCD.
- By pressing the decorative & letter stitch button, selecting group will change as below.

- a. Decorative pattern
- b. Gothic letter stitch
- c. Script letter stitch
- d. Italic letter stitch
- e. Outline letter stitch
- f. Russian letter stitch
- After you select the group, press the scroll down button. Next 5 patterns of selected group will appear.
By pressing the scroll up or down button, you can scroll up or down in increments of 5 patterns.
- To select a pattern, press the function button directly under the indicated pattern.
Selected pattern will be indicated on the top left side of LCD.
- Using this same procedure, select the next patterns.
Patterns will appear at the top of the LCD in the order selected.
- As selected patterns over the indicating area, disappear from the screen, you can check them by pressing the cursor buttons.

NOTE: Machine can memorize a maximum of 60 patterns. You can combine the tack stitch by pressing the tack button. This is used for sewing a single combination of patterns.
B.SHIFTING THE CURSOR
Additional patterns may be added to the end of a string of combined patterns. Shift the “I” cursor over to the right, following the pattern string and then select new patterns.
By pressing the cursor buttons, cursor will shift left or right. The cursor position will be highlighted.
- a. Press the cursor left button”<“ and cursor will shift to the left.

- b. By pressing the cursor right “>” button, cursor will shift right.

- c. By pressing the far left cursor “I<” button, the first selected pattern will be highlighted.

- d. By pressing the far right cursor “I>” button, the cursor is moved to the right side of selected patterns.

The cursor is used to check selected patterns, insert patterns, delete patterns or editing of each pattern as described below.
If the settings of the highlighted pattern can be changed, it will be noted in the center line of the LCD.
C.TO CHECK SELECTED PATTERNS
As the length of the string increases, patterns will disappear from sight.
You can check patterns by shifting cursor to the left.

D. INSERTING PATTERN
- Machine will insert a pattern to the left of the highlighted letter or pattern.

- Using the cursor buttons, move the cursor to highlight the pattern just before the desired position for the new pattern. Select the pattern.

E. TO DELETE PATTERN
- Shift the cursor to the pattern you want to delete.

- Press the clear “C” button quickly (less than 0.5
sec.).
Machine will delete the pattern and cursor will shift to next pattern.
- a. When the cursor is at furthest right side,
machine will delete just before pattern.
- a. When the cursor is at furthest right side,
- If you want to delete all patterns, press and hold the clear “C” button (over 0.5 sec.).
Machine will delete all selected patterns.
F. EDITING OF EACH PATTERN
You can change the stitch width, length, mirror/ reverse stitch and elongation of each pattern. And you can change the thread tension of selected all patterns
- Press the EDIT button.
LCD will change to the editing mode. - As you shift the cursor, the setting of each pattern will be indicated.
- By pressing each function button, you can change setting as below a-d.
- After you have completed the editing, press the return button (F1) or EDIT button.
Machine will return to selecting mode.
Note:
Letter stitches cannot change settings. (except for thread tension).
a. Mirror / Reverse stitch
Press the function button (F2) directly under mirror/reverse icon, stitch will change alternately or in rotation.
The descriptions of the mirror/reverse icons are below.
a1. Regular stitch (normal stitch)
a2. Mirror stitch (flips from left to right)
a3. Reverse stitch (reverse front and back)
a4. Mirror and Reverse stitch, pattern will flip from left to right and from front to back.
If symbol is not indicated, its pattern cannot change (mirror/reverse stitch).
b. Elongation
By pressing the function button (F3) directly under the elongation mark, stitch will elongate five different sizes. (b1-b5).
If symbol is not indicated, its pattern cannot elongate.
c. Setting the stitch width and length
Machine will pre-set the stitch width and length suitable for the pattern.
- You can make changes by pressing the function button (F4) directly under the witdh and length mark.

- For narrower width, press function button F2 (–).
For wider width, press function button F3 (+).
For shorter length, press function button F4 (–).
For longer length, press function button F5 (+).
Pre-set stitch width and length will be indicated as a highlighted number.
You can change the width and length of other patterns by shifting the position of the cursor.
By pressing the return button (F1), machine will
return to editing mode.
By pressing EDIT button, machine will return to selecting mode.
d. Setting the thread tension
By pressing the function button (F5) directly under the tension mark, LCD will indicate the tension mode.
This setting will change the thread tension of all combined patterns.

To increase the upper thread tension, press function button F5 (+).
To decrease the upper thread tension, press function button F4 (–).
Pre-set tension number is highlighted.
By pressing the function F3 (AUTO) button, thread tension will return to pre-set.
By pressing the return button (F1), machine will return to editing mode.
By pressing EDIT button, machine will return to selecting mode.
Note:
If you press the clear “C” button at editing mode, highlighted pattern will be deleted.
G. TO RECALL THE SELECTED PATTERNS
If you change the pattern to utility stitch, machine will retain the combination of patterns until the machine is turned off.
To recall these patterns, press the decorative & letter stitch button. Machine will recall the selected patterns. (Thread tension will return to pre-set.)
To delete all patterns, press and hold the clear “C” button for a long time.
H. SEWING THE SELECTED PATTERNS
- a. Single sewing
You can combine the tack stitch by pressing the tack button at selecting mode.
When you combined the tack stitch or letter stitch at the end of pattern, machine will stop automatically after sewing selected patterns.
- b. Repeat sewing
The pattern combination will sew repeatedly without combining the tack stitch at the end of the pattern sequence.
SEWING
- Attach the satin foot when sewing decorative & letter stitch.

- Machine will start sewing from highlighted pattern. You must shift the cursor to the pattern you where you wish to start sewing.
(When the “I” mark cursor is indicated on the right side of selected patterns, machine will start from first pattern.)
- Lower the presser foot and start sewing. Machine will indicate the sewing pattern on the top left side of LCD.

I. TO SEW PATTERN FROM BEGINNING
- a. When you stop sewing at the middle of selected patterns, LCD will indicate the setting of sewing pattern and the arrow mark “
“ on the second line.
This mark is meaning that sewing is interrupted. You can continue sewing by starting the machine again.
- b. When you stopped sewing at the middle of selected patterns, and If you have raised the presser foot lifter, the arrow mark will change to
”
“, In this time, when you start sewing again, machine will sew from the beginning of interrupted pattern.
- c. If you want to sew from the beginning of all patterns, shift the cursor by using the cursor buttons. (Arrow icon will disappear)

DECORATIVE AND LETTER STITCH CHART
The decorative patterns in bold print are one unit of the stitch pattern.
Description of Chart Symbols:
Mirror Stitch included
Reverse Stitch included
Mirror and Reverse stitch included- X5 Elongation included

ADJUSTING THE FORWARD AND REVERSE STITCHES
Depending on the type of fabric you sew, it may be necessary to adjust the forward and reverse stitches.
The adjustment is needed when the decorative or letter stitch is distorted.
Turn screw which is located bottom of the machine in either direction as may be required.
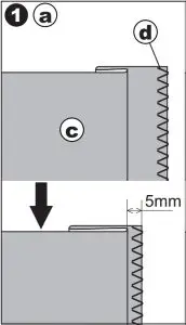
DECORATIVE STITCH PATTERN
- If patterns are distorted as illustration (a), turn screw in direction of symbol (+).
- If patterns are distorted as illustration (b), turn screw in direction of symbol (–).
LETTER STITCH PATTERN
- If patterns are distorted as illustration (c), turn screw in direction of symbol (+).
- If patterns are distorted as illustration (d), turn screw in direction of symbol (–).
MAINTENANCE
DANGER: To reduce the risk of electric shock. Disconnect the power line plug from electric outlet before carrying out any maintenance.
CLEANING
If lint and bits of thread accumulate in the hook, this will interfere with the smooth operation of the machine. Check regularly and clean the stitching mechanism when need.
A.Bobbin Holder
Remove the bobbin cover and bobbin.
Clean the bobbin holder with a brush.
B.Hook Race and Feed Dog
- Remove the needle, presser foot and holder.
Remove the bobbin cover and bobbin. Remove the screws holding the needle plate.
- Remove the needle plate by lifting up the right side of the plate.

- Lift up the bobbin holder and remove it.

- Clean the hook race, feed dogs and bobbin holder with a brush. Also clean them, using a soft, dry cloth.

- Replace the bobbin holder into the hook race so that the tip (a) fits to the stopper (b) as shown.

- Replace the needle plate inserting the hook into the machine.Replace the screws and tighten.

Note:
- An LED lamp is used to illuminate the stitching area. It does not require replacement. In the unlikely event it does not light, call your dealer for service.
- There is no need to lubricate this machine.
Messages on LCD
- Winding the bobbin.

- Lower the buttonhole lever.

- After sewing buttonhole, raise the presser foot lifter and set the frame of buttonhole foot to starting position.

- Release the foot controller pedal.

- Lower the presser foot.

- Machine cannot memory any more.

- Select a pattern.

- Release the reverse button.

- Release the start/stop button.

- Rethread the upper thread.

- Foot controller is connected.

- Release the needle up-down / slow button.

- Release the thread cutter button.

- Turn off the power switch.

HELPFUL HINTS
PROBLEM | CAUSE | CORRECTION |
Upper thread breaks |
|
|
Lower thread breaks |
|
|
Machine skips stitches |
|
|
Fabric puckers |
|
|
Machine makes loose stitches or loops |
|
|
Stitch pattern is distorted |
|
|
Threader does not thread needle eye |
|
|
Machine does not feed properly |
|
|
Needle breaks |
|
|
Machine runs with difficulty |
|
|
Machine will not run |
|
|
FAQS
Th 9960 has several stitces that sew a seam and overcast the edge at the same time. To complete the look of a serged seam you would need to attach the side-cutter. This attacment is not part o the standard accessories however and would need to be purchased separately.
The latest answer from yesterday by “susan0624” is right.
The return policy is 30 days from what Amazon told me….but if you buy from Amazon they also said you only get a 1 year warranty from Singer.
The SINGER 9960 Quantum Stylist sewing machine comes with a hard dust cover which fits over the top of the machine. You use the machine’s handle to carry the machine when the cover is on the machine. The manual can also be stored in the front cover compartment of the dust cover.
This machine comes with an attachment for sewing shanks on buttons, but it can also be used for the high pile created by the thick seams on jeans. This accessory is also called a hump jumper. Check out U-Tube videos on easy methods of sewing & hemming jeans.
This is a low shank machine and arrived with the adapter installed which allows use with snap on presser feet.
Yes it does.
There is a long one on each side, three smaller ones in the rear and to mini ones in the front. The machine feeds all kinds of fabric beautifully.
you can do free motion sewing on it. It does not have the stipling stich programed.
After moving the feed dog lever back to the left you then must rotate the handwheel toward you one complete turn to finish raising the feed. You may hear them click in place.
Yes. With the push of a button. Needle always stops down and you raise it with a button. You can use the button or the wheel to lower the needle. Very convenient feature.
If you have the proper plugs to change the current from 220 to 110 then you would be able to use it, however if you do not have the right connections, the machine will not work and you could do damage to the machine.
It will hold both spools. Try viewing the Singer 9960 twin needle tutorial on YouTube–video #9. You can learn a lot by viewing the videos!
The SINGER 9960 Quantum Stylist sewing machine has a selection of stitches that can be used to sew a seam and seam finish simultaneously, for both woven (non-stretch) and stretch knit fabrics. After sewing, you would simply trim away excess seam allowance with scissors. The machine does not cut the excess seam allowance while stitching, as a serger does. You could, however, add an optional Side Cutter attachment to the SINGER 9960 sewing machine, which would allow you to trim away excess seam allowance as you sew. This attachment is available on Amazon, here:
http://www.amazon.com/SINGER-Attachment-Low-Shank-Sewing-Machines/dp/B00G6TW7ZK/ref=sr_1_1?ie=UTF8&qid=1436196615&sr=8-1&keywords=singer+side+cutter
No. The Singer Quantum Stylist model 9960 sewing machine isn’t a sewing machine with programmable embroidery capabilities. The Singer Quantum Stylist model 9960 sewing machine is capable of Free Motion Embroidery. You can purchase a hand embroidery hoop to make free motion embroidery easier. For more information regarding Free motion Embroidery please email us at: [email protected] or call our Customer Service line at 1-800-474-6437 and one of our Customer Care representatives will be happy to assist you. Our Customer Care line is open from 8:00 AM – 8:00 PM CST, Monday to Friday and Saturday from 8:00 AM till 2:00 PM CST.
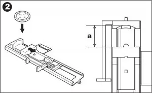
The measurements of the “arch area” of the Singer model 9960 are as follows: – from needle to machine tower is approximately 6 3/8 inches and the interior height at the neck is approximately 4 inches tall.
The throat/harp is 9″. The retention table adds 7″ more from the left edge to the left side of the metal plate.
Absolutely! The fancy stitches are fun, but it excels as an all-purpose sewing machine, as well. Very easy to thread and to use. There are quite a few youtube videos on this machine that you might find useful.
Yes, Although it is more expensive It can be purchased from Costco.
VIDEO
Singer Quantum Stylist 9960 Sewing Machine User Manual – Optimized PDF
Singer Quantum Stylist 9960 Sewing Machine User Manual – Original PDF


























































































































































































































































































































