
Reversible Return Shell
69387/69421/69979, 69388/69422/69980, 69389/69423/34400
69554/69555/18215/18216/69594/18263
Assembly Instructions

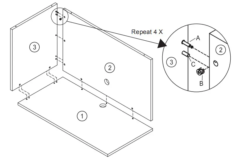
STEP 1
These instructions detail if the return is to be positioned on the right side if you are sitting at the desk. If you wish for the return to be positioned on the left, you will need to reverse the position of the items accordingly

Insert three additional cam locks and cams in the additional positions provided. (Two in the underside of the work surface and back panel and one additional in the side and back panels)
IMPORTANT:

STEP 2


It is easier to install two of the flat brackets to the assembled desk unit first rather than the returned unit. This allows for easier installation of the returned unit. After securing the returned unit to the desk unit top, install the additional third flat back to the back panel of the returned unit and desk leg.
Secure all brackets with four screws in each.
Once the returned unit has been properly installed, cover all exposed Klix Cams with the Stickers provided.
STEP 3

IMPORTANT NOTE:
- Place all laminated parts on a clean and smooth surface such as a rug or carpet to avoid the parts from being scratched.
- Check to make sure that you have all parts and hardware.
- Remove all wrapping materials, including staples and packaging straps before your start to assemble
- Do not tighten all screws/bolts until pieces are completely assembled.
- Keep all hardware parts out of children’s reach.
- It is recommended for 2 persons to complete this assembly.

Instructions
CALL US FIRST! DO NOT RETURN TO THE STORE.
For immediate help with assembly or product information call our toll-free number: 1-888-598-7316 Mon. – Fri. 7am to 7 pm CST
Our staff is ready to provide assistance. Damaged or missing parts ship from our facility in 1-2 business days.
Please provide the following information:
- Full Name
- Physical Address – do not include P.O. Box as our carriers cannot deliver to P.O. Boxes
- Phone Number
- Model Number
- Part Number
- Invoice #
- Date of Purchase
Note: Our policy is to send all parts requests via normal ground transportation. If your requirements are to have these parts via overnight/next day, please provide your designated carrier and account number. Replacement panels are not available. If any damage has occurred during shipment please return the entire unit to the place of purchase for credit and replacement. The original invoice may be required.
Before you begin:
Open, identify and count all parts prior to assembly. Layout the parts on a non-abrasive surface such as carpet or blanket.

















