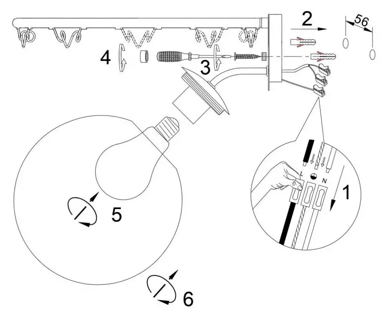
7242 Basketball Wall Lamp white
Instruction Manual
7242 Basketball Wall Lamp white
Assembly Instructions
| E27 MAX 20W LED / NO INCL. 100-240V- 50/60Hz | |
| REF: 7242/7243/7244 |


7242 Basketball Wall Lamp white
Instruction Manual
Assembly Instructions
| E27 MAX 20W LED / NO INCL. 100-240V- 50/60Hz | |
| REF: 7242/7243/7244 |


Download manual
Here you can download full pdf version of manual, it may contain additional safety instructions, warranty information, FCC rules, etc.