
SS-331 LCD Desoldering Station





User’s Manual
1st Edition,
©2016 Copyright by Prokit’s Industries Co., Ltd.
Description
SS‐331 designed for lead-free desoldering especially. The quick heating and strong power are for convenient and clear soldering/desoldering of all types of DIP components. Reasonable structure, single-hand operation, and strong absorbing power can be easy removal of the residual solder from the one‐sided or two-sided of the PCB. This tool is used in the fields of electronic research, teaching, and production, especially in the repairing and desoldering of electronic appliances and communication equipment.
1. Control Unit
The desoldering iron gun is controlled automatically by the microprocessor. The digital control electronics and high‐quality sensor and heat exchange system guarantee precise temperature control at the soldering tip. The highest degree of temperature precision and optimal dynamic thermal behavior under load conditions is obtained by the quick and accurate recording of the measured values in a closed control circuit, and this design is especially for the lead‐free production techniques.
2. Desoldering Iron gun (5SS‐331N‐DG)
Desoldering iron gun with a power of 70W and a wide spectrum of soldering tips can be used anywhere in the electronics field.
The high power and gun-type design make this iron gun suitable for fine desoldering work. The heating element is made of ceramic and the sensor on the desoldering tip can control the desoldering temperature quickly and accurately.
Technical Specification

Operating Instruction
- Place the desoldering iron gun in the holder separately. Then connect the plug to the receptacle on the station and turn clockwise to tighten the plug nut. Check that the power supply is corresponding to the specification on the type plate and the power switch is on the “OFF” position. Connect the control unit to the power supply and switch on the power. then a self-fest is carried out in which all display elements are switched on briefly. The electronic system then switches on automatically to the set temperature and display this and the temperature setting
- The display and temperature setting

①. Shows the actual temperature of the desoldering tip.
②. Shows the setting temperature: Pressing the “UP” or “DOWN” button can switch the digital display to the setpoint display. The set‐point can be changed for ±1℃ by tapping the “UP” or “DOWN” button. Pressing the button will change the set‐point quickly. The digital display will return automatically to the actual value and the iron will reach the setting temperature quickly.
③. ℃/℉ display: Switching the temperature display from ℃ to ℉ by pressing the “ * ”button and then the electronic system will display the actual temperature ① and setting temperature ② in ℉, and vice versa.
④. When the actual temperature on the desoldering tip is less than the set‐point, “HEAT ON” will display and make the desoldering tip heating up.
⑤. When the absolute offset is more than ±10℃ between the actual temperature and the set‐point on the desoldering tip or the nozzle, “WAIT” will display. It means that the temperature electronic control system is not in a stable situation, we should wait a moment to let the “WAIT” disappear.
⑥. When “‐‐‐‐‐” & “ERROR” display, there may be trouble on the system or the desoldering iron gun is not connected to the control system correctly.
Safety Instruction
- The manufacturer assumes no liability for uses other than those described in the operating instructions or for unauthorized alterations.
- The operating instructions and cautions should be read carefully and kept in an easily visible location in the vicinity of the control system. Non‐observance of the cautions will result in accidents, injury or risks to health.
Caution
1. The power cord only can be inserted in approved power sockets or adapters.
2. High Temperature
The temperature of the desoldering tip will reach as high as around 400℃ (752℉ when the power switch is on. Since mishandling may lead to burns and fire, be sure to comply with the following precautions:
A. Do not touch metallic parts near the desoldering tip/ nozzle.
B. Do not use this system near flammable items.
C. Advise other people in the work area that the unit can reach a very high temperature and should be considered potentially dangerous.
D. Turn off the power switch while taking breaks and when finishing using.
E. Before replacing parts or storing the system, turn off the power and let it cool down to room temperature.
F. Warning: this tool must be placed on its stand when not in use.
G. A fire may result if the appliance is not used with care, therefore:
a) Be careful when using the appliance in places where there is a combustible material.
b) Do not apply to the same place for a long time.
c) Do not use in presence of an explosive atmosphere.
d) Be aware heat may be conducted to combustible materials that out of sight.
e) Place the appliance on its stand after use and allow it to cool down before storage.
f) Do not leave the appliance unattended when it is switched on.
3. Take care of your tools
Do not use the tools for any applications other than desoldering.
Do not rap the iron against the workbench or otherwise subject the iron to severe shocks.
Do not file the desoldering tip to remove the oxide, please wipe the tip on the cleaning sponge.
Use only accessories or attachments which are listed in the operation manual. The use of other tools and other accessories can lead to a danger of injury.
Please turn off the power before connecting or disconnecting the desoldering iron gun.
4. Maintenance
4.1 Before further use, safety devices or slightly damaged parts must be carefully checked for the error‐free and intended operation.
4.2 Inspect moving parts for error‐free operation and that they don’t bind, or whether any parts are damaged.
4.3 Damaged safety devices and parts must be repaired or replaced by a qualified technician, so long as nothing else is indicated in the operation manual.
4.4 Use only accessories or attachments which are listed in the operation manual. The use of other tools and other accessories can lead to a danger of injury.
5. Keep children at a distance
Warning: This appliance is not intended for use by young children and infirm persons unless they have been adequately supervised by a responsible person to ensure that they can use the appliance safely. Warning: Young children should be supervised to ensure that they do not play with the appliance.
The unused desoldering station should be stored in a dry location that is out of the reach of children. Switch off all unused desoldering stations.
6. Protect yourself against electrical shocks
Avoid touching grounded parts with your body, e.g. pipes, heating radiators, and so on. The grip of the antistatic designed desoldering tool is conductive.
7. Work environment
Do not use the desoldering station in a moist or wet environment. The desoldering iron gun should be placed on the holder after finished use.
8 Observe the valid safety regulations at your workplace.
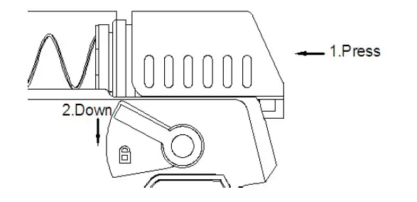
Remove solder waste:
1. Pull the back holder, then the knob will bullet up and become unlocked automatically.

2. Take the spring out from the glass tube ,then remove the solder waste

3. Put the spring back to glass tube, then put glass tube back to position. Press the back holder, then the knob will bullet down and become locked automatically.


PROKIT’S INDUSTRIES CO., LTD.
http://www.prokits.com.tw
E-mail:[email protected]
©2016Prokit’s Industries Co., LTD. All rights reserved 201601(C)
Pro’sKit SS-331 LCD Desoldering Station User Manual – Optimized PDF
Pro’sKit SS-331 LCD Desoldering Station User Manual – Original PDF




















