COMPONENTS 09215 Experimental Gliding Parachute
Instructions
Skill Level 5
Advanced Skills Needed
Congratulations on the purchase of your new steerable parachute system! This system will allow you to better control where your rocket lands by using an “expert” controller. The expert controller is “you” in RC mode!
What makes this “Experimental?” The reason we at Apogee classify it as experimental is because it is so new and novel that we haven’t characterized and figured out all the nuances of it.
You are part of our product development team, and we need your help on how to best use this product. For example, you’ll probably have questions on what could be done to trim it better, or make it turn easier. We don’t have the additional answers that you want to know to be fully successful. You have to take this into account when using this product. It is up to you to experiment on your own and see what enhancements you might come up with. But please share those experiences with us, so that we can share them with others.
Experimental Gliding Parachute Instructions
| Item # | Item Name | Qty |
| 9215 | NIMH 2/3AAA 4.8v 300mah Battery | 1 |
| 9216 | USB NIMH Battery Charger | 1 |
| 9244 | Servo | 1 |
| 9247 | Switch with JR 2.54mm | 1 |
| 10169 | AT-56/4.25” Clear Tube | 1 |
| 12980 | 6-32 x 3/8 Thumb Screw | 1 |
| 12985 | M2-.04×8 Pan Phillips Machine Screw | 2 |
| 13066 | 18-8 for Gliding Parachute Switches | 1 |
| 13120 | Weld Nut | 2 |
| 14266 | AC-56 Coupler Bulkhead Stops | 1 |
| 14267 | Plastic Grommet for the Gliding Parachute | 1 |
| 14268 | Velcro Strip – Hook | 1 |
| 14513 | Velcro Strip – Loop | 1 |
| 15414 | Ball Bearing Swivel 220# | 1 |
| 15424 | Gliding Parachute Fiberglass Ebay Sled | 1 |
| 15425 | Gliding Parachute Ebay Bulkhead Sheet 1/8” Ply Gliding Parachute Servo Platform 1/4” Ply | 2 |
| Nylon Gliding Parachute, Spreader, and FishingSwivel Pack: 24” Parachute Sub-Pack – P/N 29290 28” Parachute Sub-Pack – P/N 29291 32” Parachute Sub-Pack – P/N 29292 | 1 | |
| 29518 | 100# Kevlar x 5 feet | 1 |
| 29523 | 300# Kevlar X 12 inches | 1 |
| 29618 | Quick Link 1/8” (single) | 1 |
| 30941 | Gliding Parachute Instruction Booklet | 1 |
Additional Equipment Needed – Not Included
- RC Transmitter
- RC Receiver that will connect with JST style connectors
- Rocket kit (minimum 2.6in/66mm in diameter)
Required Tools
- Thin cyanoacrylate (CA) glue
- Thick cyanoacrylate (CA) glue
- 1/16” drill bit and hand drill
- Sharp scissors
- Felt-tip marker
- Small phillips screw drivers
- Dremel tool with cut-off wheel
- Flat metal file
- 220 grit sandpaper
- ¼” Wooden Dowel
- Measuring Tape or Ruler
- Pencil
- Hobby Knife
- Cellophane tape
- Masking tape
- Estes Wadding
How Does this Work Compared to Regular Parachutes?
There are many variables that a parachute system must deal with in safely landing your rocket. Parachutes are designed to be configured as shown below.
Above we have a parachute, cords of a specific length and a mass that is to be lowered. In this system, the mass is always a known distance below the parachute and mostly centered. When a parachute is applied to a rocket, there are more factors that enter into the system.
Here we can see that the mass of the system is now spread out between the mass of the airframe and nose cone. This new mass and the associated surface areas will be affected by wind and turning and often end up swinging, causing the parachute to pitch and roll making straight line flight very tricky. Nonetheless, even with this new swinging mass, the system can be controlled with a parachute that is properly set up, and has some steering capability.
In order to add a steering control to the parachute system shown in Figure 1 and end up with a stable and controllable result, several things must be considered. The main consideration is, “What happens to the parachute cord lengths and how do we handle the changes introduced by adding the control.” If the original mass location is changed, so too must the cord lengths. However, changing the cord lengths is not that simple on high performance parachutes as these cord lengths greatly affect the dynamics of the parachute flight itself. In order to add the controller without changing the parachute cord lengths, some tricks are employed in a steerable parachute control system.
First, a “spreader” is added in the location where the cords come together. This spreader is used for many things including holding the parachute cords at about the same cord confluence of the original system, thus making it unnecessary to change the parachute cord lengths. The spreader also transforms the parachute cord forces from the parachute shape into a usable geometry for the controller, i.e. a square or hexagon. The spreader also greatly helps keep the riser lines from twisting upon parachute deployment.
Risers are then added below the spreader to connect the parachute to the controller.
Finally, since there is an airframe hanging below the controller, it is extremely important to have a very low friction bearing connecting the controller to the airframe and the nose cone. This bearing needs to be a high quality thrust bearing or ball bearing swivel to prevent the airframe from twisting up the risers and parachute when the parachute is flying, as the nose cone and airframe will usually be spinning all over the place.
Selecting the Proper Gliding Parachute Size
Selecting the proper size gliding parachute, for given wind and flying conditions, will take a little experience to figure out. The following table* will help guide in what size parachutes can be used for a given rocket liftoff weight:
| Chute Size | Area (in^2) | Min. Weight (g) | Max Weight (g) |
| 24 | 553 | 250 | 500 |
| 28 | 752 | 500 | 1000 |
| 32 | 1109 | 1000 | 1500 |
*See the updated table on the Apogee website, as it may have changed.
If the parachute is too small for a given rocket weight, the rocket will come down too fast and may get damaged; however a smaller parachute will provide more forward speed and will penetrate the wind better. Too large of a parachute will result in a very slow descent that may fly away if windy conditions exist.
Before You Begin Assembly
You should bench test your electronics before you begin the assembly of the ebay controller. Once the server is installed into the cut-out on the fiberglass board, it is very difficult to remove, should it not work.
Hook up the RC system to verify movement of the servo when it is connected to your RC receiver when the battery and servo are also connected. See the manual of your RC system for instructions on how to hook up and test your electronic equipment.
Controller Assembly
- Remove all the plywood pieces from the laser cut sheet.
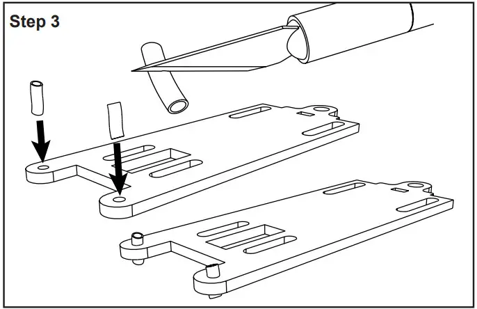
- Use the two bulkhead pieces to push the red coupler bulkhead stop rings into the clear tube, one on each side. The edges of the plywood bulkhead disks and the clear tube should be flush. Then remove the plywood bulkhead disks. Wick thin CA adhesive around the edges of the red rings to glue them to the clear bulkhead tube.

- Cut the grommet (small black tube) in half with a hobby knife. Insert one piece into each of the holes on the fiberglass ebay sled plate as shown. Wick some thin CA adhesive around the perimeter to lock them in place.

- When the CA adhesive is hard, cut the tubes flush with the surface of the fiberglass plate with a hobby knife.

- Glue the plywood disk with the two slots onto the end of the fiberglass sled using CA glue. Make sure it is perpendicular to the plate. You can put a small fillet of epoxy on the edges if you want.
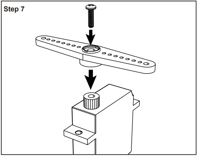
- In order to get the maximum amount of steering, it is important to use as long of a servo arm as possible. Most servos come with several arms to offer the most flexibility. Select the servo arm that is the greatest in length. Using a 1/16th inch drill bit, enlarge the outermost hole on each side of the servo control-arm
Note: If the arm is extra-long and will not fit into the servo bay, it may be shortened by sawing or cutting off the excess.
- Using the small screw provided in the servo, attach the control arm to the servo.

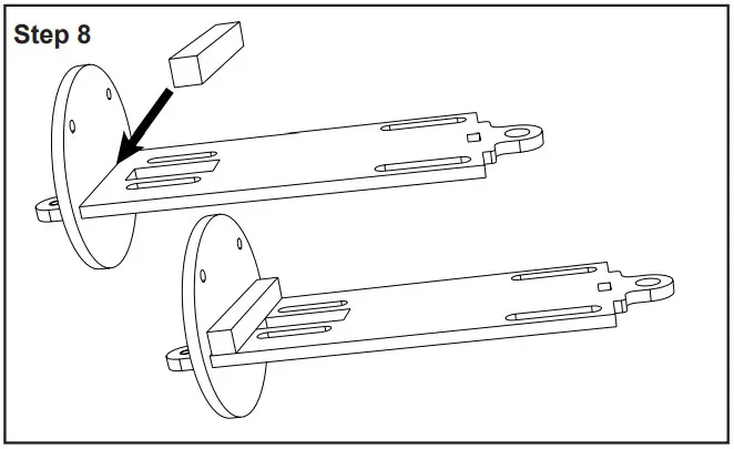
- On the Ebay sled, using medium or thick viscosity CA adhesive, bond one of the plywood spacers in the corner edge, up against the plywood disk and the fiberglass sheet.

- The servo and the second plywood spacer have to be installed at the same time because of the tight fit of the servo in the rectangular slot. Make sure the control arm of the servo is on the far side away from the plywood disk as shown. Slide the servo through the slot until it cannot go any further. Use CA adhesive to bond the plywood spacer to the fiberglass sheet behind the servo.

- There are small wood screws with the servo. Use them to securely mount the servo to the two plywood spacers. You may need to drill some small pilot holes to make it easier to insert the screws fully.

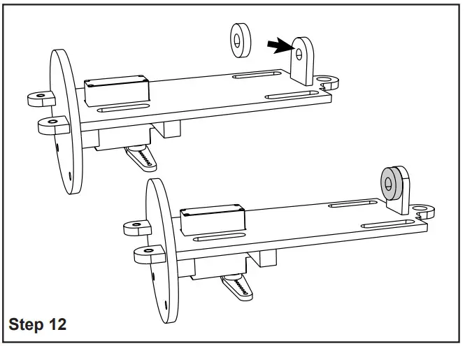
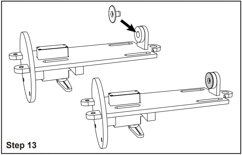
- Flip the assembly over, and glue the half-round support piece in the slot on the other end of the fiberglass sheet using CA adhesive. Make sure it is on the opposite side as the servo control arm as shown.

- Glue the small wood disk to the inside surface of the half-round support using CA adhesive. Make sure the two holes are lined up.

- Glue the metal weld nut to the small wood disk using thick CA adhesive.

- The battery and the receiver (not included) can be attached to opposite sides of the fiberglass sheet using the strips of velcro. Cut the velcro to size as needed. Use the cut-out slots on the fiberglass sheet to pass the electrical wires from one side to the other as necessary.

- Attach the on/off switch to the remaining bulkhead disk with the small screws as shown. Note: A set of longer screws have also been included if you want more engagement of the threads into the switch body.

- Glue the small plywood strip next to the switch to create a bumper that makes it harder to accidentally change the switch position. This is called the bumper strip.

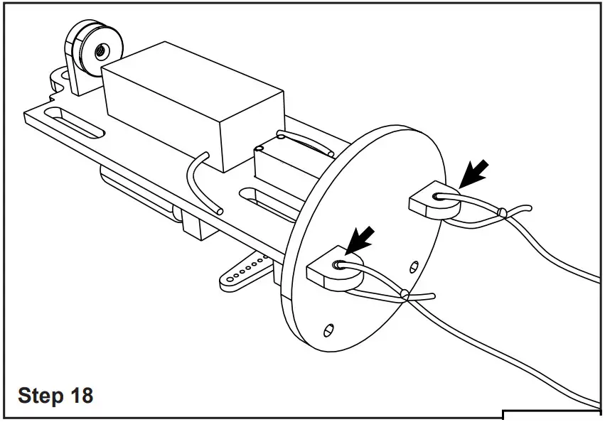
- Measure 12 inches of the skinny Kevlar line (100lb) provided and place a small amount of thin CA glue on the line at the spot. This will create a hard section in the string and prevent it from fraying when cut. Using a sharp hobby knife, cut the line in the center of the glue section. Make the cut at an angle to help in threading it through the servo arm and eyelets. Repeat the process to make another 12 inch long line.

- Thread the two lines through the small eyelets that protrude through the bulkhead disk on the base of the controller. Tie the ends tight so the knot can’t move. These two pieces of kevlar are the “fixed support lines.”

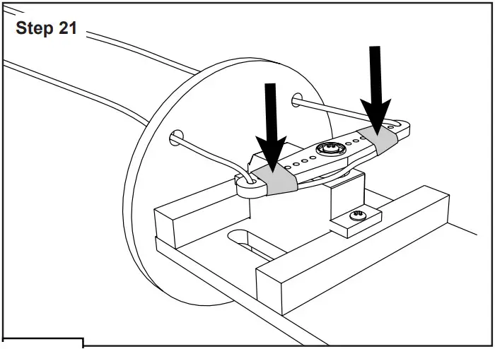
- Fold the remaining piece of the thin 100# kevlar in half, and mark the midpoint with a felt-tip marker. Tie two knots near the middle of the kevlar that are the distance of the outermost holes in the control arm of the servo as shown. The knots should be big enough so that they can’t be pulled through the holes in the servo arm.

- Thread the ends of this kevlar line up from the bottom, through the servo arm so the knots are on the underside of the arm when it is installed onto the servo. Then thread the ends of the kevlar through the two holes on the fixed bulkhead as shown.

- Adjust the knots so there is no slack in the Kevlar line between the knots on the servo arm. Then wrap some strips of masking tape over the kevlar to further prevent them from sliding around. These two lines are the “steering control lines.”

- Using pliers and a Dremel tool with a cut-off wheel, remove the excess length of the swivel locking features. Cut them as short as possible while retaining a small length to allow the lock feature to still function. Note: The wire the swivel is made of is hardened spring steel and will require a cut-off wheel to remove the extra length. Trying nippers, pliers, or other cutters will just result in damage to the tool.

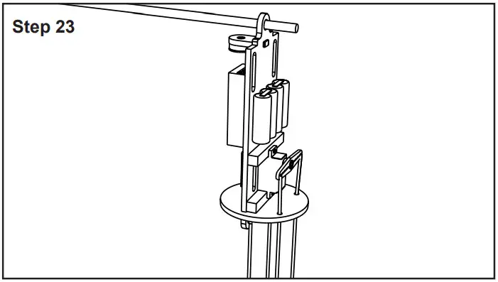
- Put a dowel through the upper loop on the fiberglass ebay board so you can suspend the board vertically by hanging the assembly off the edge of a table. You want to let the four Kevlar lines hang down freely from the edge of a table.

- Tie one swivel on each of the free ends of the two fixed kevlar lines (tied to the eyelets) using a single half hitch. Using a single knot will allow the lines to be adjusted.

- Make these two fixed support lines (the ones NOT connected to the servo arm) the same exact length. The overall length can be between 10 to 12 inches, but it is very important that they both have the EXACT same length. Take some time in adjusting the line lengths as they have a big effect on the parachute performance and turning. You will want them exactly the same length.
- The servo can be centered for adjusting the lines by simply turning the RC receiver on. The RC receiver will center the servo upon power up. Don’t worry if the servo arm is not exactly straight after centering. Sometimes the splines are slightly off, however, this will not be a problem.

- Adjust the two steering lines to be the exact same length, but around 1/4” longer than the fixed support lines. The steering control lines are the two lines connected to the servo arm.
- Once all four Kevlar riser line lengths have been adjusted, tie a second half hitch in each line to lock the swivel in place. Do this carefully so as not to change the line length.
- Tape the free end of each line with cellophane tape so that they won’t easily snag other lines during deployment.

- The assembly may now be fitted with the spreader and parachute in the next steps.
Chute Lines and Rigging
For the double-keel parachute supplied with your kit, the parachute lines are numbered as shown below for both the 24”, and the 28”/32” parachutes. The 24” parachutes have one less line on each section. The parachute lines are numbered with the parachute lying flat and its top side down with the suspension lines facing upward. There are two of each number (two A1, two B1, etc), one on each side of the parachute.
The suspension line attachment to the spreader and riser lines coming from the controller is typically configured as follows:
Support lines for 24”: A1, A2, A3, A4, A5, A6 & B1, B2
Steering Lines for 24”: B3, B4, A7
Support lines for 28” and 32”: A1, A2, A3, A4, A5, A6, A7 & B1, B2, B3
Steering Lines for 28” and 32”: B4, B5, A8Optional Information:
The line configuration can be varied, if you want. For example, A8 may be moved back with the support lines and removed from the steering line groups. The result will be slightly faster turns. Alternatively, connecting A8 to the steering line bundle will result in a slight pitch feed forward effect, making the parachute more stable.
In order to string the parachute to the spreader and swivels, lay the parachute on its top so all the lines are visible. Place the controller at the back of the parachute with the yellow kevlar lines facing the parachute. Lay the controller so that the steering control lines (tied to the servo arm) are down and the fixed support lines (tied to the eyelets) are on the top of the controller. Also, lay the spreader next to the kevlar lines. The side of the fabric on the surface of the work table is now designated as the “top” of the spreader.

- It is usually best to keep all the swivels closed until it is time to install the parachute lines and spreader onto them. The hooks will tend to catch on things if left open. Once the parachute components are laid out, open the steering line swivel hook labeled #1 in the image and connect looped ends of the left-side B3 and B4 lines plus the A7 (substitute B4 and B5 lines plus the A8 if using the 28-inch or 32-inch canopy), onto the hook from the respective parachute side. Then, connect it to the spreader grommet labeled #1 in the image by passing the hook through the grommet from the top of the spreader. Always pass the hooks through the spreader grommets from the spreader top.
- Repeat the above procedure for the other set of steering lines (labeled #2 in the image) and spreader grommet.
- Next, take the parachute support lines on the left side of the canopy and connect them to the #3 fixed support line hook. The order that the lines are passed onto the hooks is not important, however consistency is always good. A simple method is to connect the lines in an A7, A6, A5, A4, A3, A2, A1, B1, B2, B3 order. When all the lines are connected to the swivel, attach it to the #3 grommet on the parachute spreader. Again, pass the hook through the spreader grommet from the spreader top.
Finally, repeat the support line connect procedure on the right side of the parachute, and connect them to the #4 support line hook and the #4 grommet on the spreader. - Once all the lines and spreader have been connected to the swivel hooks and the spreader, hold the controller and pull the parachute through the air. Make sure no lines are crossed and the spreader is installed correctly. Once satisfied that all looks good, apply tape around the hooks to cover up the small edge left on the hook. It is important to cover everything that may catch on one of the parachute lines and foul the parachute.
- Thread the wires from the switch through the clear plastic tube, and connect the ends to the battery and the receiver. Push the fiberglass board through the tube. Route the excess wires into the tube and try to stow them where they will not interfere with the servo arm.

- Place the bulkhead with the switch into the tube, with the slot slipping over the tongue on the fiberglass board. Using the small thumb screw, attach the bulkhead to the controller. Then thread the quicklink through the hole on the tongue of the fiberglass board.

- Inspect the ball bearing swivel and notice that there is a larger solid body part and a smaller inside “rod” that actually turns inside the body. The rod end of the swivel will be placed onto the quicklink.This way the large outside body part will be the end that connects to the rocket shock cords, making it less important on how the rocket shock cords are attached to the parachute steering assembly. Attach the thick 300lb yellow kevlar shock cord to the rocket’s nose cone, and then to the free loop on the solid body part end of the swivel. The shock cord to the nose should be kept short – less than 6 inches long. Cut it as necessary after adjusting the length. You can attach the body tube’s shock cord to the swivel as well.

- When attaching the shock cords, try to keep the length of the cord to the nose cone short (less than 6”) to prevent the nose cone from getting tangled in the lines of the parachute. The length of the shock cord to the body tube should be 4-5 times the length of the rocket.
… Congratulations, your new steerable parachute is ready to attach to your rocket and fly!!!
Folding Your Gliding Parachute:
A Double-Keel Rogallo Parachute
Folding the parachute is critical to its successful deployment. These Rogallo type parachutes have more lines that can catch and snag during opening. Additionally, the chute’s shape promotes a very fast deployment, which jerks on the rocket’s parts causing them to snap back unexpectedly, and therefore they are more prone to get tangled in the canopy. You need to fold the chute in such a way to promote a slower and more controlled opening sequence.
If you have problems following these instructions, please visit ApogeeRockets.com/Gliding-Parachutes for a video on how to pack your parachute. One thing that must be done with all high performance parachute types is to make sure that the parachute nose is pulled out first. Failure of this step will result in parachute fouling. - The first step in folding the parachute is to lay the parachute on a flat surface with the nose of the parachute facing the controller, and the lines facing up. Starting with the spreader, poke your finger in the center of the spreader to make it form a diamond shape with four pleats. There should be one set of parachute lines in each pleat. Next, place the spreader in the nose section of the parachute. The metal swivels can hang off the edge of the canopy.
- It is important to keep the spreader in place during the rest of the parachute packing procedure. Make sure the parachute lines are all inside of the parachute material. You want the fabric towards the outside of the fold, and the lines inside. Also try to separate the lines into the left and right sides without a lot of lines crossing back and forth between the sides.
- Next, fold one bottom outside wing tip corner up to the nose. Again, make sure that all the lines are inside the parachute material. If a few lines pop out, push them back into the middle with your finger.

- Repeat folding the other wing tip up to the nose. Make sure the spreader stays in place, positioned right below the nose of the parachute.
- Next, fold the parachute in half. Again check that the spreader is still in place and that all the parachute lines are inside the parachute.

- Fold the top parachute wing in a double zig-zag.

- Then, carefully turn the parachute over without letting the spreader shift.
- Fold the second wing in a double zig-zag. Remember we want the parachute lines all inside the material!!

- Lifting up the tip, zig-zag fold the entire parachute up the length. Keep the foam in the front of the parachute canopy, parallel to the base of the ebay bulkhead. All the lines should be in one corner.

- Roll up the fabric of the canopy from the base towards the foam edge that is closest to the ebay.

- Loosely roll the kevlar support and steering lines around the end of the canopy (where the lines exit the fabric). Then turn the rolled up canopy so it extends in the same direction as the ebay tube.

- Lay the parachute on two continuous sheets of Estes wadding so that the chute is only on one of the sheets. Fold the wadding over the base of the rolled up parachute, and then wrap the excess wadding around the length of the canopy. Repeat this with another double-length piece of wadding, so that the entire canopy is covered with wadding. We do this step so that it takes just a split second longer for the parachute to start its opening sequence.

- You’ll need to adjust the position of your square reusable heat shield cloth parachute protector along the length of the shock cord. The cloth parachute protector is not included because it needs to be sized to the appropriate body tube diameter of your rocket. The location of the square should be as shown in the illustration. When positioned correctly, it will be closer to the nose cone than from the opening of the rocket tube. You want the canopy to remain rolled up in the parachute protector until the shock cord is fully extended.
Lay the canopy on the corner of the square protector, op- posite from the corner where the shock cord is attached. Then fold the corner (where the shock cord is attached), over the canopy to form a triangle. Then take the two outer corners, and tightly roll up the parachute protector with the canopy inside. The ebay controller tube should remain outside of the parachute protector.
Make sure to hold the parachute and controller together during the insertion process so the parachute lines stay inside the parachute and the steering and support lines and spreader stay in place. Insert the shock cord, the canopy, the ebay controller, and finally the nose cone into the body tube of the rocket.
If you have a larger diameter rocket tube compared to the diameter of the ebay tube, try to position the ebay on the centerline of the rocket, so it is not off to one side. The unbalanced weight on one side could cause the rocket to arc over. Some crumpled Estes wadding wedged along the sides of the ebay will keep it positioned in the center of the tube.
When Ready to Fly
Prep the rocket and place onto the launch pad. Pop off the nose cone; carefully reach down inside and turn on the power switch. Turn on the RC transmitter, and wiggle the joystick that controls the servo. You should hear the servo inside the rocket moving. Once that is verified, replace the nose cone and proceed with the safe countdown and launch of the rocket.
Charging the Battery
The included charger for the battery pack will plug into any USB port. There is a red LED light that is visible in the translucent case. While the battery is charging, the red LED will illuminate. When fully charged, the LED will be off.
RC Flying
The gliding parachute flies using an RC controller connected to the servo. You will need to supply your own RC Transmitter and RC Receiver that will connect with JST style connectors.
Flying Tips
- Avoid flying your steerable parachute in high winds. It is best to start out on calm days until experience is gained.
- To increase the forward speed of the parachute, lengthen the two kevlar steering control lines 1/8-1/4”. This may cause a flat spin if length is increased too much.
- To fly the parachute closer to “stall,” shorten the two kevlar steering control lines slightly. If they are too short, the parachute may not fly forward very much.
- For dual deployment, use the steerable parachute for the main parachute on very high flights. It is desirable to get the rocket down to a reasonable altitude where you can see the model and can control it with the RC system.
- If the winds are above 8-10 MPH, the steerable parachute will still drift away because it can only fly forward at 8-10 MPH. The drift velocity will be the difference between the wind speed and the flight speed.
- Fly the parachute on a calm day to determine if the parachute requires any trimming. Don’t be tricked here by flying the parachute cross wind and thinking that it needs trimming. Flying across wind will require holding a control input into the wind even if the parachute is correctly trimmed.
- If flying the parachute on a calm day indicates that trim is needed, adjust the kevler lines to correct the turn bias. For example, if the parachute turns to the right, slightly lengthen the right kevlar steering line by adjusting the location of the knot on the line where it attaches to the swivel. For the first flight(s), try to set up the rocket by choosing the right motor to travel about 500-750 feet in altitude. In this way, you will be able to see the parachute clearly and control it to check for any flight imbalance.
- Never leave the parachute packed into a rocket for long periods of time as the foam at the front of the parachute will become compressed. This is the leading edge of the airfoil, and it needs to stay uncompressed for better performance.
- Always try to center the ebay on the centerline of the rocket to get a straighter flight.
- Prevent the ebay from sliding rearward in the rocket tube by putting some sort of stop behind it, such as a centering ring or a wadding cushion.
- In a typical rocket setup, the nose cone and rocket body are connected with a shock cord that is around 3-4 lengths of the rocket. For this steerable parachute system, a cord length closer to 4-5 rocket lengths is preferable to a shorter cord. Longer cords can help with flat spins and circling.
Servo Bay
Size: 2.25 x 4.50 inches Weight (approx): 150g
Liability
Due care has been employed in the design and construction of this product so as to minimize the dangers inherent in its use. As the installation, setup, preparation, maintenance, and use of this product is beyond the control of the manufacturer, the purchaser and user accept sole responsibility for the safe and proper use of this product. The principals, employees, and vendors of the manufacturer shall not be held liable for any damage or claims resulting from the use of this product. If the purchaser and user are not confident in their ability to use the product in a safe manner, it should be returned to the point of purchase immediately. Any use of this product signifies acceptance of the above terms and conditions by the purchaser and user.
www.apogeerockets.com/Electronics-Payloads/Rocket-Locators/Simple-GPS-Tracker
Need parts or Accessories to go along with this kit?
Go online and order at www.ApogeeRockets.com or call us and order at 719-535-9335.
We’re available M-F: 9:00am-5:00pm MST
Manufactured in the USA by:
Apogee Components Inc.
Colorado Springs, Colorado, USA
Visit us online at: www.ApogeeRockets.com


























Finally, repeat the support line connect procedure on the right side of the parachute, and connect them to the #4 support line hook and the #4 grommet on the spreader.


Folding Your Gliding Parachute:







If you have a larger diameter rocket tube compared to the diameter of the ebay tube, try to position the ebay on the centerline of the rocket, so it is not off to one side. The unbalanced weight on one side could cause the rocket to arc over. Some crumpled Estes wadding wedged along the sides of the ebay will keep it positioned in the center of the tube.














