
BGB3000 Pro 2500W Petrol Generator
Instruction Manual 
BGB3000…………………….034414
B6B3700……………………….034421
BGBS000…………………….034438
BGBS000…………………034445
BGB8500 …………………034452
| 1. Rack 2. Fuel Cap 3. Lever Indicator 4. Fuel Tank 5. End Cover 6. Muffler 7. Cylinder Head 8. Push handle | 9. Choke lever 10. Air Filter 11. Starter 12. Support Bracke. 13. Engine Switch 14. Control Panel 15.Wheel 16 Battery |
Technical Data
| Model | BGB3000 | BGB3700 | BGB6000 | BGB8000 | BGB8500 |
| Rated Output (kW) | 2,5 | 3.0 | 5.0 | 6,5 | 8,0 |
| Maximum Output (kW) | 2,5 | 3,3 r | 5.5 | 7,0 | 8,5 |
| Displacement | 208 | 224 | to | 420 | 439 |
| Max Fuel Tank Size (L) | 15,8 | 15,8 | 27 | 27 | 27 |
| Noise/ Oopupoc dB (A) | 75 | 75 | 75 | 77 | |
| Starter Coil | N | Y | Y | Y | Y |
| AVR | Y | Y | Y | Y | Y |
| Engine Type / TOnoc Mr1XavrIc | Air Cooled, 4 Stroke OHV | Air Cooled, 4 Stroke OHV | Air Cooled, 4 Stroke OHV | Air Cooled, 4 Stroke OHV | Air Cooled, 4 Stroke OHV |
| Weight /Bdpoc (kg) | 48 | 52 | 78 | 86 | 93 |
Safety Instructions
Pay attention to all safety alert symbols on the generator. Read and obey all safety messages that follow in this instructions manual in order to avoid possible property damage, INJURY, or even DEATH. Each safety message is preceded by one of the three following words: DANGER, WARNING, or CAUTION depending on the risk severity of the relevant situation.
1. Operator Safety
DANGER Indicates a hazardous situation that, if not strictly complied with, will result in substantial property damage, serious injury, or DEATH.
WARNING Indicates a hazardous situation which, if not strictly complied with, may result in property damage, serious injury, or DEATH.
CAUTION Indicates a hazardous situation that, if not strictly complied with, could result in property damage or injury.
READ THIS MANUAL COMPLETELY BEFORE OPERATING.
DO NOT operate this generator until you have read ALL safety, operation, and maintenance instructions listed in this manual. Failure to follow the instructions may result in property damage, INJURY, or DEATH. Warnings and precautions discussed in this manual cannot cover all possible conditions and situations that may occur. It must be understood by the operator that common sense and caution are factors that cannot be built into this product but must be supplied by the operator.
This generator is intended for residential consumers only. Air-cooled generators cannot be run full time.
Before each use, check for loose or damaged parts, signs of oil or fuel leaks, and any other condition that may affect proper operation. Repair or replace all
damaged or defective parts immediately. Locate all operating controls and safety labels. Operate only on level surfaces.
DO NOT expose the generator to excessive moisture, dust, or dirt. Keep all safety guards in place and in proper working order at all
times. DO NOT allow any material to block the cooling slots.
DO NOT allow children or untrained persons to operate the generator.
DO NOT run the generator unattended. Turn off the generator before leaving the area.
FIRE
The operation of this generator may create sparks that can start fires around dry vegetation. This generator may not be equipped with a spark arresting muffler. If the generator is used around flammable materials, or on land covered with materials such as agricultural crops, forest, brush grass, or other similar items, then an approved spark arrester must be installed. In some area, a spark arrester is required by law. Please contact local fire agencies for laws or regulations relating to fire prevention requirements.
Read the instructions provided with the equipment powered by this engine for any additional safety rules that should be observed in conjunction with generator startup, shutdown, operation, or protective apparel that may be needed to operate the equipment.
HOT SURFACE
Running engine generators produce heat. Severe burns can occur on contact. DO NOT touch the generator while operating or just after stopping. Avoid contact with hot exhaust gases. Maintain at least three feet of clearance on all sides to ensure adequate cooling. Combustible material can catch fire on contact.
Maintain at least five feet of clearance from combustible materials.
TOXIC FUMES
The exhaust of the engine contains carbon monoxide, an odorless, colorless, poison gas. Using an engine indoors CAN KILL YOU! NEVER use inside any building or any kind of enclosure, EVEN IF doors and windows are open. Place the engine in a well-ventilated area and carefully consider wind and air currents when positioning the engine.
FIRE OR EXPLOSION
Gasoline is highly flammable and extremely explosive. Fire or explosion can cause severe burns or death. Keep flammable items away while handling the generator. Fill fuel tank outdoors and in a well-ventilated area with the generator stopped. Always wipe off spilled fuel and wait until the fuel has dried before starting the generator.
DO NOT operate the generator with known leaks in the fuel system.
Use proper fuel storage and handling procedures. DO NOT store fuel or other flammable materials nearby.
Empty the fuel tank before storing or transporting this generator.
Keep a fire extinguisher handy and be prepared if a fire starts.
MOVING PARTS
Moving parts can cause severe injury. Keep hands and feet away.
DO NOT operate engine with covers, shrouds, or guards removed.
DO NOT wear loose-fitting clothing, dangling drawstrings or items that could become caught. Tie up long hair and remove jewelry.
NEVER place fingers, hands, or body near the engine when it is running.
ACID
(For types equipped with battery)
Be careful when using any battery.
Keep away from open flame, heat, or spark. The battery will exhaust hydrogen while charging. Only charge a battery in a well-ventilated place.
Avoid spilled battery acid.
If contact with skin is made, be immediate with clean water.
KICKBACK
Rapid retraction of the starter cord will pull hand and arm towards the engine faster than you can let go. An unintentional startup can result in entanglement, traumatic amputation or laceration. Broken bones, fractures, bruises or sprains.
ELECTRICAL SHOCK
This generator produces powerful voltage and the electricity CAN KILL YOU.
This generator must be properly connected to an appropriate grounding to help prevent electric shock. Failure to properly ground the generator can result in electrocution, especially if the generator is equipped with a wheel kit. Consult an electrician for local grounding requirements.
Installation should be performed by a certified electrician. Improper installation can result in electrical shock and death.
To reduce the risk of electrical shock, DO NOT use electrical cords that are worn, frayed, bare, or otherwise damaged.
DO NOT touch bare wires or receptacles.
DO NOT operate a generator in wet weather. Keep the generator dry.
DO NOT handle generator or electrical cords while standing in water, while barefoot, or while hands or feet are wet.
DO NOT hook up any generator to a building electrical system without the proper use and installation of a transfer switch installed by a qualified electrician. When using a generator for backup power, notify the utility company. Use an approved transfer generator to isolate the generator from an electric utility. Failure to isolate generators from power utility can result in death or injury to electric utility workers due to back feed of electrical energy.
Getting Started
1. Unpacking
Remove the Generator from the Shipping Carton
- Place the shipping carton on a solid, flat surface.
- Carefully cut each corner of the carton box from top to bottom. Fold each side flat on the ground.
- Remove everything from the carton except the generator.
2. Assembly
Your generator may require some assembly. If you have any questions regarding the assembly of your generator, please have your model number and serial number ready and consult your local dealer for help.
A. Install Wheel Kit
Put wheel stop pin through the wheel and mounting lug hole and then fix it with the clamp. Note: A flat washer may be used to adjust the assembly clearance as needed.
- Clamp
- Wheel
- Washer
- Wheel stop pin
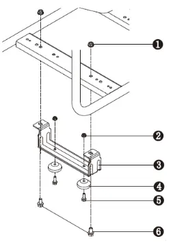
B. Install support bracket
The sealed battery on the generator is fully charged and pre-installed except for the negative (black) battery cable.

- Support bracket nut M8
- Damping seat nut M6
- Support bracket
- Damping seat
- Damping seat nut M6/18
- Support bracket bolt M8/16
C. Install the handle
Use the handle pin to across and its mounting lug hole and then fix it with the clamp.
WWW.BORMANNTOOLS.COM
The sealed battery on the generator is fully charged and pre-installed except for the negative (black) battery cable. install: Cut off tie wrap that secures the loose end of negative (black) cable. Connect the negative (black) battery cable to the negative (-)terminal on the battery. Verify if it is correct and secure that the connections between the battery and generator .

D. Connect Negative Battery
- Positive (+) terminal (red)
- Negative (-) terminal (black)
Operation
1. Operating Check List
A. Operating Location
Only use OUTSIDE and place the generator in a well-ventilated area. Only operate the generator on a flat, level surface and in a clean, dry operating environment. Allow two feet clearance on all side of the generator while operating it outdoors. Please consult your local authority. In some areas, generators must be registered with the local utility. Generators used to construction sites may be subject to additional rules and regulations.
DANGER! TOXIC FUMES
The exhaust of the generator contains carbon monoxide, an odorless, colorless, poison gas. Using engine indoors CAN KILL YOU! NEVER use inside any building or any kind of enclosure, EVEN IF doors and windows are open.Place the generator in a well-ventilated area and carefully consider wind and air currents when positioning the generator.
High altitude
This engine may require a high altitude carburetor kit to ensure correct operation at high altitudes. Consult your local dealer for high altitude kit information if you always operate your engine at altitudes above 5,000 feet (1,500 meters).
CAUTION! Even with carburetor modification, generator horsepower will decrease about 3.5% for each 1,000 feet (300 meters) increase in altitude. The effect of altitude on horsepower will be greater than this if no carburetor modification is made.
CAUTION! Operation the engine at altitude below 5,000 feet (1,500 meters) with modified carburetor may cause the generator to overheat and result in serious engine damage.
2. Operating Condition
Check for loose or damaged arts, signs of oil or fuel leaks,and any other condition that may affect proper operation.Repair or replace all damaged or defective parts immediately.
WARNING
Failing to correct problem(s) before operation could result in property damage, serious injury or even death.
Remove any excessive dirt or debris, especially around the muffler and recoil starter. DO NOT move or tip the generator during operation. Use enerator only for the intended use. If you have questions about intended use, ask your local dealer.
C. Engine Oil
Place the engine on a level surface with engine stopped. Remove the dipstick and wipe it clean. Reinstall dipstick into tube; rest on oil fill neck, DO NOT thread cap into tube.
Remove the dipstick again and check oil level. Level should be within the upper limit and lower limit range on dipstick.
Fill to the upper limit (marked with “H”) of the dipstick with the recommended oil if the oil level is low.
Reinstall and fully tighten the dipstick.
Refer to add oil instruction in MAINTENANCE section for more information.
Oil Capacity (rated): See parameters.
WARNING: Oil is a major factor affecting performance and service llfe. Use 4-stroke utomotive detergent oil recommended in the MAINTENANCE section of this manual.
WARNING: This engine is not filled with oil at the factory. Any attempt to crank or start the engine before it has been properly filled with the recommended type and amount of oil may result in engine damage and void your warranty.
CAUTION: Operate generator only on level surfaces. The engine is equipped with a ow oil sensor (applicable types) that will automatic stop the engine when the oil level falls below the safe limit. To avoid the inconvenience of an unexpected shutdown, fill to the upper limit and check the oil level regularly.
D. Engine Fuel
With the engine stopped, check the fuel level gauge. Refill the fuel tank if necessary. Use clean, fresh, regular unleaded gasoline. DO NOT mix oil with gasoline. Always wipe up any spilled fuel. Be sure not to fill above the upper limit mark. Always allow room for fuel expansion.
DANGER Do not fill the fuel tank above the upper limit. Overfill will results in engine die or damage the carbon canister (if equipped) and void your warranty.
DANGER OF FIRE OR EXPLOSION
Gasoline is highly flammable and extremely explosive. Keep flammable items away while handling gasoline. Fill fuel tank outdoors and in a well -ventilated area with the generator stopped. Always wipe off spilled fuel and wait until the fuel has dried before starting the generator.
DO NOT operate the generator with known leaks in the fuel system. Use proper fuel storage and handling procedures. DO NOT store fuel or other flammable materials nearby. Empty the fuel tank before storing or transporting this generator. Keep fire extinguisher handy and be prepared if a fire starts. NEVER use engine or carburetor cleaner products in the fuel tank or permanent damage may occur. It is important to prevent gum deposits from forming in essential fuel system parts, such as the carburetor, fuel filter, fuel hose or tank during storage. Also, experience indicates that alcohol-blended fuels (called gasohol, ethanol or methanol) can attract moisture, which leads to separation and formation of acids during storage. Acidic fuel can damage the fuel system of the generating set while in storage. Be sure to review the instructions given in “Storage” section.
Gasoline/Alcohol Blends: up to 10% alcohol, 90% unleaded gasoline by volume is approved as a fuel. Other gasoline/alcohol blends are not approved. Effects of old, stale or contaminated fuel are not warrantable.
CAUTION: To minimize gum deposits in your fuel system and to insure easy starting, do not use gasoline left over from the previous season.
CAUTION: Pressure can build up in the fuel tank. Allow the generator to cool for at least two minutes before removing fuel cap. Loosen the fuel cap slowly to relieve any pressure in the tank.
E. Electrical devices
Disconnect all electrical devices from the generator and switch off the AC circuit breaker before start the engine. The generator may be hard to start with electrical devices.
F. Grounding
The generator must be properly connected to an appropriate ground. It helps prevent electrical shock if a ground fault condition exists in the generator or in connected electrical devices, especially when the unit is equipped with a wheel kit. Proper grounding also helps dissipate static electricity, which often builds up in ungrounded devices.
DANGER of Electrical Shock
Failure to properly ground the generator can result in electric schock.
A ground terminal on the frame of the generator has been provided on the generator end. For remote grounding, connect a length of heavy gauge (4 mm2 ) copper wire between the generator ground terminal and a copper rod driven into the ground. The National
Electrical Code requires that the frame a proved earth ground. Local electrical c with a qualified electrician for ground gexternal electrically conductive parts of this generator be properly connected to an ap-also require proper grounding of the unit. We strongly recommend that you consult nts in your area.
Starting the engine
- Perform operating checklist.
- Turn fuel valve to the “ON” position.

- Turn off AC breaker protector.

- Pull the choke valve switch to “CLOSE” position.
CAUTION: Choke plate should be setting in different width due to temperature and other factors. - Electric start:
Turn and keep the key to “START” position till the engin 1, started After the engine is started, release the key returned to “RUN” position. Manual start: Turn
the switch to “RUN” position. The switch button according to the open position, and then seize the starter handle and slow pulling until there is a sense of resistance so far, and quickly pull to start.
WARNING: Rapid retraction of the starter cord will pull hand and arm towards the engine faster than you can let go. Unintentional startup can result in entanglement, traumatic amputation or laceration, broken bones, fractures, bruises or sprains.
If the electric starter fails to start the engine, immediately turn off the starter. Don’t attempt to restart the engine before the failure cause is identified. Don’t restart the engine by replacement of other storage battery without authorization.
CAUTION: If the engine fails to start after attempt for 3 times or flames out after starting, inspect and ensure that the generator is placed in horizontal urface and enough engine oil is injected. During starting, don’t keep the starting switch to “start” position for more than 5 sec, otherwise it is possible to amage the motor. If the unit fails to start within first time, restart after about 1 sec. After the unit is used for a period, if the starting speed of the motor falls, please replace the battery. During the operation of the unit, the battery supplies power for the solenoid valve of the carburetor. For this, when the unit is turned off, make sure that the starting switch is in “OFF” position and otherwise the storage battery voltage is reduced due to the operating solenoid valve of the carburetor, acting on starting for next time. If the engine is equipped with an engine oil alarm, it is possible to prevent engine start when the engine oil in the crankcase is lower than the minimum level. During running-in, routinely inspect the engine oil. See maintenance section for recommended maint. period. - When the engine operates stably, pull the choke valve to “OPEN” position.

- The generator may be normally loaded.
WARNING: Connect the output terminal of the generator with the electric equipment. Don’t start or stop the engine when the electric equipment is in “ON” status .
VFT meter (If applicable): The VFT meter can be used for displaying voltage, frequency (hertz), run time, and total run time as applicable (Display mode depends on the configuration). The LCD displays each mode by pressing the button below the display. The display meter sets as either automatic switching mode or manual operation mode. In the manual state, press MODE BUTTON for mode switching; But in automatic mode, MODE BUTTON is used for reset (operate cautiously when necessary).
a. Output voltage of the generator. 
b. Frequency (F): The generator may be normally loaded.
c. Run time (R): Run time of the generator for the current session.
Note: If display value is less than 100, the numeric display will accurate to one decimal place. If the operation time is 100 hour or greater, the display will be “101”,”100″ and so on.
d. Total run time
Total run time of the generator since first operation (display mode depends on the config-uration)
1) The display value is accurate to one decimal place ;
or
2) The display value shows as a integer.
Connection to Electrical Devices
Inspect power cord for damage before use. There is a hazard of electrical shock from from crushing, cutting or heat damage.
DANGER
Ιn order to reduce the risk of electrical shock:
DO NOT use electrical cords that are worn, frayed, bare or otherwise damaged.
DO NOT touch bare wires or receptacles.
DO NOT handle generator or electrical cords while standing in water, or barefoot, or while hands or feet are wet.
- Allow the engine to stabilize and warm up for a few minutes after starting.
- 2. Make sure the electrical devices in “OFF” position. and the load current is foot higher than the maximum withstanding current of single socket.
CAUTION: If the current of single load is higher than the maximum withstanding current of single socket, please connect the load with the terminal. - Turn the AC breaker protector to “ON” position.
CAUTION
Ιf connected devices overheat, turn them off and disconnect them from generator.
Bearing capacity
You must make sure your generator can supply enough rated (running) and surge (starting) watts for the electrical devices you will power at the same time. Follow these simple steps to calculate the running and starting watts necessary for our purposes.
1. Select the electrical devices you will power at the same time.
2. The amount of power you need to run all the devices is the total rated (running) watts of these items.
3. Identify how many surge (starting) watts you will need. Surge wattage is the short burst of power needed to start electric motor-driven tools or appliances such as a circular
saw or refrigerator.
Because not all motors start at the same time, total surge watts can be estimated by adding only the electrical device(s) with the highest additional surge.
| Wattage Reference Chart | ||
| Electric Equipment | Rate Power (Watts) | |
| Appliances | Tablet Computer 27″ | 120 |
| Energy Saving Lamp | 5-50 | |
| Electric Cooker | 1000 | |
| Computer | 400 | |
| Refrigerator | 50 | |
| Washing Machine | 250 | |
| Electric Fan | 50 | |
| Air-Conditioner 2 HP | 1600 | |
| Electric Tooling | Electric Welding Machine | 1600 |
| Electric Hammer | 1000 | |
| Water Pump | 800 | |
DANGER – Life Threatening Situation
You must isolate the generator from the electric utility by opening the electrical system’s main circuit breaker or main switch if the generator is used for backup power. Failure to isolate the generator from the power utility may result in injury or death to electric utility workers and damage to the generator due to backfeed of electrical energy.
WARNING: DO NOT OVERLOAD THE GENERATOR Exceeding the generator’s capacity may damage the generator and/or any devices connected to it.
Charging a Battery
(Applicable types)
Charge the battery by battery charging socket, and keep the full charge of the battery for use at any time. Charge the battery in dry environment.
WARNING: Batteries give off explosive hydrogen gas while recharging. An explosive mixture will remain around the battery for a long time after it has been charged. The slightest spark can ignite the hydrogen and cause an explosion, resulting in blindness or other serious injury.
WARNING: DO NOT allow smoking, open flame, sparks or any other source of heat around a battery. Wear protective goggles, rubber apron and rubber gloves when working around a battery. Battery electrolyte fluid is an extremely caustic sulfuric acid solution that can cause sever burns. If spill occurs flush area with clear water immediately.
In order to recharge Volt batteries, proceed as follows:
- Check fluid level In all battery cells. If necessary, add ONLY distilled water to cover separators in battery cells.
DO NOT use tap water at no circumstances. - If the battery is equipped with vent caps, make sure they are installed and are tight.
- If necessary, clean battery terminals.
- Cannot battery charge cable clump with red hendle to the positive(+) tery terminal.
- Connect battery charge cable clamp with black handle to the negative (-) battery terminal.
- Start engine. Let the engine run while battery recharges.
- When battery has charged, shut down engine.
CAUTION: Use an automotive hydrometer to test battery state of charge and condition. Follow the hydrometer manufacturer’s instructions carefully. Generally a battery is considered to be at 100% state of charge when the specific gravity of its fluid (as measured by hydrometer) is 1.260 or higher
Stopping the Engine
- Remove all the load on generator.
- Turn off AC breaker protector.
Remove the plug of all electric equipment from the generator panel
WARNING: NEVER stop the engine with electrical devices connected and with the connected devices turned “ON”. - Allow the generator run at no load for a few minutes to stabilize internal temperatures of the engine and generator.
- Turn off the flame-out switch (turn the engine switch to “OFF” position)
Turn the fuel valve to “OFF” position.
Maintenance
It is the operator’s responsibility to complete all scheduled maintenance in a timely manner. Correct any issue before operating the generator. Always follow the inspection and maintenance recommendations and schedules in this manual. Before servicing the generator, stop the generator, disconnect all electric devices and battery (if equipped) and allow the generator to cool down.
DANGER: accidental starts can cause severe injury or death. Remove and ground spark plug wire , before performing any service.
WARNING: improper maintenance or failure to correct a problem before operation can cause a malfunction and may result in property damage, serious injury or DEATH. Improper maintenance will void our warranty.
CAUTION: the filter element may contain PAHs, PAHs are harmful for your health. Please wear gloves for protection during air filter maintenance.
1. Maintenance schedule
Follow the service intervals indicated in the chart below. Service your generator more frequently when operating in adverse conditions. Contact your local service dealer for your generator or engine maintenance needs.
2. Generator maintenance
Make certain that the generator is kept clean and stored properly. Use a damp cloth to clean exterior surfaces of the generator. Use an compressed air(25 PSI) to clear dirt and debris from the generator. Inspect all air vents and cooling slots to ensure that they are clean and unobstructed.
WARNING: DO NOT use water to clean the generator. Water can enter ther generator through the cooling slots and damage the generator windings.
WARNING: DO NOT modify the generator in anyway. DO NOT tamper with governed speed. Generator supplies correct rated frequency and voltage when running at factory set. Tampering with the factory set governor will void your warranty
3. Engine maintenance
Engine Oil
SAE 10W-30 is recommended for general, all-temperature use. Other viscosities shown in the chart may be used when the average temperature in your area is within the indicated range. 
Ambient Temperature
Oil Capacity (rated), see parameters
Add Oil
- Place the engine on a level surface.
- Remove the dipstick and wipe it clean.

- Add recommended oil to the upper limit.
| Each time before use | 10 hours or the first month’ | 50 hours or every three months’ | 100 hours or every six months’ | 300 hours or every year’ | ||
| Engine oil | Inspection | ✓ | ||||
| Replacement | ✓ | ✓ | ||||
| Air Filter | inspection | ✓ | ||||
| cleaning | ✓3 | |||||
| Spark plug | inspection & adjustment | ,/ | ||||
| replacement ,, | ,./ | |||||
| Spark extinguisher’ | cleaning | ✓ | ||||
| idle speed | inspection and adjustment | ✓’ | ||||
| Valve Clearance | Inspection and adjustment | ✓4 | ||||
| Carbon’ canister | inspection | Every two years4 | ||||
| Low permeablity oil tube | inspection | ‘Every two years4 | ||||
| Oil tube | Inspection very t wo years4 | |||||
Note1: Applicable types (if available).
Note2: Before each season and after then (whichever comes first).
Note3: Service more frequently under severe, dusty, dirty conditions.
Note4: To be performed by knowledgeable, experienced owners or the authorized dealer.
CAUTION Oil level check: Reinstall dipstick into tube; rest on oil fill neck DO NOT thread cap into tube.
4. Fully tighten the dipstick.
5. Dispose of used oil at an approve waste management facility.
Change oil:
CAUTION: Change oil when the engine is warm from operation.
- Place the engine on a level surface.
- Clean area around dipstick and drain plug.
- Remove oil dipstick.
Remove the oil drain plug and allow the oil to drain completely.- Fully tighten the drain plug.
- Add recommended oil to the upper limit (see add oil instruction above).
- Reinstall and fully tighten the dipstick.
- Dispose of used oil at an approved waste management facility.
WARNING: The engine is not filled with oil at the factory.An operation before it has been properly filled with the recommended type and amount of oil may result in engine damage and void your warranty.
Air filter
- Loosen the air filter clip and remove the cover of the air filter.
- Remove the foam filte element.
- Wash in liquid detergent and warm water.
- Squeeze thoroughly dry in a clean cloth.
- Saturate in clean engine oil.
- Squeeze in a clean, absorbent cloth to remove all excess oil.
- Place the filter in the assembly.
- Install the air filter cover, and fix it with air filter hinge.

WARNING: DO NOT run the engine without the air filter serious danger can result.
Spark plug
- Clean any dirt from the spark plug cap and spark plug base.
- Remove the spark plug cap.
- Using socket wrench to loose and remove the spark plug.
- Inspect the spark plug and spark plug washer, if it’s damaged or worn, replace with new one. Clean the spark plug with wire brush if reuse it.
- Check spark plug gap. Carefully bend side electrode to adjust the gap if necessary.
Spark plug gap:
0,6 mm – 0,8 mm
Carefully thread the plug into the engine by hand.- After the spark plug is seated,use spark plug wrench to tighten the plug. Spark Plug tighten Torque: 15-20 N.m
- Attach the spark plug wire to the plug.
WARNING: Only use recommended spark plug or equivalent. DO NOT use spark plugs that have improper heat range.
Spark Arrester (if applicable)
- Allow the engine to cool completely before servicing the spark arrester.
- Remove the two screws holding the cover plate which retains the end of the spark arrester to the muffler.
- Remove the spark arrester screen.
- Carefully remove the carbon deposits from the spark arrester screen with a wire brush.

- Replace the spark arrester if it is damaged.
- Reinstall the spark arrester in the muffler and attach with the two screws.
Speed
The speed has been preset at the factory and should rarely require readjustment. Consult your local authorized dealer for such needs.
WARNING: Unapproved adjustment will damage your engine and/or your electrical devices and void your warranty.
Adjustment
There is no other service and/or adjustment need for your generator. Unapproved adjustments or tampering can damage your generator and your electrical devices and will void your warranty. Contact your local dealer for such needs.
WARNING: tampering with the factory set governor will damage your generator and void your warranty.
Storage and transportation
Storage
The generating set should be started at least once every two weeks and allowed to run for at least 20 minutes. Follow the instructions below for longer term storage if the generating set will be out of service for 2 months or more.
DANGER of fire or explosion Gasoline is highly flammable and extremely explosive. Empty the fuel tank and shut off fuel valve before storing or transporting this generating set.
- Allow the generating set to cool completely before storage.
- Clean the generating set according to the instructions in the maintenance section.
- Drain all fuel completely from the fuel hose and carburetor to prevent gum from forming.
- Turn off the fuel supply at the fuel valve.
- Change the oil.
- Reattach the spark plug.
- Remove the spark plug and pour about 15 ml of oil into the cylinder. Crank the engine slowly to distribute the oil and lubricate the cylinder.
- Store the unit in a clean, dry area out of direct sunlight. Transportation.
To prevent fuel spillage when transporting or during temporary storage, the generating set should be secured upright in its normal operating position, with the engine switch OFF. The fuel valve lever should be turned OFF.
WARNING:
Do not overfill the tank. Do not operate the generating set while it is on vehicle. Take the generating set off the vehicle and use it in a well-ventilated place. Avoid a place exposed to direct sunlight when putting the generating set on a vehicle. If the generating set is left in an enclosed vehicle for many hours, high temperature inside the vehicle could cause fuel to vaporize resulting in a possible explosion. Do not drive on a rough road for an extended period with the generating set on board. If you must transport the generating set on a rough road, drain the fuel from the generating set beforehand.
Trouble Shooting
| FAILURE | CAUSE | REMOVE METHOD |
| Engine won’t start. | Engine switch is “OFF”. | Turn engine switch to the “ON” position. |
| No Fuel. | Fill tank per instructions in this manual. | |
| Inadequate engine oil. | Check oil level. This engine is equipped with a low oil sensor. The engine cannot be started unless the oil leve is above the prescribed lower limit. | |
| No ignition | Remove the spark plug cap. Clean Engine any dirt from around the plug base, won’t start. then remove the spark plug. Install the spark plug in the plug cap. Tum the engine switch “ON”. Grounding the electrode to any engine ground, pull the recoil starter to see if sparks No ignition. jump across the gap. If there is no spark, replace the plug. Reinstall the plug and start engine according to instructions in this manual. Consult Customer Service if necessary. | |
| Generator has no output. | No ignition. | Reset circuit breakers. |
| Inadequate cord sets or extension cords | C 0 P, .: or extension cords – pa ‘ s i coon Controls ize ‘ this manual. ‘cons stomer Service if necessary. |
* The manufacturer reserves the right to make minor changes to product design and technical specifications without prior notice unless these changes significantly affect the performance and safety of the products. The parts described / illustrated in the pages of the manual that you hold in your hands may also concern other models of the manufacturer’s product line with similar features and may not be included in the product you just acquired.
* Please note that our equipment has not been designed for use in commercial, trade or industrial applications. Our warranty will be voided if the machine is used in commercial,
trade or industrial businesses or for equivalent purposes.
* To ensure the safety and reliability of the product and the warranty validity, all repair, inspection, repair or replacement work, including maintenance and special adjustments, must only be carried out by technicians of the authorized service department of the manufacturer.
* Always use the product with the supplied equipment. Operation of the product with non-provided equipment may cause malfunctions or even serious injury or death. The manufacturer and the importer shall not be liable for injuries and damages resulting from the use of non-conforming equipment.




CAUTION: Choke plate should be setting in different width due to temperature and other factors.
Turn and keep the key to “START” position till the engin 1, started After the engine is started, release the key returned to “RUN” position. Manual start: Turn
CAUTION
Remove the plug of all electric equipment from the generator panel
WARNING: NEVER stop the engine with electrical devices connected and with the connected devices turned “ON”.
Turn the fuel valve to “OFF” position.
Maintenance
Remove the oil drain plug and allow the oil to drain completely.
Carefully thread the plug into the engine by hand.



















