BORMANN BWR5139 Garage Equipment

WARNING! Read carefully and understand all ASSEMBLY AND OPERATION INSTRUCTIONS before operating. Failure to follow
the safety rules and other basic safety precautions may result in serious personal injury.
INSPECTION
- Inspect the product carefully before each use. Ensure the product is not damaged, excessively worn, or missing parts.
- Do not use the product unless it is properly lubricated.
- Using a product that is not in good clean working condition or properly lubricated may cause serious injury.
- Inspect the work area before each use. Make sure it is free and clear of any potential hazards.
SAFETY
- BEFORE PERFORMING ANY WORK ON A VEHICLE OR USING THIS PRODUCT:
- Always use Jack Stands!
- DO NOT USE wood blocks or any other non-approved load sustaining devices.
- DO NOT USE wood blocks or any other non-approved lifting devices for a means of lifting with a jack and or load being raised.
- Failure to head these warnings may cause injury or death.
- Read, study and follow all instructions before assembling or operating this device.
- The owner and/or operator shall be aware that the use of this product may require special skills and knowledge.
- DO NOT EXCEED MAXIMUM CAPACITY OF 250lbs (113.4 kgs).
- DO NOT stand on the seat.
- This seat is designed for use on hard, level surfaces capable of sustaining the load.
- Alterations shall not be made to this product because of the dangers associated to the misuse of this product.
- If seat is not operating properly, or parts are loose, missing, or broken, stop use of seat immediately.
- Seat’s fabric is flammable. Take care when used near open flame, lit cigarettes, cigars, etc.
- Failure to heed these warnings may result in personal injury and/or property damage.
- Inspect before each use.
- If you suspect that the product was subjected to a shock load (a load suddenly dropped unexpectedly upon it), immediately discontinue use until product has been checked by a factory authorized service center (contact distributor or manufacturer for list of Authorized Service Centers).
- It is recommended that an annual inspection be done by qualified personnel.
ASSEMBLY INSTRUCTIONS
Safe Operating Temperature is between 40°F – 105°F (4°C – 41°C)
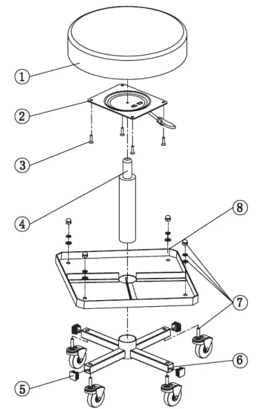
PRODUCT OVERVIEW


- The manufacturer reserves the right to make minor changes to product design and technical specifications without prior notice unless these changes significantly affect the performance and safety of the products. The parts described / illustrated in the pages of the manual that you hold in your hands may also concern other models of the manufacturer’s product line with similar features and may not be included in the product you just acquired.
- Please note that our equipment has not been designed for use in commercial, trade or industrial applications. Our warranty will be voided if the machine is used in commercial, trade or industrial businesses or for equivalent purposes.
- To ensure the safety and reliability of the product and the warranty validity, all repair, inspection, repair or replacement work, including maintenance and special adjustments, must only be carried out by technicians of the authorized service department of the manufacturer.
WEB: www.bromantools.com



















