CF-105
Avro Arrow

The Avro CF-105 Arrow was designed and built by Avro Canada. Design work began in 1953 with the first flight taking place in March 1958 The Arrow is considered to have been the most advanced technical and aerodynamic achievement for the Canadian aviation industry at the time. The CF-105 (Mark 2) held the promise of near-Mach 2 speeds and altitudes of over 50,000 feet. It was intended to serve as the Royal Canadian Air Force’s primary interceptor in the 1960s and beyond. Not long after the 1958 start of its flight test program, the development of the Arrow including its Orenda Iroquois jet engines was abruptly halted before the aircraft could be fully developed. The Arrow’s cancellation was announced on February 20 1959. This day became known as “Black Friday” in the Canadian aviation industry. To this day Canada’s aviation industry has never fully recovered. The Arrow goes down in history as what Canada could have been in the aviation industry.
CF-105 Avro Arrow Mk 1 Specifications
Length 77′ 9″
Wingspan 50′
Power 2 × Pratt & Whitney J75-P-3 turbojets
Performance Mach 1.98 (1,307 mph) at 50,000 ft max recorded speed.
Armament Never fully developed.
Rockets: 1–4× AIR-2 Genie unguided nuclear rockets.
Missiles: Up to 8× AIM-4 Falcon, Canadair Velvet Glove (cancelled 1956). 3 AIM-7 Sparrow II 2D active guidance missiles (cancelled).
Building tips:
All parts will be a tight fit. If you find a part is too tight give it a bit of a sanding with 220 grit sandpaper.
DO NOT FORCE PARTS. A hobby knife is suggested to cut the pieces from the part tree but most parts will break free easily. 220 grit sandpaper may be used to remove unwanted burn marks. A white glue may be used for assembly if desired. Any black substance that gets on your hands is non toxic and can be removed with soap and water.
Step 1
Note:
Alignment blocks should have just enough friction to hold parts in place. If needed use sandpaper to remove a bit of thickness.
Tip!
Lightly sanding alignment block edges will allow them to slide into place easier

- Alignment blocks
Slide alignment block through part 1 and centre them. Stack parts 2L through to 4L onto the alignment pins. Do the same with the other side.
Step 2
Stack parts 5L through to 10L onto the two rear alignment blocks. Do the same for the other side

- Alignment blocks
Step 3
Slide parts 11 and 12 into the slots indicated on both sides of the body. Starting with part 13, stack parts 14 through to 16 onto the stud sticking out.

a. Slots
b. Stud
Step 4
Place the lower wing part 17R and 17L in to the slot on the body. Place Middle wing part 18R an18L into slot on top of lower wing. Place top wing part 19L and 19R into slot on top of middle wing. Do not glue wings as they do need to be removed to apply decals.

- 19R Upper wing
- 18R Middle wing
- 17R Lower wing
- 19L Upper wing
- 18L Middle wing
- 17L Lower wing
Note: ![]()
Do not glue parts 17, 18 and 19 into slots.
Step 5
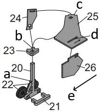
Insert part 21 all the way through the holes in part 20. Place parts 22 onto the protruding studs of part 21. Slide part 23 onto part 20 so that it sits on the notch on part 20. The tab on part 23 must face to the outside rear. Insert top of part 20 into the square hole on part 25. Place part 24 onto the tab on part 25 and part 23. Insert part 26 into the slot on part 25 and slide it backwards to lock in place.

Right side Left side
a. Notch
b. Tab faces to outside rear
c. Tab
d. Slot
e. Forward
Step 6
Place parts 27 onto the studs of part 26 then insert part 26 into the square hole under the nose section of the body. Slid part 28 into the slot behind part 26. Slide part 29 into the long slot in front of part 26. Insert part 30 into the hole in the nose. Place part 31 into the slots on the wings but do not glue.

a. Taper part 30 using a bit of sandpaper
b. Slot under wing
Slide completed landing gear into the slots under the wings.
Step 7
Completed model ready for paint and decals. Please see the separate sheet for paint and decal instructions.

Place pedestal into base
- Pedestal
- Base
Applying decals
Tools needed to apply decals
Scissors
Utility knife
Make sure your hands are clean before applying decals. Avoid contact with the adhesive as this can cause the decal to loose some of its adhesion. Decals will adhere better to a smooth clean surface so we do recommend painting your model for best results.

Cut out each decals as close to the edge as possible. Only cut out decals as needed.
Note:
Paint entire aircraft white before applying decals.

For the large decals, remove about a 1/4″ of the backing and fold under.

Place the exposed section on the surface making sure that your decal is properly aligned on the part.

Slowly remove the backing making sure the decal is staying aligned on the surface.

For small decals you may use a small utility knife to remove them from the backing and place in position.

Once wing decals are in place, take a utility knife and using the edge of the upper part of the wing as a guide. Make a cut in the decal to allow the two surfaces to sit flush. Replace part 31 into position.
Decals should be placed into position in numerical order.
The wings and part 31 will need to be removed to apply decal.
Take your time.


Colour Scheme of Avro Arrow 203
Suggested colours:
1 White
All surfaces
2 Black
Exhaust
Nose cone
Wheels
Intakes
3 Silver
Landing gear
Centre of wheels

Note:
Model should be painted before adding decals.
All surfaces should be white.

If you would like to paint your model use acrylic paints available from your local craft or hobby shop. Apply peel and stick decals after painting is complete. Use the paint diagram above as a guide.


















