Hunter 13068, 69, 70 Hartland Instruction Manual
INSTALLATION INSTRUCTIONS
WARNING
- To avoid possible electrical shock, before installing your light fixture, disconnect the power by turning off the circuit breakers to the outlet box associated with the wall switch location.
- The lighting fixture must be grounded. If the ground wire for the installation site is not present, immediately STOP installation and consult a qualified electrician.
- All wiring must be in accordance with national and local electrical codes ANSI/NFPA 70. If you are unfamiliar with wiring or in doubt, consult a qualified electrician.
READ AND SAVE THESE INSTRUCTIONS
These instructions are provided for your safety. It is very important that they are read carefully and completely before beginning installation of the lighting fixture.
Tools Needed
- Ladder

- Screwdriver

- Pliers

- Wire Strippers

- Drill

PREPARING FOR INSTALLATION
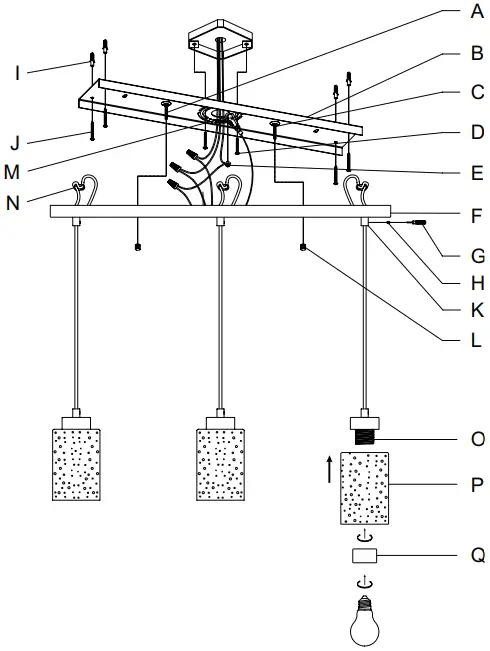
Treat the fixture gently! Regular cleaning will reduce the need for deep cleaning. For regular cleaning, turn off the light and wipe down the fixture with a clean lint-free cotton or microfiber cloth. Never spray cleaner directly onto the fixture. Carefully remove all contents from the carton. Shut off the power at the circuit breaker and completely remove the old fixture from the ceiling, including the old mounting bracket. Remove the new mounting bracket assembly from the bag. Then remove cap nuts (L) from mounting screws (A). Place the mounting plate (B) over the junction box so that mounting screws (A) and nuts (C) extend out away from the ceiling. Pull the house wires through the center of mounting plate (B). Put the drywall anchor (I) inside the hole in the ceiling, then insert the drywall screw (J) through the mounting plate (B) into the drywall anchor (I). Secure mounting plate (B) to the junction box by tightening the screws (D).
CONNECTING THE WIRES
Loosen the screw (H) with included screwdriver (G), slide cord (R) through cord grip (K) to adjust the wire to desirable length, and then tighten the screw (H) with screwdriver (G) to secure the cord tight. Adjust the placement of the strain relief (N) on the cord above the canopy (F). Cut excess cord leaving enough length to reach from each end to center cord to assure that the connections of each of the 3 cords and house wiring can be made. Remove the outer jacket of each cord to expose individual wires (white, black, green). Strip half an inch of jacket away from the ends of each individual wire. Have a helper support the fixture’s weight while completing the wiring. Secure the screw collar loop (M) into mounting plate (B). Hide wirerope inside the canopy (F). Attach the fixture’s wires [from all 3 cords] to the power supply wires from the junction box. Connect black to black (live); white to white (neutral); grounding to grounding (green or copper). Twist the ends of the wire pairs together. Then twist on a wire connector. Make sure all twists are in the same direction. Loop fixture’s ground wire around grounding screw (E) and tighten. If there is no ground wire (green or copper) from the junction box, contact a qualified electrician.
FINISHING THE INSTALLATION
Raise canopy (F) to mounting plate (B) and position mounting screws (A) so that they protrude through the openings of canopy (F). Secure canopy (F) in place with cap nuts (L). Secure glass (P) onto the socket (O) by screwing socket ring (Q) tight. Install light bulbs (not included) in accordance with the fixture’s specifications. Do not exceed the recommended wattage. Turn on the power and test the fixture. Your installation is now complete.
CLEANING TIPS
Treat the fixture gently! Regular cleaning will reduce the need for deep cleaning. For regular cleaning, turn off the light and wipe down the fixture with a clean lint-free cotton or microfiber cloth. Never spray cleaner directly onto the fixture.
NOTICE
Drill 9/64″ pilot holes in support structure to aid in securing light fixture.























