CPI GRYPHON Coin Changer

Thank you for purchasing a Gryphon™ coin changer.
Features
The easy-to-use coin changer:
- Mounts on the standard coin changer channel provided by vending machine manufacturers.
- Includes an easily customizable coin cassette with 6 auto- replenishing coin tubes for maximum flexibility.
- Features an LCD display panel with visual controls for quick diagnostics and simple operation.
Interface
The coin changer operates in machines that support these interfaces: Multi-Drop Bus (MDB), Executive (EXEC), BDV, and JVI (VCCS). The interfaces enable the addition of multiple devices to a single connection on the vending machine control board by linking devices in series.
Operating Voltage
See the label on the side of the unit.
Installation
Before installation, remove the unit from packaging and ensure it arrived safely. If it was damaged during shipping, go to CranePI.com/Support to locate a customer service contact near you.
- Turn off the power to the vending machine.
- Push the yellow button on the top right of the coin changer and tilt the validator assembly forward to access the mounting holes. The cassette does not need to be removed.
- Hang the coin changer on the vending machine’s mounting studs, ensuring the unit is level. See the Alignment section.
- The lower mount (a) can be difficult to see through the device. Hanging the coin changer from the top 2 studs (b and c) first will help to locate the lower mount.

- Tighten screws, if necessary, being careful not to over-tighten. Close the acceptor assembly. The lower mount is difficult to access with a large screwdriver.
- Remove the cassette. Lift it by the handle and pull toward you.
- Fill the cassette with coins, ensuring the coins are inserted into the proper tubes.
- Return the filled cassette to the coin changer and ensure it is correctly seated.
- Connect the interface cable. For note validators, connect the interface cable from the coin changer to the note validator’s Y connector (below).

- Use cable ties to secure any excess cabling inside the vending machine, ensuring that the cables do not interfere with the vending machine or coin changer operation.
- Restore power to the vending machine.
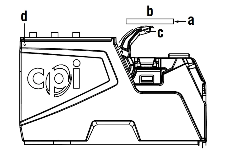
Alignment
After installation, ensure there is a small gap (a) of 2-4mm
(0.08-0.16 inches) between the lever on the vending machine (b) and the return lever on the coin changer (c).
- Press the coin return lever on the machine door. Confirm that it fully opens the validator lid (d) on the coin changer, and then smoothly returns and fully closes.

- Check alignment between the coin input chute and the coin cup, ensuring it does not impede operation of the validator lid.
- Check alignment between the base of the coin changer, payout area, and cashbox entry.
- Align, adjust, and test as necessary to ensure coins are properly routed before continuing.
Main interface
Final setup and configuration is guided with the MMI screen, A – F keys and the center MENU KEY (≡).
The MMI updates its interface as needed in each section. Always use the on-screen guidance, but when in doubt, this chart lists general sub-menu navigation tips.
| Navigation | Key |
| Scroll up | D |
| Scroll down | E |
| Move left | A |
| Move right | B |
| Next page | F |
| Previous page | C |
| Display previous menu level | Press º once |
| Return to the home screen | Hold º for 3 seconds |
Audit
Press ≡ twice quickly (with the cassette in) to display audit information. Each section will display for 3 seconds before showing
the amount of change in each tube.
PAR
- Par to Level. Sets the coin level for each tube. Coins above that level are sent to the cashbox.
- Par to Value. Sets the fill level to a total cassette value. Once the value is achieved, coins are sent to the cashbox. The unit dynamically alters the individual coin levels to minimize the need for manual refills.
- Par to Auto. The unit determines the optimal par level based on actual coin usage.
Initial power up
The coin changer will power up and check how many coins are in each tube. If the tubes are low, the unit indicates which tubes to fill. Fill all tubes with a minimum of 3 coins per tube.
Cassette Configuration
It is easy to customize the cassette. Use one of the many stock configurations or create one with the appropriate coin tubes. There are 2 methods for configuring the cassette. Please note: The cassette must be empty before proceeding.
Cassette Code
If you are changing the full cassette, press ≡, CASSETTE, and then:
- Enter the code located on the front of the cassette (e.g., AAB).
- Press SAVE. If the code is not recognized, follow the Creating Custom Cassette steps below.
- When prompted, press START to calibrate.
Creating Custom Cassette
Follow these steps if the code is not recognized or to change individual tubes. Press ≡, CASSETTE, and then:
- Select CUSTOM.
- Use the MMI to choose the tube (A – F) for editing.
- Scroll through the coin list and select your coin.
- Press SAVE to program the tube.
- When all tubes have been programmed, press ≡.
- When prompted, press START to calibrate.
Status lights
Monitor the 3 lights to the left of the ≡ key to quickly identify status.
| Color | Message |
| Green | Unit is functioning properly |
| Yellow | Unit requires adjustment; see the MMI for instructions |
| Red | Unit requires maintenance and should be returned to a service center |
Press ≡ to view commonly used Service menu options; further options are available in the Setup menu.
Use the MMI to navigate the hierarchal Setup menu and:
- View messages and the error log
- Change par styles, par levels, and par value
- Manage change and update cassettes or tubes
- Token teach and perform Self-Test
- Manage audit setup and MDB options
Compliance
This device complies with part 15 of the FCC rules. Operation is subject to the following 2 conditions: (a) This device may not cause harmful interference, and (b) this device must accept any interference received, including interference that may cause undesired operation.
Except as permitted under the relevant local legislation, no part of this publication may be copied, transmitted, transcribed, or distributed in any form or by any means, or stored in a database or retrieval system, or translated in any language (natural or computer), without the prior written permission of CPI.
CPI reserves the right to change the product or the product specifications at any time. While every effort has been made to ensure that the information in this publication is accurate, CPI disclaims any liability for any direct or indirect losses (howsoever caused) arising out of use or reliance on this information.This document does not necessarily imply product availability. Note: Your product may differ slightly from some of the illustrations in this document.
Go to CranePI.com/Support for customer service and technical support.
© 2021 Crane Payment Innovations. All rights reserved.
CPI Corporate Headquarters
3222 Phoenixville Pike, Suite 200
Malvern, PA 19355
CranePI.com























