cpi ALIO Note Card Reader and Cash Acceptor

INTRODUCTION
ALIO Note is the next generation cashless and telemetry system from CPI that combines a telemeter, antenna, card reader and a full color display into a single device
Specifications
| Input Voltage | 20-42 VDC |
| Input Current | Max – 1 Amp |
| Operating Temperature | (-15°) – +60°C |
| Dimensions (bezel) | 160mm x 80mm x 40mm |
| Weight (bezel & Hub) | 379 Grams (0.83 Lbs.) |
Parts List
| Part Description | Part Number |
| MDB Cable | 250670036C |
| DEX Cable | 215637033C |
| Mounting Plate | 250038091 |
WARNINGS:
When mounting the ALIO Note bezel onto the Talos bill validator ensure that all power is off. Observe ESD precautions when mounting the ALIO Note to the Talos bill validator. Serviceman should be properly grounded.
CLEANING:
If the bezel should need cleaning use only mild soap & warm water. Do not use abrasive or flammable cleaners.
INSTALLATION
| Step | Process | |
| 1 | Turn off power to the vend- ing machine | |
| 2
| Remove the existing bill validator | Unscrew the four hex nuts from the mounting posts with the 11/32 nut driver, and disconnect any cabling. |
| 3 | Remove the existing telemeter | Disconnect all connections to the telemeter and remove the antenna from the top of the vendor.
Because ALIO Note’s antenna is contained within the bezel, there is no need to run an antenna through the top of the machine. When removing an existing antenna, follow your company’s procedure for sealing the antenna hole. |
| 4 | Remove the Bill Validator control board cover. | Unscrew the control board cover, and pull to remove. If the ex- isting bezel is connected to the control board via a ribbon cable, disconnect the ribbon cable before proceeding.
|
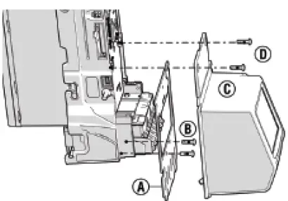
5. Uriscrew the bezel screws and remove the bezel arid the mounting Plate.

6.
- A – Place AUO’s mournting bracket (A) om the validator
- B – Secure the mouriting bracket with mounting bra screws
- C – Place ALIO over the mounling brakoet.
- D – Secure ALI0 with lhe bezel screws

7. Route the Connection Hub cable through the cable mariagement slot in the mounting bracket. Note that the green grounding wire should be secured lo a vending machine irie mounting post when installed.

8.Attach the bezel ·s ribbon cable to the bill validatm’s control board

9. Reattach the control board cover

10. Secure ALIO with the two remaining bezel screws

11. Mount ALIO through the back of the vendor door, and secme using four hex nuts on the vendor’s mounting posts.

12. Mount ALIO Connection Hub. It can be magnetically mounted inside the machine anywhere it will not impede operation. Route all connections to ALIO Hub, using zip ties and snips for cable management i1f necessary. ALIO Hub is the small puck attached to AUO Note. This the hub houses all connections fim other vendor peripherals. Each connection is unique and labeled for easy routing. Note: There is no antenna installation required

13. Note: There is no antenna to install. ALIO’s antenna (A) ~ is pre-installed inside the J. main

14. Restore power to the vending machine and fo llow your company’s procedure for activating a telemeter
OPERATION
ALIO Note is fully configured for operation from the factory and once mechanically installed onto Talos bill validator and powered it will connect to the cellular network ready for use. Detailed information of connection status can be viewed by pressing the red “X” on the ALIO Note display 5 times. The display will reconfigure to indicate the status. Once connected, “Please Tap or Swipe Card” will be displayed and the ALIO Note is ready to accept cards for transactions.
DIAGNOSTICS
Once ALIO is installed, you can perform basic diagnostics on the device by pressing or holding the large button in the center of ALIO Hub:
- Press once Force Fill – checks communication between the telemeter and seNer.
- Hold for three seconds – Access the service tech menu on the display. You can use the capacitive touch buttons on the display to perfonn basic service tasks.
- Hold for ten seconds – Reboots AUO
LEDS STATUS
ALIO Hub has an LED ring around the CPI logo that will change colors, depending on the current state of ALIO.
- Solid White-Boot in progress
- Blinking White-Establishing co1111lection to cellular network
- Solid Greem-Boot ,complete, fully operatoinal and connected to APN
- Blinking Green-DEX Attempt in Progress
- Blinking Red-Failed to DEX
- Solid Red-Fault on unit, error.
TROUBLESHOOTING
Hold ALIO Hub button for three seconds to access the driver menu, then scroll to the alarm section to view recent issues. The steps below will also help to confirm proper installation.
Before Installation
- Confirm the Asset or Equipment Number and make sure you are at the correct machine
After Installation
- Confirm the vending machine firmware is approved by CPI and matches the asset assigned in the vendor system
- Confirm that ALIO powers up properly after restoring power to the vendor
Confirm Connections
- Confirm all connections are routed to ALIO Hub and are firmly secured
- Confirm there is only one DEX jack active in the machine (on VMC or extended)
- Check all connections on the VMC MDB line
Regulatory:
ALIO Note, FCC ID: QP8ALIONOTEVZ (Verizon Network Operation)
ALIO Note uses radio energy to communicate vending transaction activities to a remote host. CPI has not approved any changes or modifications to ALIO Note. Any changes or modifications could void the user’s authority to operate the equipment. See 47 CFR Sec. 15.21
ALIO Note complies with 47 CFR Part 15 of the FCC Rules. Operation is subject to the following two conditions: (1) This device may not cause harmful interference, and (2) this device must accept any interference received, including interference that may cause undesirable operation.
Guidance – Pacemakers, Potential Interference
Radiofrequency energy (RF) from cell phones can interact with some electronic devices. This type of interference is called electromagnetic interference (EMI). For this reason, FDA helped develop a detailed test method to measure EMI of implanted cardiac pacemakers and defibrillators from cell phones. This test method is now part of a standard sponsored by the Association for the Advancement of Medical Instrumentation (AAMI). This standard will allow manufacturers to ensure that cardiac pacemakers and defibrillators are safe from cell phone EMI.
The FDA continues to monitor the use of cell phones for possible interactions with other medical devices. Should harmful interference be found to occur, FDA will conduct testing to assess the interference and work to resolve the problem.
For more information reference sources for pacemakers can be found at U.S. Food and Drug Administration web site: www.fda.gov , see radiation-emitting Products and procedures, Interference with Pacemakers and Other Medical Devices
———————————————————————–
Except as permitted under the relevant local legislation, no part of this publication may be copied, transmitted, transcribed, or distributed in any form or by any means, or stored in a database or retrieval system, or translated in any language (natural or computer), without the prior written permission of CPI. CPI reserves the right to change the product or the product specifications at any time. While every effort has been made to ensure that the information in this publication is accurate, CPI disclaims any liability for any direct or indirect losses (howsoever caused) arising out of use or reliance on this information. This document does not necessarily imply product availability. Note: Your product may differ slightly from some of the illustrations in this document. CPI Corporate Headquarters 3222 Phoenixville Pike Suite 200 Malvern, PA 19355
www.CranePI.com For Technical Support, call: 1-800-628-8363 or visit: www.CranePI.com/Support





















