HAYLOU Solar Ls05 Solar Smart Watch User Manual
Overview


What’s in the Box
- Smart watch,
- charging cable
- user manual
How to Wear
Please put on the watch and move it about one finger distance from your carpus. Please adjust tightness of watch band to fit yourself.
Note: Too loose of the band may impact performance of heart rate sensor.
How to Link
Hold function button to power on the watch and a QR code will be displayed. Use your phone to scan the QR code to install APP. You may also scan the QR code below to install.
Note: The instruction below is for reference only. For actual installation, please follow the instruction in APP.
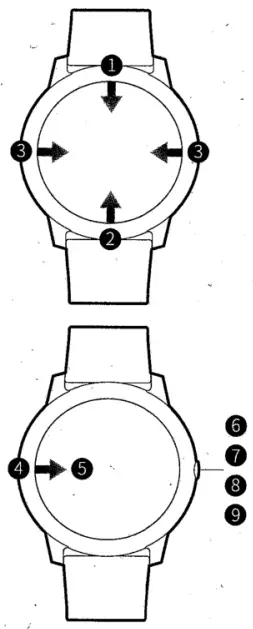
How to Use
- In Home Page, slide down from the top of the watch face to open quick Setting.
- In Home Page,slide uo from the bottom of the watch face to open Control Panel.
- In Home Page, slide right/left to skio to previous/next page.
- When it’s not in Home Page,slide from left edge to right edge to return to previous page.
- Home Page, keep touching screen for 3sto enter Watch FaCe Change.
- Hold function button for 3s to power on/off.
- Press function button to return to Home Page (only open one page).
- Press function button to skip to previous’ page (open two pages).
- Press function button to pause/resume your workout(during workout).

Functions
| 12 sport modes (jogging, hiking, biking, climbing, spinning, indoor running, yoga,gym, free training, basketball, football and boating) |
| A 24-hour heart rate monitoring keeps making records |
| It tracks your sleep time and status |
| You may check the coming three days’ weather and real time temperature |
| Remote music control on phone (the watch cannot olay music independently) |
| Help adjust breath and relax yourself |
| Accuracy is up to two decimal places |
| A full screen timer |
| Open, set, check and close the alarm clock |
| Sit too (ong and it’s time to get on your knees |
How to Charge
- Charge the watch via charging cable and make sure pogo pins are well-contacted.
- Use qualified adapter with output voltage of SV and output current of 0.EA or above.
- If you do not use the watch for a long time, charging icon may notshow up until you charge the watch over 1 minute. ”
- Please always keep pogo pins dry.

Note:
- We hold rights to revise the User Manual without any notice to you. Parts of the functions may be different in certain softwares.
- Please charge the watch more than 2 hours before use.
- This product is within IP68 waterproof, yet do not soak it into hot water or other corrosive liquid, or wear it for a dive to a depth over 3m.
Any defects caused by the above practices will not be covered by warranty. - Please do not get the band too tight. Keep contact parts of the watch dry and clean the band periodically. For any allergy, please take off the watch at once and consult doctor.
- Function button and touch screen are not available for use under water. If the watch gets wet, please dry it before use.
Basic Parameters
Product name: Haylou Solar
Product model: Haylou LS05 -1
Main body size: 45.3 x 11.4mm
Band size: 22mm
Weight (with band ): 54g
Display: 1.28 inch,TFT LCD
Definition: 240*240
Bluetooth version: VS.0
Sensor heart rate sensor, accelerometer sensor
Battery capacity: 340mAh
Battery life: 1ñi days (with 24-hour heart rate monitoring on)
Dust, water proof: lP68
Working temperature: -20°C 45°C
Data sync platform: Haylou Fit
Compatibility: Android 4.4 or IOS 8.0 and later
FCC ID: 2AMQ6-LS05
CMIIT ID: 2020DP3237
Warranty Card
Warranty Period
12 months after you purchase this item. or you may inquire your loca(shopperfor more details,)
Free Service
Supposing any defects caused by quality issues occur within the warranty period, please take this warranty card and pUrChase receipts to your distributor for free exchange service.
| Model Number | / |
| Date of Purchasing | / |
| User’ s Name | / |
| User’ s Phone | / |
| User’ s Address | / |
| Shop’ s Name | / |
| Shop’ s Address | / |
| Comments | / |
Free excnange service will not be accessed under following circumstances:
- Damages caused unauthorized disassembly.
- Defects or ohysical damages caused by leaking or dropping off.
- Damages by act of God.
Supposing your item is within any damages or defects except the above circumstances, please return to us or your distributor for free repairing.
Manufacturer. Dongguan Liesheng Electroni¢ Co., Ltd.
Address: Suite 1303, 1305 and 1306, 13/F,
Project Phrase 2 of Gaosheng Tech
District,Dongguan City, Guangdong,
China.





























